ECHO-CDL-01-US Echo Chandelier
Installation Guide

DAVID WEEKS FOR TALA
Thoughtful lighting, responsibly designed in London.
Thank you for making the switch to Tala.
Discover the full Tala family at us.tala.co.uk
BEFORE STARTING
We advise the fitting of this ceiling rose and pendant to be performed by a qualified electrician. Please read through these instructions before commencing work, and keep them for future reference. Please take extreme care when carrying out these instructions.
IMPORTANT
This light fitting must be connected to the supply earth. If your lighting circuit does not have an earth, ask a qualified electrician to provide an earth facility. This light fitting s suitable for indoor use only. This fitting operates on 120V mains voltage.
WARNING
Always switch off electricity supply at the mains during installation and maintenance. We recommend that the fuse is withdrawn or the circuit breaker is switched off whilst ork is in progress. Do not just turn off at the wall switch. All fittings must be installed in accordance with current NFPA 70, National Electrical Code (NEC).
RECOMMENDED EQUIPMENT
– Small flat head screwdriver
– Wire strippers
– Insulation tape
Further equipment may be required for fixing to your ceiling. Please visit our website to see our recommended dimmers.
Echo Chandelier Provided Components

A x1 Ceiling Bracket
B x1 Ceiling Plate
Cx1 Chandelier
Dx7 Tala Sphere IV bulbs
E x2 Flat head bolts
- Suspension cord
- Power cable
- Cable grip

STEP 1
Adjust the Suspension Cord 1. to your desired height by pulling it through the grip in the centre of the bracket.
Attach A to the ceiling using screws and plug. Always choose screws and plugs that are appropriate for the ceiling.

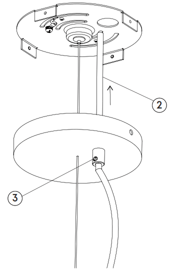
STEP 2
Adjust the Cable 2 to your desired length.
Using a flat head screw driver, tighten ‘grub/set screw’ on the cable grip 3 .
This will secure the cable in place.
Maintain all double insulation.

STEP 3
First identify your household wiring using current Building Regulations and NFPA 70, National Electrical Code (NEC). Attach the pendant wiring to your household supply shown. Use an appropriate junction box.

STEP 4
Fasten part A to part B using the bolts E provided.
At this stage, final adjustments can be made to the suspension cord and electrical cable length.

STEP 5
Carefully insert your bulbs into the chandelier rotating each clockwise until tight. Take care not to tighten too much to avoid breakage.
CARE AND CLEANING
We recommend cleaning with a soft dry cloth. Do not use abrasive materials as these will damage the finish of the product.
WARRANTY AND AFTER-CARE
This product has a two-year warranty. If there appears to be a functional defect with the product during this time, please contact our team at [email protected].
Please note, the flexible cable attached to this luminaire cannot be replaced; if the cable is damaged, recycle the luminaire and seek a replacement.

Join the Community
Instagram: @tala/Facebook: talaHQ/Pinterest: TalaLED/Tag: lighttoliveby
Tala Studios, 25B Vyner Street, London E2 9DG | [email protected]
Tala North America, Inc. 2 Research Place, Suite 300, Rockville, MD 20850![]()

















