SB Fitness Equipment SB-MHIP200S Multi Hip Weight Stack

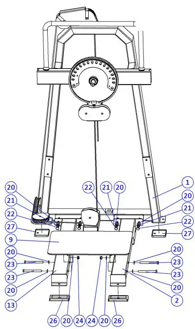
PARTS DIAGRAM EXPLODED VIEW
LIST OF PRODUCT ACCESSORIES
| I SERIAL NUMBER | PART NUMBER | SPAR PART NAME | STANDARD SIZES | AMOUNT ( PIECE) | |
| 1 | 100 | DOOR FRAME COMBINATION | ———- | 1 | |
| 2 | 200 | CONNECTING PIPE COMBINATION | ———- | 1 I | |
| 3 | 300 | SUPPORT ARM COMBINATION | ———- | 1 | |
| 4 | 400 | COMBINATION OF DISK AND FRAME | ———- | 1 I | |
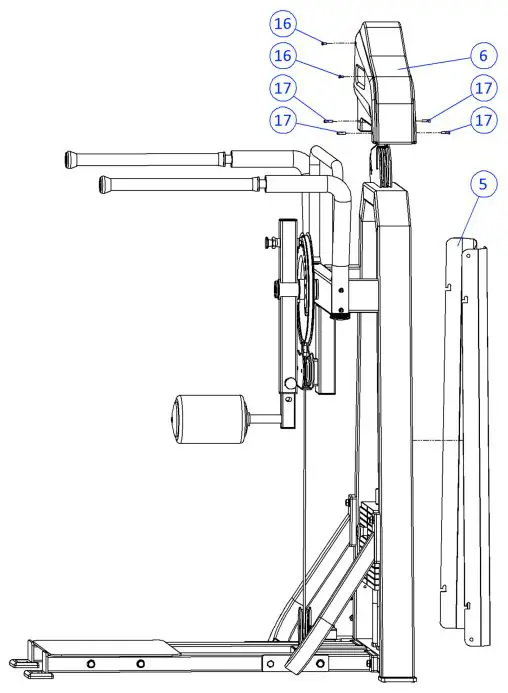
| 5 | B7042 | OUTER CASING | L 1210 | 1 | |
| 6 | W7020 | DOOR TOP CAP SHELL | ———- | 1 I | |
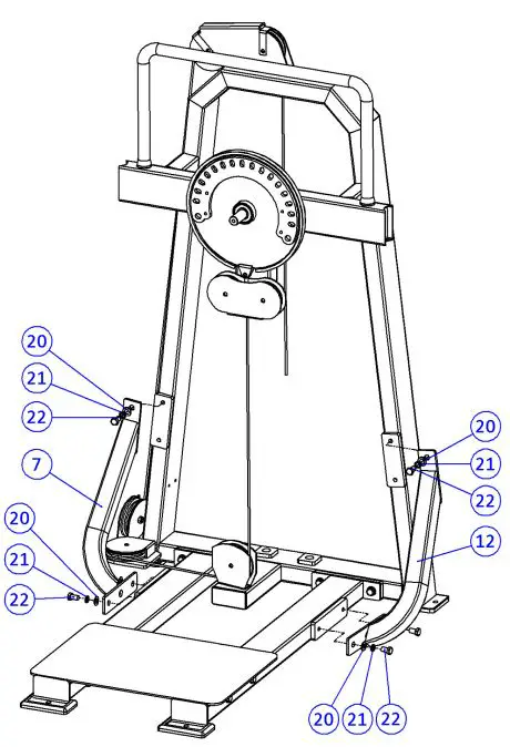
| 7 | 700 | SUPPORT PIPE COMBINATION | ———- | 1 | |
| 8 | W5002 | SHORT FOAM | ———- | 1 I | |
| 9 | 900 | PEDAL COMBINATION | ———- | 1 | |
| 10 | W5050 | ALUMINUM FLAT HEAD COVER | D50 | 1 I | |
| 11 | itfol0300 | SUPPORT ARM COMBINATION | ———- | 1 | |
| 12 | itfol0700 | SUPPORT PIPE COMBINATION | ———- | 1 I | |
| I | 13
14 | itfol0200
S5103-02 | CONNECTING PIPE COMBINATION
HEXAGON SOCKET HEAD SCREW | ———-
M10*30 | 1 2 I |
| 15 | S5106-07 | HEXAGON SOCKET HEAD SCREW | M10*80 | 4 | |
| 16 | S5109-01 | CROSS SEMICIRCULAR HEAD SCREW | M5*10 | 2 I | |
| 17 | S5124-02 | HEXAGON SOCKET HEAD SCREW | M6*20 | 4 | |
| 18 | S5102-03 | HEXAGON SOCKET COUNTERSUNK HEAD SCREW | M8*16 | 1 I | |
| 19 | S5120-02 | TOP SILK MS | M8*10 | 3 | |
| 20 | S5301 | FLAT GASKET | T1.5*D13*D24 | 18 I | |
| 21 | S5702 | SPRING WASHER | “D12.5*D18*T2.5” | 10 | |
| 22 | S5108-03 | OUTER HEXAGON SCREW | M12*20 | 10 I | |
| 23 | S5108-09 | OUTER HEXAGON SCREW | M 12*120 | 4 | |
| 24 | S5203 | LOCKNUT | M12 | 4 I | |
| 25 | S5106 | HEXAGON SOCKET HEAD SCREW | M10 | 1 | |
| 26
27 | W7010
W7009 | FOOT PAD
FOOT PAD | 50*100
3X100X90 | 2 I 2 | |
| 28 | W5045 | WIREROPE | ())6 | 4.1 I | |
| 29 | W7027 | COUNTERWEIGHT SUPPORT TUBE | ——- | 2 | |
| 30 | W7011 | SHORT COUNTERWEIGHT SUPPORT TUBE | 2 I | ||
| 31 | W7023 | COUNTERWEIGHT PIECE | ——- | 14 | |
| 32 | W7026 | ADJUSTING BOLT OF COUNTERWEIGHT PLATE | ——— | 1 I | |
| 33 | W7025 | TOP PIECE ON WEIGHT PIECE | ———- | 1 | |
| 34 | G7008 | GUIDE BAR | L1330 | 2 I | |
| 35 | W7005 | GUIDE ROD FIXING PLATE | ——— | 1 | |
INSTALLATION
STEP 1: INSTALL THE DOOR FRAME ASSEMBLY AND THE LEFT AND RIGHT CONNECTING PIPE ASSEMBLIES ON THE UPPER AND LOWER FOOT PADS TOGETHER, AND INSTALL THE FOOT PEDAL ASSEMBLY ON THE LEFT AND RIGHT CONNECTING PIPE ASSEMBLIES.
STEP 2: INSTALL THE LEFT AND RIGHT SUPPORT PIPE ASSEMBLIES.
STEP 3: INSTALL THE GUIDE ROD, COUNTERWEIGHT, ETC., AND ATTACH THE STEEL WIRE THE ROPE IS STRUNG INTO THE PULLEY AND IN-STALLED ON THE LOCK HEAD OF THE ADJUSTING LEVER OF THE COUNTER-WEIGHT PLATE, AND THE ROPE IS INSERTED INTO
STEP 4: INSTALL THE LEFT AND RIGHT ARM ASSEMBLIES, THE TRAY FRAME ASSEMBLIES AND SHORT FOAM.
STEP 5: INSTALL THE OUTER GUARD PLATE AND THE DOOR TOP CAP SHELL.
APPENDIX 1: ORIENTATION DISTINGUISHING METHOD OF COUNTERWEIGHT SHEET 
APPENDIX 1: INSTALLATION SEQUENCE OF COUNTERWEIGHT
- INSERT THE FIRST COUNTERWEIGHT PIECE FROM TOP TO BOTTOM.

- EACH OF THE NEXT STEPS IS THE SAME AS THE FIRST.

- THE NUMBER OF INSTRUMENTS WITH SINGLE PIECE WEIGHT OF 1 0LB AND COUNTERWEIGHT OF 200LB IS 19 + 1(HEAD PIECE).

- AFTER INSTALLING THE HEAD PIECE, PUT ON THE PLASTIC FIXING PLATE.

- FIRST MOVE THE PLASTIC FIXING PLATE TO THE POSITION SHOWN IN THE FIGURE, AND THEN TIGHTEN IT WITH SCREWS TO COMPLETE THE WHOLE INSTALLATION PROCESS OF COUNTERWEIGHT PIECE.

INSTALL THE STEEL WIRE ROPE 

PRODUCT OVERVIEW PICTURES
- PRODUCT NAME: MULTI-HIP
- MAIN PIPE FRAME: 50*100MM
- PRODUCT CUSHION: PU SURFACE FOAM
- PRODUCT FEATURES: HIP MUSCLES, BIG HIPS.
- PRODUCT DIMENSIONS: 1188*1009*1641MM
- EXERCISE SITE: HIP MUSCLES, BIG HIPS
- COUNTERWEIGHT OF PRODUCTS: 200LB00
- WIRE ROPE: 6MM
FOR YOUR SAFETY
- CONSULT YOUR PHYSICIAN OR HEAL TH CARE PROVIDER BEFORE USING YOUR MACHINE AND/OR EXERCISE EQUIPMENT.
- ONLY ONE (1) PERSON IS PERMITTED ON THE TREAD MILL AT ANY TIME.
- IN ORDER TO AVOID ACCIDENTS, INJURIES, OR DEATH, PLEASE KEEP CHILDREN, DISABLED PEOPLE,AND PETS AWAY FROM THE TREADMILL AT ALL TIMES. ESPECIALLY WHEN IN USE.
- IF YOU HAVE A PHYSICAL DISABILITY OR AN ATHLETIC DISABILITY, IT IS REQUIRED THAT YOU CONSULT YOUR PHYSICIAN OR HEAL TH CARE PROVIDER BEFORE PROCEEDING WITH ANY EXERCISE PROGRAM.
- BEFORE USING THIS PRODUCT, PLEASE READ THIS MANUAL CAREFULLY. SB FITNESS EQUIPMENT IS NOT RESPONSIBLE FOR ANY PERSONAL INJURY OR DAMAGE CAUSED BY USING THIS PRODUCT UNDER ANY CIRCUMSTANCES OR NEGLIGENCE CAUSED BY THE USER.
ASSEMBLY INSTRUCTIONS AND PROCEDURES
- THE PURPOSE OF THIS SECTION OF THE USER MANUAL IS TO ENSURE THAT THE MACHINE CAN BE INSTALLED EASILY AND CORRECTLY. PLEASE FOLLOW INSTRUCTIONS CAREFULLY AND ENTIRELY.
- BECAUSE OF ITS LARGE SIZE AND WEIGHT MACHINE SHOULD BE ASSEMBLED NEAR THE LOCATION WHERE IT WILL BE USED.
- PLACE ALL PARTS OF THE MACHINE IN THE EMPY AREA AND REMOVE ALL PACKING MATERIAL. DO NOT DISCARD THE PACKAGING MATERIAL UNTIL THE ASSEMBLY IS COMPLETE.
- ALL BOLTS MUST BE TIGHTENED DURING ASSEMBLY UNLESS OTHERWISE SPECIFIED,AND ALL BOLTS MUST BE TIGHTENED AFTER ASSEMBLY, IN ORDER FOR ASSEMBLY TO BE COMPLETE.
- WHEN ASSEMBLING THE MACHINE, MAKE SURE THAT ALL PARTS ARE ASSEMBLED ACCORDING TO THE ASSEMBLY DIAGRAM
WARRANTY INFORMATION
- WHAT IS COVERED SB
SB FITNESS WARRANTS TO THE ORIGINAL PURCHASER OF THIS MACHINE THAT THE FRAME OF THE PRODUCT SHALL BE FREE FROM DEFECT IN MATERIALS AND WORK MANSHIP FOR A PERIOD OF ONE YEAR FROM THE DATE OF PURCHASE. ALL OTHER PARTS AND CO MPONENTS OF THE PRODUCT SHALL BE FREE FROM DEFECT IN MATERIAL AND WORKMANSHIP FOR A PERIOD OF ONE YEAR FROM THE DATE OF PURCHASE WHEN THE PRODUCT IS USED UNDER AS RECOMMENDED BY SB FITNESS UNDER NORMAL USES AND CONDITIONS. DURING THE WARRANTY PERIOD SB FITNESS WILL AT NO ADDITIONAL CHARGE TO YOU, REPAIR OR RE-PLACE (AT SB FITNESS’ OPTION) THE FRAME OR ANY PART OF THE PRODUCT IF IT BECOMES DEFECTIVE, MALFUNCTIONS, OR OTHERWISE FAILS TO CONFORM WITH THIS LIMITED WAR-RANTY. ALL LABOR SHALL BE THE RESPONSIBILITY OF THE OWNER. - WHAT IS NOT COVERED
THIS LIMITED WARRANTY APPLIES ONLY FOR PRODUCT SOLD IN THE UNITED STATES UNDER THE SB FITNESS BRAND NAME. THIS WARRANTY DOES NOT COVER NORMAL WEAR AND TEAR ON ITEMS SUCH AS. BUT NOT LIMITED TO, TRANSPORTATION WHEELS, FOOT PEDALS, RUBBER GRIPS. PLASTIC END CAPS. SCRATCHED PARTS, BROKEN
COVERS,COSMETIC DAMAGE,AND EXCLUDES PAINT & FINISH. WEAR ITEMS PERTAIN TO COMPONENTS THAT MIGHT NEED TO BE REPLACED DUE TO WEAR AND TEAR RESULTING FROM NORMAL USAGE.THIS WARRANTY IS VOID IF THE PRODUCT IS IMPROPERLY STORED, ASSEMBLED. ALTERED AND/OR MODI-FIED IN ANY WAY. MISUSED. ABUSED, IS SUBJECT TO ACCIDENT, IS IMPROPERLY MAINTAINED, AND THIS WARRANTY DOES NOT COVER REPAIR FOR ANY NOISES SUCH AS: SQUEAKS. CLUNKS, THU MPS RESULTING FRO M POOR OR LACK OF PREVENTIVE MAINTENANCE. THIS LIMITED WARRANTY DOES EXTENT TO ANY PRODUCT THAT IS DAMAGED OR RENDERED DEFECTIVE;(A) AS A RESULT OF ACCIDENT,MISUSE. OR ABUSE:(B) USE WITH THE PRODUCT OF ANY PART NOT MANUFACTURED OR SOLD BY SB FITNESS;
(C) BY MODIFICATION OF THE PRODUCT; (D) BY NOR MAL WEAR AND TEAR: (E) OPERATION USING INCORRECT POWER SUPPLIES; OR (F) AS A RESULT OF SERVICE BY ANYONE OTHER THAN SB FITNESS. OR AN AUTHORIZED SB FITNESS SERVICE PROVIDER.
ASSUMPTION OF RISK
WARNING
THIS PRODUCT HAS BEEN MANUFACTURED WITH SAFETY IN MIND. WARRANTY APPLIES ONLY WHEN USED AS INSTRUCTED. FAILURE TO COMPLY WITH THE WARNINGS AND PRECAUTIONS DESCRIBED IN THIS DOCUMENT MAY CAUSE PERSONAL INJURY AND RESULT IN WARRANTY BEING VOIDED. PLEASE NOTE THAT SB FITNESS ASSUMES NO RESPONSIBILITY FOR ANY ACCIDENTS RESULTING FROM USE.
CALIFORNIA PROPOSITION 65 WARNING
WARINING: THIS PRODUCT CAN EXPOSE YOU TO CHEMICALS INCLUDING ARSENIC, WHICH IS KNOWN TO THE STATE OF CALIFORNIA TO CAUSE CANCER. FOR MORE INFORMATION, GO TO WWW.P65WARNINGS.CA.GOV.XN-IVG























