BODYCRAFT F660 Liner Bearing Hip Sled Strength Training System

Product Information
The F660 HIP SLED is a strength training system designed for use in a home gym. It features a main frame, front stabilizer, rear upright, linear bearing assembly, solid guide rods, base connector, right and left shoulder assemblies, leg press plate, foot platform, hip pad plate, weight holder, calf block, weight holder support, right and left safety stoppers, foot platform adjuster sleeve, foot platform adjuster inside tube, metal hinges, foot platform axle, foot plate axle, plastic caps, hand grips, locking pins, spring clips, seat pad, back and hip pad, back supporter pad, back pad, right and left shoulder pads, 50 x 75mm end cap (4), 45 x 45mm square cap (1), 75 x 50mm end plug (2), 38mm round plug (4), and 31mm round plug.
Usage Instructions
Before beginning any exercise program with the F660 HIP SLED, consult your physician, especially if you are over the age of 35 or have pre-existing health problems. Recreation Supply, Inc. assumes no responsibility for personal injury or property damage sustained through the use of this product.
- Assemble the F660 HIP SLED on a flat, level surface to ensure proper function.
- Clean the pads and frame regularly with warm, soapy water. Do not use harsh or abrasive chemicals.
- Inspect and tighten all parts before every use. Replace any worn parts immediately to avoid serious injury.
- Keep children away from the F660 HIP SLED at all times.
- Keep your hands away from cables and pulleys during operation. Only handle designated handles.
- When adjusting the seat, ensure the spring pin is fully engaged. A loose seat may slip and cause serious injury.
- Exercise with care to avoid injury.
- If unsure about proper use, contact your local dealer or BodyCraft’s customer service department at 800-990-5556.
QUESTION?
As a quality home gym supplier we are committed to your complete satisfaction. If you have questions, or find missing or damaged parts, we will guarantee your complete satisfaction through our authorized dealer service centers or our home office customer service department. Please call your local dealer for assistance or BodyCraft at 800-990-5556 (9:00 AM – 5:00 PM). Our trained technicians will provide immediate assistance to you, free of charge.
Bodycraft is a division of Recreation Supply Inc. 7699 Green Meadows Drive Lewis Center, OH 43035
BEFORE YOU BEGIN
Congratulations and thank you for selecting the F660 HIP SLED strength training system. The F660 HIP SLED offers an impressive array of strength training exercises to develop every major muscle group of the body. Whether your goal is cardiovascular fitness, a shapely, toned body or dramatic muscle size and strength, the F660 HIP SLED will help you achieve the specific results you want. For your safety and benefit, read this manual and the accompanying literature before using the F660 HIP SLED. Keep this manual for future reference. If you have additional questions, please call your local dealer or our customer service department at 800-990-5556 Monday through Friday, 9 a.m. until 5 p.m. Eastern Time
IMPORTANT SAFETY NOTES
There is a risk assumed by individuals who use this type of equipment. Before beginning this or any other exercise program consult your physician. This is especially important for individuals over the age of 35 or persons with pre-existing health problems. Recreation Supply, Inc. assumes no responsibility for personal injury or property damage sustained by or through use of this product.
- This product must be assembled on a flat, level surface to assure its proper function.
- Clean pads and frame on a regular basis. We recommend warm, soapy water. Do not use harsh or abrasive chemicals.
- Inspect and tighten all parts before every use. Replace any worn parts immediately. Failure to do so may result in serious injury.
- Keep children away from the F660 HIP SLED at all times.
- Keep your hands away from cables and pulleys during operation. Keep your hands away from moving parts other than the designated handles.
- When adjusting the seat, make sure the spring pin is fully engaged. If not, the seat may slip and cause serious injury.
- Exercise with care to avoid injury.
- If unsure about the proper use of the F660 HIP SLED strength training system call your local dealer or our customer service department at 800-990-5556
OVERVIEW

PARTS LIST


ASSEMBLY INSTRUCTIONS
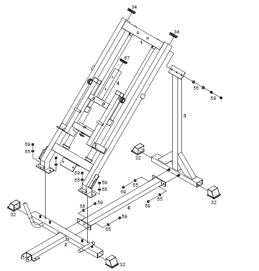
Base Frame Assembly
To ease the assembly process, do NOT tighten bolts until instructed.
Assembly requires two people.

- Attach the Base Connector (6) to the Bolts welded on the Front Stabilizer (2) using two 1/2″ Washers (55) and two 1/2″ Nylon Nuts (59).
- Attach the Base Connector (6) to the Bolts welded on the Rear Upright (3) using two 1/2″ Washers (55) and two 1/2″ Nylon Nuts (59). Slide the two 50 X 75 mm End Caps (32) onto the Front Stabilizer (2) and the Rear Upright (3).
- Attach the pre-assembled Main Frame (1) to the vertical bolts welded on the Front Stabilizer (2) using two 1/2″ Washers (55) and two 1/2″ Nylon Nuts (59). Attach the Rear Upright (3) to the bolts welded to the top of the Main Frame (1) using two 1/2″ Washers (55) and 1/2″ Nylon Nuts (59). Slide the two 75 X 50 mm End Caps (34) onto the Main Frame (1).
- Slide the 50X50 mm Sq Cap (67) onto the Linear Bearing Assembly (4).
Shoulder Pads, Safety Stoppers, and Weight Holder Assembly

- Attach the Weight Holder Support (14) to the Weight Holder (12) using one 1/2″ X 3-1/4″ Hex Bolt ( 46), two 1/2″ Washers (55), and one 1/2″ Nylon Nut (59) on the top hole of the Weight Holder (12) and one 1/2″ X 3″ Hex Bolt (47) at the bottom threaded hole.
- Attach the Weight Holder Assembly (12 & 14) to the bolts welded to the underside of the Linear Bearing Assembly (4) and tighten with four 1/2″ Washers (55) and four 1/2″ Nylon Nuts (59).
- Insert the top end of the Right Safety Stopper (15) into the top bracket on the Main Frame (1) and then slide the bottom end into the low bracket on Main Frame (1). Check to make sure the Safety Stopper rotates and slides freely. Insert an 8mm Locking Pin (24) into the hole on the top of the Right Safety Stopper (15). Tap the Locking Pin with a hammer to makes sure it is permanently attached. Repeat the procedure for the Left Safety Stopper (16).
- Attach two 38mm Round Plugs (35) to the top on both Shoulder Assemblies (7, 8). Attach one 31 mm Round Plug (36) to the handles at the top on both Shoulder Assemblies (7, 8).
- Pull the Spring Knob (43) on the right side of the Linear Bearing Assembly (4) and insert the Right Shoulder Assembly (7). Attach the Right Shoulder Pad (30) to Right Shoulder Assembly (7) using two 5/16″ X 2-1/4″ Hex Bolts (48) and two 5/16″ Spring Washers (61). Repeat the same procedure for the Left Shoulder Assembly (8).
Leg Press Plate and Foot Platform Assembly
- Attach the bottom side of the Foot Platform (10) to the Main Frame (1) by aligning the holes and then inserting the solid Foot Platform Axle (20). Attach a 3/8″ Nut (60) to each side of the Foot Platform Axle (20).
- Find the Foot Platform Adjuster Sleeve (17). Pull the Spring Knob (43) and insert the Foot Platform Adjuster Inside Tube (18). Attach the Foot Platform Adjuster Sleeve (17) to the Front Stabilizer (2), using one 1/2″ X 3-1/2″ Bolt (45), two 1/2″ Washers (55) and one 1/2″ Nylon Nut (59).
- Attach the Foot Platform Adjuster Inside Tube (18) to the Foot Platform (10) using one 1/2″ X 3- 1/2″ Bolt (45), two 1/2″ Washers (55), and one 1/2″ Nylon Nut (59).
- Attach a Back Pad (27) to the Leg Press Plate (9) using two 3/8″ X 1″ Hex Screws (50). Attach the Leg Press Plate (9) to the Linear Bearing Assembly (4) by aligning the holes and then inserting the solid Foot Plate Axle (21). Secure with a 3/8″ Nut (60) on both sides. Pull the Pop Pin (44) on the Linear Bearing Assembly (4) to adjust the Leg Press Plate (9) to your desired angle.

Back Pad Assembly
- Adjust the Leg Press Plate (9) to the flat position and then attach the Back Pad (29) to the Linear Bearing Assembly (4) using two 3/8″ X 2-3/4″ Hex Bolts (49) and two 3/8″ Washers (56).
- Attach two Back Pads (27) to Hip Pad Plate (11) using four 3/8″ X 1″ Hex Screws (50) and two 3/8″ Washers (56).
- Slide the two Metal Hinges (19) onto the small axles welded to the top of the Foot Platform (10) and then attach the Back Pad (28) to the Metal Hinges (19) using two 3/8″ X 1″ Hex Screws (50) and two 3/8″ Washers (56).
- The Spring Clips (25) are used to hold the weight plates on the Weight Holder (12).

Calf Raise Assembly

- Attach two Non Slips (66) to the Calf Block (13A). Attach one 50mm End Plug (33) and two 75mm Round End Caps (69) to the Calf Block (13A). To perform calf raises, insert the Calf Block into the central hole in the Foot Platform (10).
- Attach Back Pad Assembly (27) to the Leg Press Plate (9).
Assembly is complete! Please take the following steps before using the gym:
- Make certain all bolts are tightened securely.
- For better performance, apply a household lubricant (such as silicone) to any adjustable areas and to the Linear Bearing Assembly(4).
- Enjoy many years of a Fit Lifestyle
Thank you for purchasing the F660 HIP SLED. If You have any questions, please call your local BodyCraft dealer or call our customer service department at 800-990-5556


















