somfy Door Keeper Smart Lock Motorization

Product Information
The Door Keeper by Somfy is a motor kit designed for the automation of a garage door. The kit includes a motor, BL7812 battery, and a user manual. Before installation, it is important to check the compatibility of the garage door with the Door Keeper using the configurator provided on the Somfy website. The kit is installed using an application called “Help Me by Somfy”.
Product Usage
Installation:
- Check the compatibility of your garage door with the Door Keeper using the configurator provided on the Somfy website.
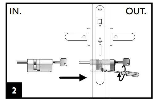
- Extract the original cylinder using a screwdriver and follow the instructions provided with the cylinder for the placement of the new cylinder.
- Use screws no longer than 20mm to avoid damaging the door. Do not use a powered screwdriver as this can damage the product.
Note: Some door locks with more than three turns are not compatible with Door Keeper.
For detailed instructions on installation, refer to the user manual provided with the kit.
TO KNOW
Installation via Help Me by Somfy Security section
Locks that exceed three turns are not compatible with Door Keeper
REQUIRED MATERIALS
- Do not use screws longer than 20mm. That could damage the door.

- Using an electric screwdriver could damage products
Help and installation video available at www.somfy.com
PACK CONTENT
END USER BOX
Give it to the end-user after installation
DOOR RECOVER KIT
To realize an installation on an existing lock with backplate and ensure a clean finsh, Somfy highly recommends to install the Renovation Kit dedicated to Door Keeper.
The kit is composed of a cover plate and a door handle. More d’information in the FAQ on somfy.com.
TECHNICAL ASSISTANCE
French Customer service 0 820 055 055 0.15€ / min + call price
Find your manual on
www.somfy.com
FAQ available on somfy.com :
SETUP
Preparation: cylinder installation
Stand or rosette removal
Installation must be done on a naked door,\ without rosette or crutch
Current cylinder removing
OPTION: Kit installation
Refer to the installation manual to fix the plate and the door handle.
New cylinder installation
Follow instructions given with the cylinder to install it.
The new cylinder can’t overlap the door (from the inside) to allow installation.
Check that the new cylinder turns properly.
The new cylinder should move smoothly before going to the next step.
Product installation
Fixing the plate
- Remove the adhesive protection from the double-sided tape on the back of the plate
- Put on and stick the metal plate to the door.

The plate and the cylinder must be aligned.
Make sure that the plate and the edge of the door are parallel.
- Secure the plate using the 2 positioning screws supplied with the cylinder (Do not force the screws and do not use an electric screwdriver).
RECOMMENDED OPTION: Adding screws
To ensure that the motor is properly fixed for a long time, finalize the plate installation with an additional screw. Use the slot on the plate to screw.
You can also use all the existing holes (rosette/kickstand) to fix the plate on the door.
Motor installation
- Remove the protective film from the side sensors

- Manually lock and unlock the door with the central button to check that the motor is correctly installed

If the movement is not smooth, adjust thetightness before proceeding to the next step.
Battery installation
The battery must ALWAYS be inserted when the door is closed and unlocked to ensure the correct functioning of the sensors.
On first use, the LED slowly flashes green.
The settings mode is accessible for 30 seconds after the battery has been put into the motor.
White LED flashing: indicates that the limit switches have already been set.
Limit switch settings
Remove the key from the lock
Access to settings mode
The LED flashes green quickly during the limit switch setting.
Motor settings in the locked position
Be sure that the door is closed before setting the limit switches
Lock the door, then press the button for three seconds to validate
Motor settings in the unlocked position
differents options depending on the door configuration, choose one:
- A– EXTERIOR HANDLE
The motor unlocks the door, the door is opened with the handle. Press for 3s and release after the first beep. - B-NO OUTSIDE HANDLE
The motor unlocks and opens the door by retracting the latch bolt for 3s. Press for 5s and release after the second beep.
Automatic discovery of the stops
The motor makes several cycles to confirm the settings. White LED means a successful procedure.
In case of failure, check the installation, and start again from chapter 2.1
CHECKING THE SENSORS
Start diagnosis
Sensor diagnostics should ALWAYS be performed with the door closed and unlocked. Cover the door sensors
Cover the door sensors with your fingers. Press the central button for 3 sec and hold the sensorsuntil the LED is red
The diagnosis is started once the LED is red.
Checking the sensors 

- Open the door, the LED flashes green.
- Close the door, the LED flashes red.
If the LED colours are not consistent with the door status, please deactivate the sensors
Deactivation of door sensors 
- Press the central button briefly. The LED flashes. Otherwise repeat the procedure
- Wait 10 seconds after the last press. The diagnosis is finished
CAUTION: If the sensors are not compatible with the customer’s configuration, they MUST be disabled.
The door sensors will be automatically re-activated after a RESET or a recalibration of the end stops.
PAIRING ACCESSORIES
Add the Badge Reader with keypad
Put batteries into the Badge Reader before starting
- Press for 3s on the central button to get access to the pairing mode. The LED slowly flashes white.

Pairing mode is no longer accessible during the 30s after inserting of the battery. - Press the button with the padlock on the Badge Reader for 3s to start pairing. The LED flashes green.
- The correct pairing of the Reader is confirmed by 2 beeps and a green LED.

Add a badge &/or a code
Press for 3s the central button to access the Pairing mode. The LED slowly flashes white
A- Add a badge
Put the badge on the Reader and wait for the pairing confirmation with 2 beep
B- Add a code
Create a 5-digit code. 2 beeps will confirm the pairing.
The first digit MUST NOT be ZERO
To add other badges / codes, repeat this pairing procedure
ADDITIONAL INFORMATION
HOW TO REMOVE THE BATTERY?
Tilt the metal tab underneath the battery to remove the battery from the case
HOW TO RESET?
- Remove the battery.
- Unhook Door Keeper from the mounting plate by pressing the metal lever.
- Reinsert the battery.
- Press the Reset button with the supplied reset key for 3s until you hear two beeps. The reset button is located on the left side of the product.
- The LED flashes green.
- Restart the product by starting from step 2.2





























