
FIND YOUR ![]()
OPERATING MANUALS
www.fronius.com/symo-manuals/10-20
Fronius Symo – Installation
10.0-3-M / 12.5-3-M / 15.0-3-M
17.5-3-M / 20.0-3-M
Installation instruction
Grid connected inverter
42,0410,2024 024-12102021 
Fronius prints on elemental chlorine free paper (ECF) sourced from certified sustainable forests (FSC).
Safety
WARNING! Incorrect operation or poorly executed work can cause serious injury or damage. Only qualified staff are authorised to commission your inverter and only within the scope of the respective technical regulations. Read the safety rules before commissioning the equipment or carrying out maintenance work.
WARNING! An electric shock can be fatal. Danger due to grid voltage and DC voltage from solar modules that are exposed to light.
– Ensure that both the AC side and the DC side of the inverter are de-energised before carrying out any connection work.
– Only an authorised electrical engineer is permitted to connect this equipment to the public grid.
WARNING! An electric shock can be fatal. Danger due to grid voltage and DC voltage from solar modules.
– The DC main switch is only to be used to de-energise the power stage set. The connection area is still live when the DC main switch is switched off.
– Ensure that the power stage set and connection area are disconnected from one another before carrying out any maintenance or service tasks.
– The power stage set, which is enclosed in a separate housing, must only be disconnected from the connection area when in a de-energized state.
– Maintenance and servicing in the power stage set of the inverter must only be carried out by Fronius-trained service technicians.
WARNING! An electric shock can be fatal. Danger due to residual voltage in capacitors. Wait for the capacitors to discharge. The discharge time is five minutes.
WARNING! An inadequate ground conductor connection can cause serious injury or damage. The housing screws provide a suitable ground conductor connection for grounding the housing and must NOT be replaced by any other screws that do not provide a reliable ground conductor connection.
WARNING! Shoddy workmanship can cause serious injury and material damage. A surge protective device must only ever be installed and connected by a qualified electrical engineer. Follow the safety rules. Ensure that both the AC side and the DC side of the inverter are de-energised before carrying out any installation and connection work.
CAUTION! Risk of damage to the inverter from dirt or water on the terminals and contacts of the connection area.
– When drilling, ensure that terminals and contacts in the connection area do not become dirty or wet.
– Without a power stage set, the mounting bracket does not conform to the protection class of the inverter as a whole and so must not be installed without the power stage set. The mounting bracket should be protected from dirt and moisture during installation.
CAUTION! Risk of damage to the inverter as the result of incorrectly tightened terminals. Incorrectly tightened terminals can cause heat damage to the inverter that may result in a fire. When connecting AC and DC cables, ensure that all the terminals are tightened to the specified torque.
CAUTION! Risk of damage to inverter from overload.
– Fronius Symo: The maximum amperage when connecting to a single DC terminal is 33 A.
– Fronius Eco: The maximum amperage when connecting to a single DC terminal is 15 A.
– Connect the DC+ and DC- cables to the DC+ and DC- terminals on the inverter, taking care to ensure that the polarity is correct.
– The maximum DC input voltage must not exceed 1000 V DC.
CAUTION! Risk of damage to inverters and other live photovoltaic system components due to poor or unprofessional installation.
Poor or unprofessional installation can cause overheating of cables and terminal connections and result in arcs. These can cause heat damage, which in turn may lead to fires.
Observe the following when connecting AC and DC cables:
– Tighten all terminals to the torque specified in the Operating Instructions
– Tighten all grounding terminals (PE / GND), including free ones, to the torque specified in the Operating Instructions
– Do not overload cables
– Check cables for damage and verify that they are laid correctly
– Take note of the safety instructions, Operating Instructions and any local connection regulations
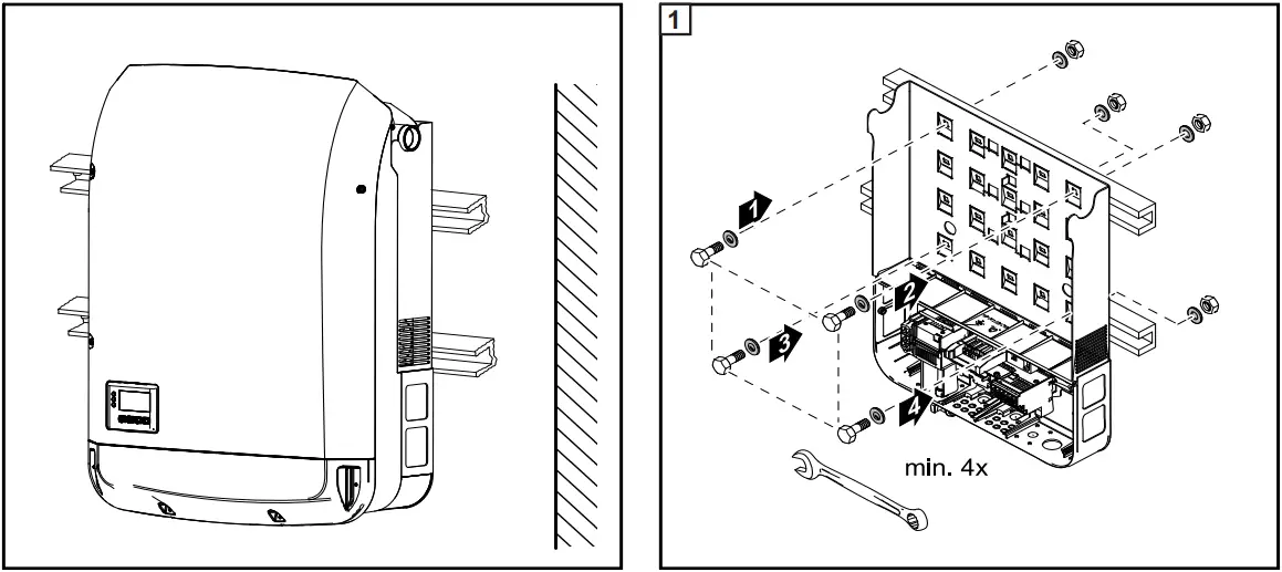
Using fastening screws, always screw the inverter firmly to the mounting bracket to the torque specified in the Operating Instructions.
Ensure that the fastening screws are tight before starting the inverter!
NOTE! Degree of protection IP 66 is only applicable if:
– The inverter is placed in the mounting bracket and permanently attached using screws
– The cover for the data communication area is permanently attached to the inverter with screws
Protection class IP20 applies to the mounting bracket with no inverter and venting duct!
NOTE! The solar modules connected to the inverter must comply with the IEC 61730 Class A standard.
NOTE! When photovoltaic modules are exposed to light they supply current to the inverter.
NOTE!
– Ensure that the grid neutral conductor is grounded. This may not be the case for IT grids (insulated grids with no grounding); it will then not be possible to use the inverter.
– In order to use the inverter, the neutral conductor must be connected.
A neutral conductor that is too small may adversely affect the inverter feeding energy into the grid.
The neutral conductor must therefore be the same size as the other live conductors.
Observe the manufacturer’s connection, Installation and Operating Instructions at all times. To reduce the hazard potential to a minimum, perform all installation and connection work carefully according to the instructions and regulations. Refer to the device Operating Instructions / Installation Instructions for the tightening torques to be used at the relevant terminal connections.
Fronius manufacturer’s warranty Detailed, country-specific warranty terms are available on the internet: www.fronius.com/solar/warranty
To obtain the full warranty period for your newly installed Fronius inverter or storage system, please register at: www.solarweb.com.
Fronius Symo Installation Help
www.fronius.com/QR-link/4204260175EN
Fronius Symo Installation









- Fronius Symo Installation Help


- * min. 2,5 mm² – max. 16 mm²
- 10-12 kW: M32 (Ø 7-15mm) mounted
15-17,5 kW: M32 (Ø 18-25 mm) mounted
M32 (Ø 7-15mm) enclosed
20 kW: M32 (Ø 18-25 mm) mounted

- National Standards

- Torque (Nm / lbf.in.) → see printing near wire terminal

- * min. 2,5 mm² – 16 mm²
- DC Con Kit 25
6 – 25 mm² - DC Con Kit 35
> 16 – 35 mm²

- 2.5 – 10 mm²
- 10 – 25* / 35* mm²
- * DC Con Kit 25 = 25 mm²
DC Con Kit 35 = 35 mm²


- 10.0-3, 12.0-3 max. 43,5A
15.0-3, 17.5-3, 20.0-3 max 51A

- DC Voltage
- 0 – 2000 m: UDCmax 1000 V
2001 – 2500 m: UDCmax 950 V
2501 – 3000 m: UDCmax 900 V
3001 – 3400 m: UDCmax 850 V


- Torque (Nm / lbf.in.) → see printing near wire terminal

- DC Voltage

DATCOM





Operation

- Over torqueing with an electric drill will void the warranty







Example Country Setups
The available country setups may change during a software update. Therefore, the following list may not exactly match the display on the inverter.
50Hz International 50 Hz
60Hz International 60 Hz
AT1E Österreich cosphi = 1
AT2E Österreich cosphi P 0,9
AT3E Österreich: Q(U)
AUS1 Australia AUS1 – AS/NZS4777.2
AUS2 Australia AUS2 – VIC
AUS3 Australia AUS3 – NSW Ausgrid
AUS4 Australia AUS4 – QLD
AUS5 Australia AUS5 – SA
AUS6 Australia AUS6 – WA – WP
AUS7 Australia AUS7 – WA – HP
AUA Australia Region A 2020
AUB Australia Region B 2020
AUC Australia Region C 2020
BE Belgique / België
BR2 Brasil: ≤ 6 kVA
BR3 Brasil: > 6 kVA
CH Schweiz / Suisse / Svizzera / Svizra
CL Chile
CY Κύπρος / Kıbrıs / Cyprus
CZ Česko
DE1F Deutschland (≤ 4,6 kVA) – konst. cosPhi(1)
DE1P Deutschland (≤ 4,6 kVA) – cosPhi(P) 0,95
DE2F Deutschland (> 4,6 kVA) – konst. cosPhi(1)
DE2P Deutschland (> 4,6 kVA) – cosPhi(P) 0,9
DE2U Deutschland (> 4,6 kVA) – Q(U)
DKA1 West Denmark – 125kW
DKA2 East Denmark – 125kW
DU1 Dubai < 10 kW
DU2 Dubai 10 kW – 400 kW
EE Estonia
ES España
ESOS Territorios españoles en el extranjero (Spanish Over-sea Islands)
EULV EU – low voltage
EUMV EU – medium voltage
FI Finland
FR France
FROS Territoire d’Outre-Mer (French Oversea Islands)
G98 Great Britain GB – G98
GB Great Britain
GR Ελλάδα
HR Hrvatska
HU Magyarország
IE Éire / Ireland
IL Israel / ישראל / إسرائيل
IN India
IT6 Italia ≤ 11,08 kVA 2019
IT7 Italia > 11,08 kVA 2019
JO98 Jordan G98
JO99 Jordan G99
LK Sri Lanka
MG50 Microgrid 50 Hz
MG60 Microgrid 60 Hz
NI98 Northern Ireland G98
NI99 Northern Ireland G99
NL Nederland
NO Norge
NZ New Zealand
PF1 Polynésie française (French Polynesia)
PL Poland
PT Portugal
RO România
SA Saudi Arabia
SE Sverige
SI Slovenija
SK Slovensko
TH M Thailand MEA
TH P Thailand PEA
TR Türkiye
UA Україна
ZA South Africa / Suid-Afrika

Firmware Update

Australia – Conduits
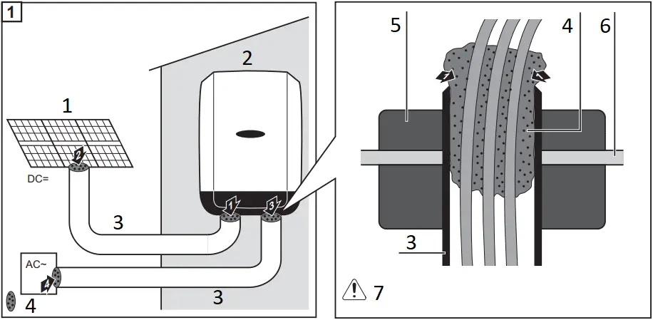
Tightly sealing the conduits Ensure that the conduits are tightly sealed.

- rigid or flexible
Seal conduits

- Outside
- Inside
- Conduit
- Air circulation
- Condensation
HINWEIS!
Condensation within the conduits can damage the inverter or components of the photovoltaic systems.
To avoid undesirable air circulation and condensation in the conduits:
► Seal all conduits being used with a permanently elastic sealant
► Seal every incoming and outgoing conduit
► Seal both conduit ends.

- Outside
- Inside
- Conduit
- Permanently elastic sealant
- Conduit fitting
- Inverter housing
- Seal all used conduits!
Seal every incoming and every outgoing conduit!
Seal both conduit ends!
Option DC SPD – retrofitted


Option SPD (DC1) Option SPD (DC1 + DC2)


- Current Interface
Option DC SPD
Option DC SPD – M Option DC SPD – S

M16 cable gland – enclosed
- The grounding can also be made via the connected AC cable.



Option DC-plug +- pair MC4


Serial Number Sticker for Customer Use
![]()
| Application example
* Serial Number Sticker for Customer Use, 57 x 20 mm
|
![]() |
fronius.com/en/solar-energy/installers-partners/products-solutions/monitoring-digital-tools
MONITORING & DIGITAL TOOLS
FRONIUS INTERNATIONAL GMBH
Froniusstraße 1
A-4643 Pettenbach
AUSTRIA
[email protected]
www.fronius.com
Under www.fronius.com/contact you will find the addresses of all Fronius Sales & Service Partners and locations.
References
Fronius International
Corporate Contact
LOGO_Fronius_CMYK
LOGO_Fronius_CMYK
LOGO_Fronius_CMYK
LOGO_Fronius_CMYK
LOGO_Fronius_CMYK
LOGO_Fronius_CMYK
LOGO_Fronius_CMYK
LOGO_Fronius_CMYK
LOGO_Fronius_CMYK
LOGO_Fronius_CMYK
LOGO_Fronius_CMYK
LOGO_Fronius_CMYK
LOGO_Fronius_CMYK
LOGO_Fronius_CMYK
Fronius International
LOGO_Fronius_CMYK
LOGO_Fronius_CMYK
LOGO_Fronius_CMYK
Unsere Garantiemodelle für Ihre Fronius Produkte
Our warranty models for your Fronius products
Fronius Solar.web





















