FRESH-AIRE UV Germicidal UV Light Tight Fit
Kit Installation Guide

TIGHT FIT KIT is installed inside PTACs, Fan Coils, and air handlers with limited access to reduce biological contamination for reduced system maintenance and improved indoor air quality

IMPORTANT!
- Install so that direct UV light is not visible in occupied space
- Only qualified technicians should install this product*
- Install in accordance with relevant building codes
© Fresh-Aire UV
LIT-FAUV-TFK-MAN 111721
*Installation of this product by anyone other than licensed HVAC or electrical contractors voids warranty.
Installation in PTACs and Fan Coils
- Determine the best position for placement of the UV lamp and power supply. (see examples)
- Position lamp for best UV exposure and to minimize light leakage into room
- Locate lamp so it irradiates wet side of coil and/or blower areas where fouling is present
- Mount lamp with magnet or self-tapping screws
- Turn off power or disconnect HVAC unit before installing power supply
- Connect to 18-32 VAC or 110-277 VAC power depending on model (see wiring diagram)
- Apply warning/replacement sticker to outside of unit
PTAC

Parts Included

A UV Lamp & Shield
B PIG TAIL
C “ER” Power Supply*
D “ST” Power Supply*
E Self-Tapping Screws
F Replacement O-Rings
G Tap-in Connectors (ER model)
H Spade Connectors (ST model)
I Sight Glass
J Slit-Loom protector
K Warning sticker
L Zip-Tie
M Zip-Tie Base
* Kit includes one power supply
“ER” or “ST” depending on model
Fan Coil (horizontal)

Fan Coil (vertical)

2) Power Supply Installation

IMPORTANT! Check which power supply is included with your Tight-Fit Kit before connecting to power. Turn off main power source before installation.
- Find a suitable location for the power supply inside the control panel of the air handler.
Install using the self-tapping screws. - Use the wiring diagrams below to connect to power. The low voltage power supply (18 to 32 VAC) is marked “ER”. The high voltage (120 to 277 VAC) power supply is marked “ST”.

2) Heating Element Caution!
IMPORTANT! The Tight-Fit Kit’s components are designed to withstand the typical ambient temperatures found near fan coil and PTAC heating elements up to a constant 194°F (90°C). If installing the lamp near a heating element, secure the wires as far away from the heating elements’ wires as possible to prevent them from touching the element. In addition, use the included slit loom tubing for additional protection of the power supply wires that may be mounted near the heating elements.
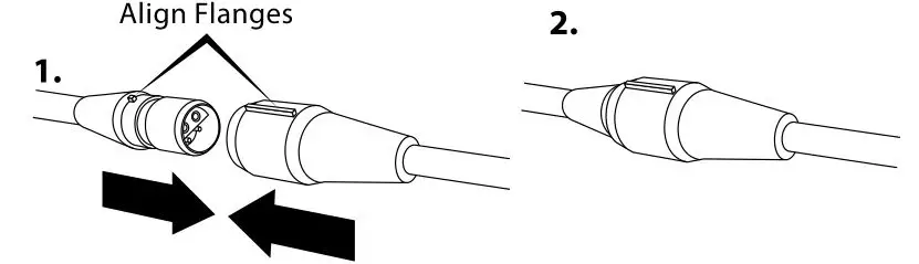
3) UV Lamp Connection
- When all the other components are properly installed connect the UV Lamp cable to the Power supply cable.
- Make sure the flanges are aligned and then push the connectors firmly together. A tight connection ensures a proper water-resistant seal.

7) Sight Glass Installation (Optional)
Sight glass may not be needed if reflected UV light is visible.

- Find a suitable location on the outside of the unit near the UV Lamp installation and apply the FreshAire UV® warning/lamp replacement sticker.
- Drill a ½” hole through the orange circle on the sticker. Press the UV safety viewport into hole.
- Turn on the power and use the sight glass to confirm that the UV Lamp is operating.
Manufacturer’s Warranty:
This warranty supersedes and replaces any warranty statements orally made by the Sales Person, Distributor or Dealer or contained in the written instructions or other Brochures or informational documents in relation to this product. This warranty gives you specific legal rights, and you may also have other rights which vary from State to State.
What Does This Warranty Cover? This lifetime limited manufacturer warranty covers any defects or malfunctions in material and workmanship under the normal use and service when operated and maintained in strict accordance with manufacturer’s instructions for the Lifetime of the equipment.
How Long Does The Coverage Last?
1) Power Supply: For as long as you own the real property where the product is installed.
2) TUVL-1XX Series Ultraviolet Lamp is warranted for germicidal output for one-year from the date of installation.
3) TUVL-2XX Series Ultraviolet Lamp is warranted for germicidal output for two (2) years from the date of installation. This warranty is not transferable.
What Will Triatomic Environmental, Inc. Do? Triatomic Environmental, Inc. will replace any defective or malfunctioning part at no charge. You must pay any labor charges and shipping charges of defective product to our warranty department.
What Does This Warranty Not Cover? THIS PRODUCT IS NOT INTENDED TO BE PURCHASED AND INSTALLED BY UNLICENSED HVAC OR ELECTRICAL CONTRACTORS. This warranty does not cover products or parts purchased from any source other than licensed HVAC or electrical contractors. This warranty does not cover parts installed by unlicensed HVAC or electrical contractors. This warranty does not cover parts damaged as a result of misuse, abuse, or any use other than its intended use, accident,
acts of god, neglect, or from improper operation, maintenance, installation, modification or adjustments. Triatomic Environmental, Inc. shall have no responsibility for charges incurred by the customer for installation or removal of warranted items.
This warranty does not cover parts or equipment used with the Fresh-Aire UV system that are not manufactured by Triatomic Environmental, Inc.
**This warranty shall be void if UV lamps from manufacturer’s other than Triatomic Environmental, Inc. are used with this equipment. Consequential and incidental damages are not recoverable under this warranty. Manufacturer assumes no liability for any harm, which may occur as a result of the use of the equipment herein and shall not be liable for consequential or any other damages whether or not caused by manufacturer’s negligence or resulting from any express or implied warranty or breach thereof. Consequential damages for the purpose of this warranty shall include, but not be limited to, loss of use, income or profit, or loss of or damages to property or injury or death to persons or animals occasioned by or arising out of operation, use, the operation, installation, repair or replacement of the equipment or otherwise. Some states do not allow the exclusion or limitation of incidental or consequential damages, so the above limitation or exclusion may not apply to you.
There are no Warranties which extend beyond the description of the face hereof.
How Do You Get Service? In order to be eligible for service under this warranty you MUST return the warranty registration card or register online at www.freshaireuv.
com. If something is wrong with your product, call your installing contractor to receive a Return Merchandise Authorization (RMA) and instructions for returning the product to a licensed distributor in your area or the manufacturer.
Once the product is returned, we will inspect your product and contact you within 10 business days of our receipt of the product to give the results of our inspection. If we determine that the product is covered under this warranty, we will ship to you at no additional cost a replacement part. Replacement parts may be refurbished. If we determine that the product is not covered under this warranty, or that this warranty is void, the product will be returned to you COD. There is no charge for inspection.
How Does State Law Apply? This warranty gives you specific legal rights, and you may also have other rights which vary from state to state.
















