FRESH-AIRE UV UV 247 24 Volt Germicidal UV Light Instruction Manual
UV247 is installed inside the air handling system to reduce biological contamination for reduced system maintenance and improved indoor air quality.
IMPORTANT!
- Only qualified technicians should install this product
- Install in accordance with relevant building codes
- Read instructions carefully including safety warnings
Parts Included


- A UV Lamp
- B Power Supply
- C UV Warning Sticker
- D Magnetic Bracket
- E Self-Tapping Screws
- F Sight Glass
- G Tap-in Connector
- H Plastic Nuts
Installation Notes
Before installing UV247 it is necessary to determine the optimal mounting location inside the air system. First, look for the area with the heaviest mold growth. Also consider a location that will allow the germicidal UV light to shine on the greatest surface area. For enhanced antimicrobial effect 2 or more lamps can be installed in different parts of the air system.
Some typical mounting locations:
UV247 Mounting Options
- A Supply-side duct
- B At the blower
- C Across top of coils
- D Coil face
- E Coil “A” plate
- F Return-side duct
WARNING
PROTECT EYES FROM UV LIGHT
TURN OFF UNIT OR DISCONNECT BEFORE SERVICING
Important: some materials inside the air system (including filter media, flex duct, wiring etc.) may not be UV light resistant.
Use the optional UV shield (part #TUV-SHIELD-LPC) or cover the materials with reflective tape.
Air Handler Interior Surface Installation
- Determine the optimal position for placement of the UV lamp.
- Use a utility knife to cut a slit in the insulation on the interior surface.

- Place the Magnetic Bracket directly on the metal surface or remove the magnet and hardmount the bracket using the Self-Tapping Screws provided. Use foil tape to close the cut in the insulation.
- Use plastic Quick-Nuts to attach the UV lamp to the Magnetic Bracket as shown.

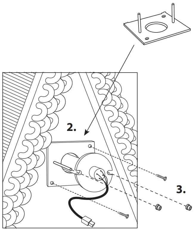
Coil “A” plate Installation
- Snap the Magnetic Bracket apart by bending.

- Drill a 1” hole in the “A”-plate then attach the smaller piece of the bracket using the Self-Tapping Screws.
- Insert the UV lamp into the hole then use the Plastic Nuts to attach the UV lamp to the Magnetic Bracket as shown.

Power Supply Installation
IMPORTANT! Check which power supply is included with your UV247 before connecting to power. Turn off main power source before installation.
- Find a suitable location for the Power Supply inside the control panel of the air handler. Install using the Self Tapping Screws.
- Use the wiring diagrams below to connect to power.

IMPORTANT
Turn off main power source before installation.
IMPORTANT! Must be wired to constant power – do not connect to blower relay.
IMPORTANT!
Systems with high 24 VAC loads may require the installation of a separate 24 VAC transformer to power the UV light.
Always use a separate 24 VAC transformer with “communicating” air systems.
Draws 16 VA, may need to do load calculation: Volts under load X Amps under load.
UV Lamp Connection
- When all the other components are properly installed connect the UV Lamp cable to the Power supply cable.
- Make sure the clips are aligned and then push the connectors firmly together.
A tight connection ensures a proper seal.
Sight Glass Installation
- Find a suitable location on the outside of the duct-work near the UV Lamp installation and apply the warning/lamp replacement sticker.
- Drill a ½” hole through the orange circle on the sticker. Press the UV safety viewport into hole.
- Turn on the power and use the sight glass to confirm that the UV Lamp is operating.

Lamp Replacement
The germicidal UV lamp in UV247 needs to be replaced periodically. Note: UV lamps will continue to emit visible light but lose germicidal effectiveness over time.
UV Lamp
(Part # UV24L, UV24L-OS)
CAUTION!
UV lamps contain small amounts of mercury – dispose of lamps in accordance with local environmental regulations. For more information visit www.lamprecycle.org
Note: Use of replacement UV lamps other than Part # UV24L, UV24L-OS voids warranty.

























