Blue-Tube UV
AHU Series 1
GERMICIDAL UV LIGHT
INSTALLATION INSTRUCTIONS
US patent #7,704,463
The germicidal UV light is installed inside the air handling system to reduce biological contamination for reduced system maintenance and improved indoor air quality.
IMPORTANT!
- Only qualified technicians should install this product*
- Install in accordance with relevant building codes
- Read instructions carefully including safety warnings
WARNING!
PROTECT EYES FROM UV LIGHT TURN OFF THE UNIT OR DISCONNECT IT BEFORE SERVICING
PARTS*
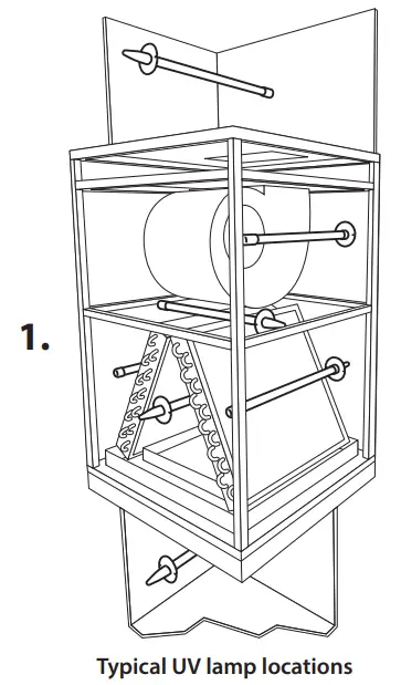
STEP 1: UV Lamp Installation
Surface Mount
- Determine the optimal position for placement of the UV lamp.
- Use a utility knife to cut a slit in the insulation on the interior surface.
- Place the magnetic “Z” bracket directly on the metal surface or remove the magnet and hard-mount the bracket using the self-tapping screws provided. Use foil tape to close the cut in the insulation.
- Use plastic quick-nuts to attach the UV lamp to the “Z” bracket as shown.


Important: some materials inside the air system (including filter media, flex duct, wiring etc.) may not be UV light resistant. Use the optional UV shield (part #TUVSHIELD-LPC) or cover the materials with reflective tape.
Coil A-Plate or Duct Mount
- Snap the “Z” bracket apart by bending.
- Drill a 1” hole in the “A”-plate or duct then attach the smaller piece of the bracket using the self-tapping screws
- Insert the UV lamp into the hole then use the plastic quick-nuts to attach the UV lamp to the “Z” bracket as shown.

STEP 2: Power Supply Installation
IMPORTANT! Check which power supply is included with your germicidal UV light before connecting to power. Turn off main power source before installation.
- Find a suitable location for the power supply inside the control panel of the air handler. Install using the self-tapping screws.
- Use the wiring diagrams to connect to power.
The low-voltage power supply connects to the air system’s 24 VAC transformer (or add a 24 VAC transformer as needed).
Line-voltage power supplies connect directly to 120-277 VAC power.
Some line-voltage power supplies can support more than one UV lamp. They will come with two or more blue cables.

IMPORTANT! Must be wired to constant power – do not connect to blower relay.
IMPORTANT!
Systems with high 24 VAC loads may require the installation of a separate 24 VAC transformer to power the UV light.
Always use a separate 24 VAC transformer with “communicating” air systems.
Draws 16 VA, may need to do load calculation: Volts under load X Amps under load.
STEP 3: Lamp Connection
Connect lamp: make sure the flanges are aligned and then push the connectors firmly together. A tight connection ensures a proper water-resistant seal. 

STEP 4: UV Warning Sticker & Safety Sight Glass
- Find a suitable location on the outside of the ductwork near the UV Lamp installation and apply the Fresh-Aire UV® warning/lamp replacement sticker
- Drill a ½” hole through the orange circle on the sticker. Press the UV safety viewport into the hole.
- Turn on the power and use the sight glass to confirm that the UV Lamp is operating.
Lamp Replacement
Germicidal UV lamps need to be replaced periodically. Systems will include one-year (TUVL-1xx), or two-year (TUVL-2xx) UV-C lamps. 
Note: UV lamps will continue to emit visible light but they lose germicidal effectiveness over time. One-year and two-year lamps are interchangeable, you can upgrade to a two-year lamp with your existing power supply.
Manufacturer’s Warranty:
This warranty supersedes and replaces any warranty statements orally made by the Sales Person, Distributor or Dealer or contained in the written instructions or other Brochures or informational documents in relation to this product. This warranty gives you specific legal rights, and you may also have other rights which vary from State to State.
What Does This Warranty Cover? This lifetime limited manufacturer warranty covers any defects or malfunctions in material and workmanship under normal use and service when operated and maintained in strict accordance with the manufacturer’s instructions for the Lifetime of the equipment.
How Long Does The Coverage Last? 1) Power Supply: For as long as you own the real property where the product is installed. 2) TUVL-1XX Series Ultraviolet Lamp is warranted for germicidal output for one year from the date of installation. 3) TUVL-2XX Series Ultraviolet Lamp is warranted for germicidal output for two (2) years from the date of installation. This warranty is not transferable.
What Will Triatomic Environmental, Inc. Do? Triatomic Environmental, Inc. will replace any defective or malfunctioning part at no charge. You must pay any labor charges and shipping charges for defective products to our warranty department.
What Does This Warranty Not Cover? THIS PRODUCT IS NOT INTENDED TO BE PURCHASED AND INSTALLED BY UNLICENSED HVAC OR ELECTRICAL CONTRACTORS. This warranty does not cover products or parts purchased from any source other than licensed HVAC or electrical contractors. This warranty does not cover parts installed by unlicensed HVAC or electrical contractors. This warranty does not cover parts damaged as a result of misuse, abuse, or any use other than its intended use, accident, acts of god, neglect, or from improper operation, maintenance, installation, modification, or adjustments. Triatomic Environmental, Inc. shall have no responsibility for charges incurred by the customer for the installation or removal of warranted items.
This warranty does not cover parts or equipment used with the Fresh-Aire UV system that are not manufactured by Triatomic Environmental, Inc. **This warranty shall be void if UV lamps from manufacturers other than Triatomic Environmental, Inc. are used with this equipment.
Consequential and incidental damages are not recoverable under this warranty. The manufacturer assumes no liability for any harm, which may occur as a result of the use of the equipment herein and shall not be liable for consequential or any other damages whether or not caused by the manufacturer’s negligence or resulting from any express or implied warranty or breach thereof. Consequential damages for the purpose of this warranty shall include, but not be limited to, loss of use, income or profit, or loss of or damages to property or injury or death to persons or animals occasioned by or arising out of operation, use, the operation, installation, repair or replacement of the equipment or otherwise. Some states do not allow the exclusion or limitation of incidental or consequential damages, so the above limitation or exclusion may not apply to you.
There are no warranties that extend beyond the description of the face hereof.
How Do You Get Service? In order to be eligible for service under this warranty you MUST return the warranty registration card or register online at www.freshaireuv.com. If something is wrong with your product, call your installing contractor to receive a Return Merchandise Authorization (RMA) and instructions for returning the product to a licensed distributor in your area or the manufacturer.
Once the product is returned, we will inspect your product and contact you within 10 business days of our receipt of the product to give the results of our inspection. If we determine that the product is covered under this warranty, we will ship to you at no additional cost a replacement part. Replacement parts may be refurbished. If we determine that the product is not covered under this warranty, or that this warranty is void, the product will be returned to your COD. There is no charge for inspection.
How Does State Law Apply? This warranty gives you specific legal rights, and you may also have other rights which vary from state to state.
CAUTION!
UV lamps contain small amounts of mercury Dispose of lamps in accordance with local environmental regulations.
For more information visit www.lamprecycle.org
Note: Use of replacement UV lamps other than Fresh-Aire UV® voids the warranty.
© Fresh-Aire UV® TUV-RES-MAN-050621
WWW.FRESHAIREUV.COM
[email protected]
800.741.1195



















