ICE-UV
UV LIGHT FOR ICE MACHINES
Installation Guide
Fresh-Aire Ice UV installed in the ice machine
Germicidal UV Light For Ice Machines
INSTALLATION INSTRUCTIONS
Fresh-Aire Ice UV fights mold growth and bacteria in ice-making machines. It extends the life of the ice machine by reducing microbial growth, lowers maintenance costs by extending the time between cleanings, and results in cleaner, healthier ice.
IMPORTANT!
- Only qualified technicians should install this product
- Install in accordance with relevant building codes
- Read instructions carefully including safety warnings
Parts Included

| A. Ice UV Lamp B. Lamp Shield C. Power Supply D. UV Warning Sticker E. Mounting Bracket F. Sight Glass 0.5” G. Zip Tie Base | H. Zip Tie I. Plastic Rivets J. Adhesive Vinyl K. Self-tapping screws L. Bolts M. Locking Nuts N. Connectors O. Optional Safety Interlock |
WARNING
PROTECT EYES FROM UV LIGHT TURN OFF THE UNIT OR DISCONNECT BEFORE SERVICING ![]()
1. Determine UV Lamp Mounting Location
There are many different ice-making machines so there is no single “right” Ice UV mounting location. To determine the best location for your ice maker start by looking for areas of mold growth and choose a position for the UV lamp that will provide maximum exposure to that area. Consider using Ice UV Dual (DT) for 600 lb. or larger ice makers.
![]() | ![]() | ![]() |
| Mount on lid between evaporator and deflector | *Mount over ice collection bin (good second Ice UV lamp location) | Install multiple Ice UV kits (combine single and dual as needed) into larger ice makers for complete coverage |
*Important! use with optional interlock switch to prevent UVC exposure
2. Mount UV Lamp
After the mounting location is determined the UV lamp(s) can be mounted.
First, remove the metal shield then mount the shield using self-tapping screws.
- Remove the UV lamp from the shield

- Use a shield to mark screw holes

- Mount shield with self-tapping screws

- Replace the lamp with the shield

3. Power Supply Installation
Mount the power supply in a suitable location inside the ice machine. Whenever possible avoid drilling holes by passing wires over interior partitions or through refrigerant pass-through areas. Use the wiring diagram below to connect to 120277 VAC power. Use zip-ties to dress cables.
- Power Supply Mounting
IMPORTANT!
Connect to constant power.
Do not cycle UV light on and off.
Cycling will reduce the life of the UV lamp and limit its effectiveness. - Wiring Diagram
IMPORTANT!
Mount power supply & wires away from control board & sensors to prevent interference
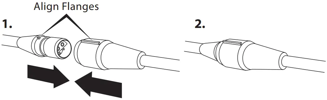
4. UV Lamp Connection
- When all the other components are properly installed connect the UV Lamp cable to the Power supply cable.
- Make sure the flanges are aligned and then push the connectors firmly together. A tight connection ensures a proper water-resistant seal.

5. Lamp Replacement

The germicidal UV lamp in ICE UV® needs to be replaced every 2 years. Note: UV lamps will continue to emit visible light but lose germicidal effectiveness over time.
Note: Use of replacement UV lamps other than Fresh-Aire UV® voids warranty.
Caution: UV lamps contain small amounts of mercury – dispose of lamps in accordance with local environmental regulations. For more information visit www.lamprecycle.org
6. Protective Adhesive Vinyl Film
In most cases, the UVC light from Ice UV is not strong enough to damage the plastics inside the ice machine but some discoloring may occur. This can be prevented by using the protective adhesive vinyl film provided.
- Areas closest to the UV light will be the most prone to discoloration. Cut the vinyl to fit the area of concern.
- Remove the adhesive backing and press it into place.

IMPORTANT!
Optional Safety Interlock Switch
Use the Optional Safety Interlock Switch for installations where UVC light from Ice UV would shine into accessible parts of the ice machine. Direct exposure to UVC light can damage skin or eyes.

Manufacturer’s Warranty:
This warranty supersedes and replaces any warranty statements orally made by the Sales Person, Distributor, or Dealer or contained in the written instructions or other Brochures or informational documents in relation to this product. This warranty gives you specific legal rights, and you may also have other rights which vary from State to State.
What Does This Warranty Cover? This lifetime limited manufacturer warranty covers any defects or malfunctions in material and workmanship under normal use and service when operated and maintained in strict accordance with the manufacturer’s instructions for the Lifetime of the equipment.
How Long Does The Coverage Last? 1) Fresh-Aire APCO Power Supply: For as long as you own the real property where the product is installed. 2) TULL-ICE Series Ultraviolet Lamp is warranted for germicidal output for two (2) years from the date of installation. This warranty is not transferable.
What Will Triatomic Environmental, Inc. Do? Triatomic Environmental, Inc. will replace any defective or malfunctioning part at no charge. You must pay any labor charges and shipping charges of the defective products to our warranty department.
What Does This Warranty Not Cover? THIS PRODUCT IS NOT INTENDED TO BE PURCHASED AND INSTALLED BY UNLICENSED HVAC OR ELECTRICAL CONTRACTORS.
This warranty does not cover products or parts purchased from any source other than licensed HVAC or electrical contractors. This warranty does not cover parts installed by unlicensed HVAC or electrical contractors. This warranty does not cover parts damaged as a result of misuse, abuse, or any use other than its intended use, accident, acts of god, neglect, or from improper operation, maintenance, installation, modification, or adjustments. Triatomic Environmental, Inc. shall have no responsibility for charges incurred by the customer for the installation or removal of warranted items.
This warranty does not cover parts or equipment used with the Fresh-Aire UV system that are not manufactured by Triatomic Environmental, Inc.
**This warranty shall be void if UV lamps from manufacturers other than Triatomic Environmental, Inc. are used with this equipment.
Consequential and incidental damages are not recoverable under this warranty. The manufacturer assumes no liability for any harm, which may occur as a result of the use of the equipment herein and shall not be liable for consequential or any other damages whether or not caused by the manufacturer’s negligence or resulting from any express or implied warranty or breach thereof. Consequential damages for the purpose of this warranty shall include, but not be limited to, loss of use, income or profit, or loss of or damages to property or injury or death to persons or animals occasioned by or arising out of operation, use, the operation, installation, repair or replacement of the equipment or otherwise. Some states do not allow the exclusion or limitation of incidental or consequential damages, so the above limitation or exclusion may not apply to you.
There are no warranties that extend beyond the description of the face hereof.
How Do You Get Service? In order to be eligible for service under this warranty, you MUST return the warranty registration card or register online at www.freshaireuv.com. If something is wrong with your product, call your installing contractor to receive a Return Merchandise Authorization (RMA) and instructions for returning the product to a licensed distributor in your area or the manufacturer.
Once the product is returned, we will inspect your product and contact you within 10 business days of our receipt of the product to give the results of our inspection. If we determine that the product is covered under this warranty, we will ship it to you at no additional cost as a replacement part. Replacement parts may be refurbished. If we determine that the product is not covered under this warranty, or that this warranty is void, the product will be returned to your COD.
There is no charge for inspection.
How Does State Law Apply? This warranty gives you specific legal rights, and you may also have other rights which vary from state to state.
WWW.FRESHAIREUV.COM
[email protected]
800.741.1195
© Fresh-Aire UV®
TUV-ICE-MAN 090921
DESIGNED & ASSEMBLED IN THE U.S.A.







IMPORTANT!
IMPORTANT!


















