
CM-M01 Curtain Driver E1 Rod
User Manual
Product Introduction
Curtain Driver E1 is a motorized device that can control your existing curtains automatically, it is based on the Zigbee 3.0 wireless protocol and can achieve scheduled control of curtains, and work with other smart devices when connected to the Aqara Home app. *An Aqara Zigbee 3.0 hub is required. Some functions require specific models of hubs. Please consult www.aqara.com/support for more details.
Click once: to open, close, or stop the curtain; Click twice in succession:
to release, withdraw or stop the hook; Click three times in succession: to manually set the start or end position of the curtain; Touch & hold for 5 seconds: to turn on the device or reset to factory settings; Touch & hold for 10 seconds: to turn off the device.
Warnings
- WARNING:
Important safety instructions. Follow all instructions since incorrect installation can lead to severe injury. It is important for the safety of persons to follow these instructions. Save these instructions. - WARNING: the driver should be disconnected from its power source during cleaning, maintenance, and when replacing parts.
- Frequently examine the installation for imbalance and signs of wear or damage to cable springs and fixings. Do not use if repair or adjustment is necessary.
- Repairs must be performed by authorized personnel only or you will void your warranty.
- Do not operate when maintenance, such as window cleaning, is being carried out in the vicinity.
- Fixed controls must be clearly visible after installation.
- Before installing the drive, remove any unnecessary cords or components and disable any equipment not needed for powered operation.
- That the characteristics of the driven part must be compatible with the rated load and rated operating time.
- This appliance contains batteries that are non-replaceable.
- This appliance should not be used by children aged 8 years and under and persons with reduced physical, sensory or mental capabilities.
- Children should not play with the appliance.
- Cleaning and user maintenance should not be done by children.
- Do not allow children to play with fixed controls.
What’s in the Box

Tutorial Video
Please scan the QR code below to view the installation and operation guide video. If the video is unable to be reached, you can also install theproduct according to the method described in the manual.
https://cdn.aqara.com/cdn/website/mainland/static/media/curtain-driver-E1-rods-en.mp4
Installation Requirements
Curtain description

Grommet Curtains
Ring Top Curtains
If you are using grommet curtains, the minimum spacing between two grommets should be greater than 95mm.

If you are using ring-top curtains, the thickness of the rings should be greater than 4mm.

Rod diameter requirement: 25-32mm (corresponding to circumferences of 79-100mm)
Note: This product is only applicable to rods with uniform thickness, not to those with dierent thicknesses at the ends, such as telescopic rods. The Rods shall be provided with
close-fitting decorative caps.
Quick Start Guide
Please read the following steps to start using the product.
Preparation before use
- This product needs to be connected with the Aqara Home app before being installed on the curtains.
- Before activating the product, please make sure you have the Aqara
The home app and the Aqara Zigbee 3.0 hub are installed (Please scan the QR code below to download the app).
http://cnbj2.fds.api.xiaomi.com/lumi-app/aiot-h5/aqara-home/developing.html - Please open the app, tap “Home” and then tap “+” in the top right corner to enter the “Add Device (Accessory)” page. Select “Curtain Driver E1” and the hub to be connected to, and add it according to instructions in the Aqara Home app. Press and hold the Setting button for 5 seconds, and wait for the voice prompt from the Hub.
- If you have purchased two or more Curtain Drivers, please connect all of them to the Aqara Home app before further installation.
- If you use double-sided curtains, it is necessary to connect two Curtain Drivers to the app and then put them in one group for simultaneous control. Enter the main page of the Curtain Driver to be grouped, click “… ” in the upper right corner, select ”Create a group for Curtains” and follow the instructions.
- It is recommended to fully charge the product before installation.
- The mass and the dimension of the curtain to be driven shall be compatible with the rated torque and rated operating time.
Installation Methods
Installation Methods for Rods
Single-Sided Curtains (only one Curtain Driver is needed)
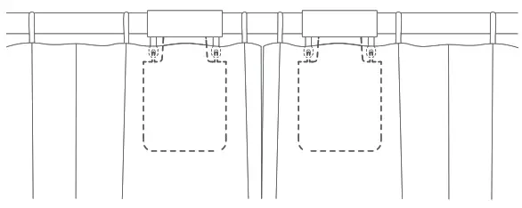
- Force apart from the standard Rod hanger, hang it between the first and second rings (or grommets) on the movable side of the curtain, and tighten the four legs of the hanger;
Hold the sides of the hanger to lightly force it apart;
Pinch the ring hole until a “click” is heard; - Aner startup, quickly double-tap the “Setting button” to release the hook on the curtain driver until it reaches its maximum length, and completely closes the curtain;
- Hang the curtain driver on the hanger as shown in the figure below, and quickly double-tap the “Setting button” to hold the curtain driver onto the rod. Then, the indicator will turn green and blink, and 3 short beeps will sound from the buzzer when the product it is held in place.

This product can be configured on the app to open and close the curtains according to the intensity of ambient light. To use the function, the light sensor should face the side of the window and the Curtain Driver should be installed on the side near the window. If you need to control the opening and closing of curtains according to the light indoor, the light sensor should face the interior and the Curtain Driver should be installed n the side near the interior. To optimize the effect of the light sensor, please ensure that there is no opaque object in front of it.
Install clips and rubber strip (for curtains suitable for Grommets)
- First, measure the number of holes “N” between the outer edges of two adjacent Grommets with the rubber strip as shown in the figure below (measure the shortest straight-line distance between the outer edges of the Grommets);

- Install the first clip onto the third hole from the left of the rubber strip, and install all the other clips according to the following instructions.
Turn the rubber strip up to place it in the groove.
Reserve 5 holes between the second and first clips, and the number of holes between the other adjacent clips is “N×2” (including the hole occupied by the clip)
- Please install the rubber strip together with the clips on the curtain according to your curtain layout as shown below.
Case 1: M-shaped folds on the movable side of the curtain.
Vertical View
Case 2: W-shaped folds on the movable side of the curtain
Double-Sided Curtains (two Smart Curtain Drivers are required)
When the curtains on both sides have completely closed, install the two curtain drivers at the positions shown in the figure below and refer to the installation method for single-sided curtains.

Opening Distance Settings
To ensure proper use of the product, the range should be set for the product aer the product is installed.
Single-Sided Curtains
- Aer the device is connected to the Aqara Home app, the opening distance of the device can be configured on the app. Click the device card on the Home page of the app and set the stroke as instructed on the main page of the device.
- Also, the opening distance of the device can be set by pressing the setting button when the device is not connected to the Aqara Home app. Detailed operations are as follows:
A)Pull the curtain until it is completely closed, and install the Curtain Driver on the rod according to the installation method for the “single-sided curtains”.
B) Then click the setting button 3 times in succession quickly to set the first limit point of the range. The first limit point is set successfully aer the long “beep”.
C)Meanwhile, the Curtain Driver will automatically run to the opening limited point and stop aer being pulled in the fully opening direction for about 10cm. Aer the long “beep”, another limit point is automatically and successfully set, which means the opening range of the device is set up.

Double-Sided Curtains
A) Pull the curtains on the left and right sides until they are completely closed, and install the two Curtain Drivers at the position on the rod where the curtains are completely closed according to the installation method for the “single-sided curtains”.

B) Set the opening distance for Curtain Drivers on left and right sides according to Steps B and C for that of “single-sided curtains”.

| Button Operation | Description |
| Click once | Open, close or stop according to the current state of the Curtain Driver |
| Click twice in succession quickly | Hold, release or stop according to the holding tatus of the current Curtain Driver |
| Click three times in succession quickly | Set the limit point of the range manually |
| Click five times in succession quickly | Delete the current range set for the Curtain Driver |
| Touch & hold for 5 seconds | Restore factory settings or startup (when it is turned off) |
| Touch & hold for 10 seconds | Turn off the device |
Indicator Light Description
| Indicator Light Status | Description |
| Quick blinking of blue light | The Curtain Driver is connecting with the hub (After the device is started for use for the first time or reset). |
| Slow blinking of orange light | Firmware updating is in progress. |
| Quick blinking of green light | Holding to the rail is in progress. |
| Green blinking | Releasing from the rail is in progress. |
| White blinking | The device is being charged. |
| Steady blinking white light | Charging is complete and the adapter is not removed. |
Buzzer Description
| Buzzer Status | Description |
| 1 Long beep | Device opening range deleted. Factory settings restored. Device searching reaction. Opening and closing directions switched. The range limit point was set successfully. |
| 2 Short beeps | When the range of Curtain Driver is not deleted, set the limit point of stroke manually. When the range of the Curtain Driver stroke is deleted, delete the range again. |
| 3 Short beeps | The curtain driver is held in place. The curtain driver is released in place. Warning of low battery. |
Bat ery Charging
When there is a warning of low battery, please charge the Curtain Driver in a timely fashion. Charging steps are as follows:
- Quickly click the setting button twice in succession or use the app to release the Curtain Driver from the rail, and remove it from the rail;
- Use the USB charging cable, and plug the end of the Type-C plug into the charging port on the Curtain Driver and the other end to the adapter for charging.
- It takes about 5 hours to fully charge the battery.
Specifications
Dimensions: 140.5 × 96 × 44 mm
Rated Current: 1.5 A
Rated Torque: 0.2 N·m
Wireless Protocol: Zigbee 3.0 IEEE 802.15.4
Model: CM-M01(CM-Curtain Motor series products, M01-the first Motorized products)
Battery Type: Lithium battery (not replaceable)
Rated Voltage: 5 V
Rated Power Input: 7.5 W
Rated Rotor Speed:100 r/min
Moving Speed: 12 cm/s
IP Rating: IP20
Operating Humidity: 0~95% RH, no condensation
Operating Temperature: 0°C ~ 45°C
Changes or modifications not expressly approved by the party responsible for compliance could void the user’s authority to operate the equipment.
Note: This equipment has been tested and found to comply with the limits for a Class B digital device, pursuant to part 15 of the FCC Rules. These limits are designed to provide reasonable protection against harmful interference in a residential installation. This equipment generates, uses, and can radiate radio frequency energy and, if not installed and used in accordance with the instructions, may cause harmful interference to radio communications. However, there is no guarantee that interference will not occur in a particular installation. If this equipment does cause harmful interference to radio or television reception, which can be determined by turning the equipment off and on, the user is encouraged to try to correct the interference by one or more of the following measures:
—Reorient or relocate the receiving antenna.
—Increase the separation between the equipment and receiver.
—Connect the equipment into an outlet on a circuit different from that to which the receiver is connected.
—Consult the dealer or an experienced radio/TV technician for help.”
This equipment complies with IC radiation exposure limits set forth for an uncontrolled environment. This equipment should be installed and operated with a minimum distance of 20 cm between the radiator and your body. This transmitter must not be co-located or operating in conjunction with any other antenna or transmitter.
Zigbee Warnings
Zigbee Operation Frequency: 2405-2475 MHz
Zigbee Maximum Output Power: 13 dBm
Under normal use conditions, this device should be kept at a separation distance of at least 20cm between the antenna and the body of the user.
EU Declaration of Conformity
Hereby, Lumi United Technology Co., Ltd. declares that the radio equipment type Curtain Driver E1, CM-M01 is in compliance with Directive 2014/53/EU. The full text of the EU declaration of conformity is available at the following internet address: http://www.aqara.com/DoC/
RF Exposure statement
This equipment complies with FCC radiation exposure limits set forth for an uncontrolled environment. This equipment should be installed and operated with minimum istance of 20 cm between the radiator and your body. This transmitter must not be co-located or operating in conjunction with any other antenna or transmitter.
UK Declaration of Conformity
Hereby, Lumi United Technology Co., Ltd. declares that the radio equipment type Curtain Driver E1, CM-M01, is in compliance with Directive 2017 (SI 2017 No. 1206, as amended by SI 2019 No. 696). The full text of the UK declaration of conformity is available at the following internet address: http://www.aqara.com/DoC/.
WEEE Disposal and Recycling Information
All products bearing this symbol are waste electrical and electronic equipment (WEEE as in directive 2012/19/EU) which should not be mixed with unsorted household waste. Instead, you should protect human health and the environment by handing over your waste equipment to a designated collection point for the recycling of waste electrical and electronic equipment, appointed by the government or local authorities. Correct disposal and recycling will help prevent potential negative consequences to the environment and human health. Please contact the installer or local authorities for more information about the location as well as the terms and conditions of such collection points.
IC NOTICE TO CANADIAN USERS
This device contains license-exempt transmitter(s)/receiver(s) that comply with Innovation, Science and Economic Development Canada’s license-exempt RSS(s). Operation is subject to the following two conditions:
(1) This device may not cause interference.
(2) This device must accept any interference, including interference that may cause undesired operation of the device.
This Class B digital apparatus complies with Canadian ICES‐003.
This device complies with RSS‐247 of Industry Canada. Operation is subject to the condition that this device does not cause harmful interference.
Federal Communications Commission (FCC) compliance statement:
This device complies with part 15 of the FCC Rules. Operation is subject to the following two conditions:
(1) This device may not cause harmful interference, and (2) this device must accept any interference received, including interference that may cause undesired operation.
Online Customer Service: www.aqara.com/support
Customer Support Email: [email protected]
Website: www.aqara.com
Manufacturer: Lumi United Technology Co., Ltd.
Address: Room 801-804, Building 1, Chongwen Park, Nanshan iPark, No.
3370, Liuxian Avenue, Fuguang Community, Taoyuan Residential District, Nanshan District, Shenzhen China.

Hold the sides of the hanger to lightly force it apart;
Pinch the ring hole until a “click” is heard;

Turn the rubber strip up to place it in the groove.
Vertical View
B) Then click the setting button 3 times in succession quickly to set the first limit point of the range. The first limit point is set successfully aer the long “beep”.

















