JIECANG JCC50STEW Curtain Motor User Manual

01 Product Info
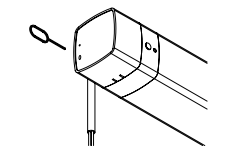
02 Installation
Step 1: lnstert motor shaft in arrow direction into the drive pulley
Step 2: Rotate motor and circlip reset automatically
Removing operation is the same as the installation
03 Caution!
- This product is for indoor use only, do not use outdoor or in humid environments.
- The motor will response in operation, please do not proceed to the next step until it complete.
- During operation, the effective interval of the transmitter button operation is 10 seconds If there is no effective transmitter operation for more than 10 seconds, it will automatically exit
the current mode. 4.The motor can be paired with max 10 controllers. - The open&close limits cannot be set at the same point. Limits saved even power off.
- The motor runs constantly for at 6 min max without any other operation.
- With soft start&stop function,the motor will start and stop slower to make it run elegantly.
- Do not lift the motor by grabbing the wire or antenna.
04 Instructions
Motor head button (H) functions
a.Pairing Motor with Controller
b.Direction Reverse
c.Automatic Open & close Limits Setting
d.Deleting Open & Close Limits
e.Setting and Cancelling Favorite Position
f.Hot key to the Fav. Position
g.Adjusting Motor Speed
h.Removing Controllers
i.Adjusting Open & Close Limits
05 Connecting to Wi-Fi network
*Connection requirement
The smart phone needs to connect to network and turn on the Bluetooth function first
a.Search for “Smart Life” in the app store or scan the QR code
b.Complete account registration and login to the app
Way 1: Poke the reset button in the small hole below for 6 seconds or more until the light flashes, to make the motor is ready for connecting.
Remark: If Way 1 is not convenient, Way 2 can be used
b. Click”+” in the upper right corner of the APP, then click “Auto Scan”, the APP will automatically search for motor
IdAfter adding device successfully, tap “L” after the device name to modify the device name.
e. Now the motor can be controlled by App from anywhere, anytime.
06 Troubleshooting






































