TROTEC TFC 1E Socket Fan Heater

Notes regarding the operating manual
Symbols
![]() | Warning of electrical voltage This symbol indicates dangers to the life and health of persons due to electrical voltage. |
![]() | Warning of hot surface This symbol indicates dangers to the life and health of persons due to hot surface. |
![]() | Warning This signal word indicates a hazard with an average risk level which, if not avoided, can result in serious injury or death. |
![]() | Caution This signal word indicates a hazard with a low risk level which, if not avoided, can result in minor or moderate injury. Note This signal word indicates important information (e.g. material damage), but does not indicate hazards. |
![]() | Info Information marked with this symbol helps you to carry out your tasks quickly and safely. |
![]() | Follow the manual Information marked with this symbol indicates that the operating manual must be observed. |
Safety
Read this manual carefully before starting or using the device. Always store the manual in the immediate vicinity of the device or its site of use.
Warning
Read all safety warnings and all instructions. Failure to follow the warnings and instructions may result in electric shock, fire and/or serious injury.
Save all warnings and instructions for future reference.
This appliance can be used by children aged from 8 years and above and persons with reduced physical, sensory or mental capabilities or lack of experience and knowledge if they have been given supervision or instruction concerning use of the appliance in a safe way and understand the hazards involved.
Children shall not play with the appliance. Cleaning and user maintenance shall not be made by children without supervision.
Warning
Children of less than 3 years should be kept away from the device unless continuously supervised.
Children aged from 3 years and less than 8 years shall only switch on/off the appliance provided that it has been placed or installed in its intended normal operating position and they have been given supervision or instruction concerning use of the appliance in a safe way and understand the hazards involved.
Children aged from 3 years and less than 8 years shall not plug in, regulate and clean the appliance or perform user maintenance.
Warning
Do not use the device in small rooms if persons are present who cannot leave the room independently and who are not under constant supervision.
- Do not use the device in potentially explosive rooms or areas and do not install it there.
- Do not use the device in aggressive atmosphere.
- Let the device dry out after a wet clean. Do not operate it when wet.
- Do not use the device with wet or damp hands.
- Do not expose the device to directly squirting water.
- Never insert any objects or limbs into the device.
- Do not cover the device during operation.
- Do not remove any safety signs, stickers or labels from the device. Keep all safety signs, stickers and labels in legible condition.
- This appliance is not a toy. Keep away from children and animals. Do not leave the device unattended during operation.
- Check accessories and connection parts for possible damage prior to every use of the device. Do not use any defective devices or device parts.
- Ensure that all electric cables outside of the device are protected from damage (e.g. caused by animals). Never use the device if electric cables or the power connection are damaged!
- The mains connection must correspond to the specifications in the Technical annex.
- Insert the mains plug into a properly fused mains socket.
- Switch the device off and disconnect it from the mains socket when the device is not in use.
- Remove the mains plug from the mains socket before carrying out maintenance, care or repair work on the device.
- Check the mains plug for damages. If you notice damages, do not try to take the device back into operation. To avoid safety hazards, do not perform any repairs. Dispose of the device as described in the Disposal chapter. Defective mains plugs pose a serious health risk!
- When positioning the device, observe the minimum distances from walls and other objects as well as the storage and operating conditions specified in the Technical annex.
- Keep a safety distance of at least 1 m between the air inlet and the air outlet of the device and all combustible materials such as textiles, curtains, beds and sofas.
- Make sure that the air inlet and outlet are not obstructed.
- Make sure that the suction side is kept free of dirt and loose objects.
- Only use original spare parts, for otherwise safe and functional operation cannot be ensured.
- Allow the device to cool down before transport and/or maintenance work.
- Do not use the device if it has been dropped or if it shows visible signs of damage.
Intended use
The device is only suitable for well insulated spaces or occasional use.
The fan heater serves the purpose of heating and ventilating closed rooms. The device was designed for private usage and is not suited for commercial use. The device is particularly well suited for additional heating, but not quite appropriate as the sole source of heating in larger rooms.
The device must be connected to a wall socket.
Foreseeable misuse
- Do not place any objects, e.g. clothing, on the device.
- Do not use this device in the vicinity of fuel, solvents, varnishes or other easily inflammable vapours or in rooms where these substances are stored.
- Do not use the device out of doors.
- Do not use the device for heating vehicles.
- The device must not be connected to a multiple socket.
- The device must not be connected to the mains via an extension cable.
- This heating device must not be used in wet rooms.
- Never immerse the device in water.
- Any use other than the intended use is regarded as a reasonably foreseeable misuse.
- Do not make any unauthorised modifications, alterations or structural changes to the device.
Personnel qualifications
People who use this device must:
- be aware of the dangers that occur when working with electric devices in damp areas.
- have read and understood the operating manual, especially the Safety chapter.
Maintenance tasks which require the housing to be opened must only be carried out by specialist electrical companies or by Trotec.
Symbols on the device
| Symbols | Meaning |
| DO NOT COVER | The inscription on the device indicates that it is prohibited to place objects (such as towels, clothes etc.) above or directly in front of the device. In order to avoid overheating and fire hazards, the heater must not be covered. |
Residual risks
![]() | Warning of electrical voltage Work on the electrical components must only be carried out by an authorised specialist company! |
![]() | Warning of electrical voltage Before any work on the device, remove the mains plug from the mains socket! |
![]() | Warning of electrical voltage Risk of electric shock! The device must not come into contact with water, otherwise there is a risk of an electric shock! Do not use this heating device in wet rooms! |
![]() | Warning of hot surface Parts of this appliance can become very hot and cause burns. Particular attention is to be paid when there are children or vulnerable persons present! |
![]() | Warning Improper handling entails a risk of burning and electric shock. Only use the device as intended! |
![]() | Warning Dangers can occur at the device when it is used by untrained people in an unprofessional or improper way! Observe the personnel qualifications! |
![]() | Warning The device is not a toy and does not belong in the hands of children. |
![]() | Warning Risk of suffocation! Do not leave the packaging lying around. Children may use it as a dangerous toy. |
![]() | Warning Improper installation entails a risk of fire. Do not place the device on combustible ground. Do not place the device on high-pile carpets. |
![]() | Warning In order to avoid overheating and fire hazards, the device must not be covered! |
Behaviour in the event of an emergency
- Switch the device off.
- In an emergency, disconnect the device from the mains feed-in: Unplug the device from the mains socket.
- Do not reconnect a defective device to the mains.
Overheating protection
The device is provided with a safety thermostat, which is activated by overheating of the device (when exceeding the operating temperature).
Once the safety thermostat has switched itself on, the heating will be turned off. The fan keeps runnin
When the device has cooled down sufficiently, the heating will be switched back on.
Investigate the cause of overheating.
If the fan heater has been switched off by the overheating protection, you have to set the switch to 0 and pull the plug. Allow the fan heater to cool down, eliminate the cause of overheating, and switch the fan heater back on. If the problem persists or if you cannot find the cause of overheating, switch the fan heater off immediately and pull the plug. Please contact the customer service in this case.
Information about the device
Device description
The socket fan heater serves to generate and distribute warm air, e.g. in interior spaces. The device generates heat by means of a ceramic heating element.
The air surrounding the ceramic heating element is heated. The heated air is blown into the room by a fan. The device is further equipped with an overheating protection.
The device TFC 1 E is available in white and the device TFC 2 E is available in black.
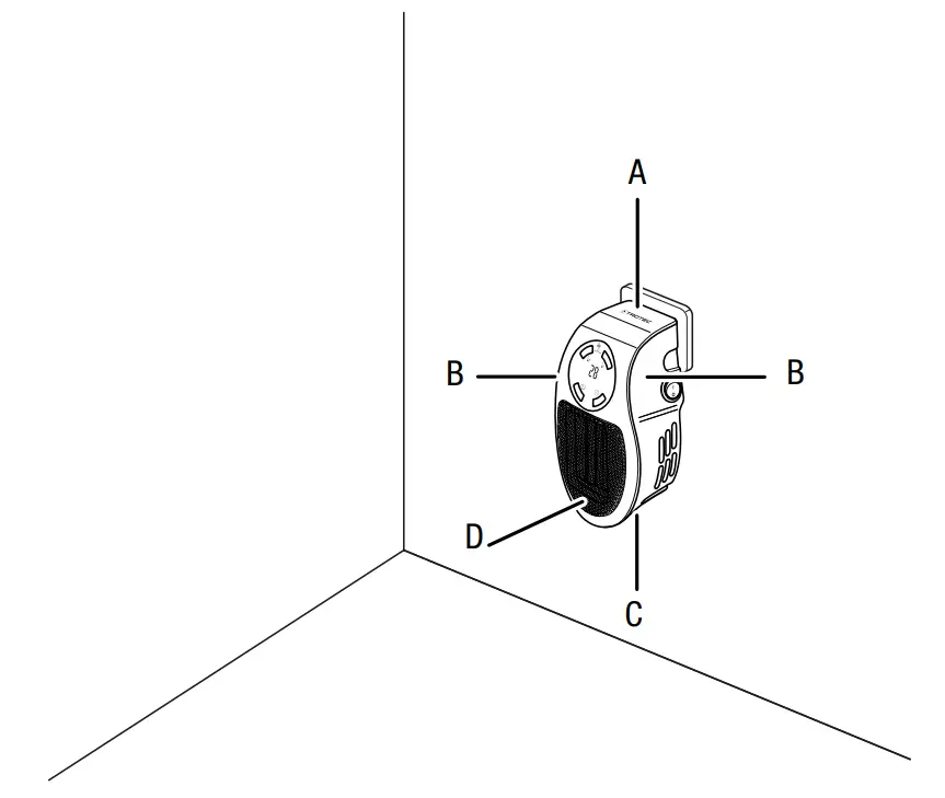
Device depiction


Transport and storage
Note
If you store or transport the device improperly, the device may be damaged. Note the information regarding transport and storage of the device.
Transport
Before transporting the device, observe the following:
- Switch the device off.
- Remove the mains plug from the mains socket.
- Allow the device to cool down sufficiently.
Storage
Before storing the device, proceed as follows:
- Allow the device to cool down sufficiently.
When the device is not being used, observe the following storage conditions:
- dry and protected from frost and heat
- in an upright position where it is protected from dust and direct sunlight
- with a cover to protect it from invasive dust, if necessary
- Place no further devices or objects on top of the device to prevent it from being damaged.
| No. | Designation |
| 1 | Main switch |
| 2 | Air inlet |
| 3 | Air outlet |
| 4 | PTC element |
| 5 | Control panel |
| 6 | Mains plug |
| 7 | Operating control lamp |
Assembly and start-up
Scope of delivery
- 1 x device
- 1 x Manual
Unpacking the device
- Open the cardboard box and take the device out.
- Completely remove the packaging.
- Make sure that the mains plug is not damaged.
Start-up
Info
Odours might arise upon initial start-up or after a longer period of non-use.
When positioning the device, observe the minimum distance from walls or other objects as described in the chapter Technical annex.

- Make sure that no curtains or other objects interfere with the air flow.
- Make sure that the device cannot come into contact with moisture or water.
Connecting the mains plug
- Insert the mains plug into a properly fused mains socket.
Operation
- Avoid open doors and windows.
Caution
Do not leave small children unattended nearby the device during operation. In case of direct contact with the device, there is a risk of injury due to burns or electric shock for small children.
Control panel

| No. | Designation |
| 8 | Reduce temperature button |
| 9 | Timer button |
| 10 | ON / standby button |
| 11 | Segment display |
| 12 | Increase temperature button |
| 8 + 12 | Control fan speed buttons |
Switching the device on
Once you have completely installed the device as described in
the Start-up chapter, you can switch it on.
- The fan heater must be switched off (main switch (1) set to 0) before you plug the mains plug into a 220–240 V / 50 Hz socket.
- Set the main switch (1) to I.
⇨ The fan heater is in standby mode and the operating control lamp (7) is illuminated. - Press the ON / standby button (10) on the control panel (5).
⇨ The fan heater switches on.
Setting the temperature
The device is equipped with an integrated thermostat. The thermostat will activate the fan heater as soon as the measured temperature drops below the desired temperature, and will deactivate the fan heater once the desired temperature has been reached.
Please proceed as follows to manually set the temperature at which the device will be activated/deactivated automatically:
- Switch the device on.
- Press the Reduce temperature button (8) to reduce the temperature set at the device.
- Press the Increase temperature button (12) to increase the temperature set at the device.
⇨ The segment display (11) indicates the set temperature.
Setting the fan speed
- Simultaneously press the Reduce temperature button (8) and the Increase temperature button (12) to increase or slow down the fan speed.
⇨ The segment display (11) indicates the following for a moment:
⇨ LL = low, HH = high
Setting the timer
The timer has two modes of operation:
- automatic switch-on upon expiry of a preset number of hours
- automatic switch-off upon expiry of a preset number of hours
The number of hours can range from 1 to 12 and can be adjusted in increments of 1 h.
Note
Do not leave the operating device unattended in a freely accessible room with an activated timer.
If you set the timer while the fan heater is in operation, you will set the number of hours after which the fan heater will switch off. If you set the timer while the fan heater is in standby mode, you will set the number of hours after which the fan heater will switch on.
Please proceed as follows to set the timer:
- Press the timer button (9).
⇨ The segment display (11) will change over from degrees to hours for a moment. - Now press the timer button (9) again to set the desired number of hours.
Shutdown
Warning of electrical voltage
Do not touch the mains plug with wet or damp hands.
- Switch the device off by setting the main switch to 0.
- Unplug the device from the mains socket.
- Allow the device to cool down completely.
- Clean the device according to the Maintenance chapter.
- Store the device according to the Transport and storage chapter
Errors and faults
Warning of electrical voltage
Tasks which require the device to be opened mustonly be carried out by authorised specialist companies or by Trotec.
The device has been checked for proper functioning several times during production. If malfunctions occur nonetheless, check the device according to the following list.
The device does not start:
- Check the power connection.
- Check the mains plug for damages. If you notice damages, do not try to take the device back into operation. To avoid safety hazards, do not perform any repairs. Dispose of the device as described in the Disposal chapter.
- Defective mains plugs pose a serious health risk!
- Check the on-site fusing.
- The motor might be defective. Have a defective motor replaced by a specialist electrical company.
- Wait for 10 minutes before restarting the device. If the device is not starting, have the electrics checked by aspecialist company or by Trotec.
The device is switched on, the fan is operating, the heating is not:
- Check whether a heating level is selected.
- Check whether the overheating protection has tripped (see chapter Safety).
- The heating resistor might have blown. Have a defective heating resistor replaced by a specialist electrical company
The air current is reduced:
- Check the air inlet and outlet. Make sure that air inlet and outlet are not obstructed. Remove any dirt. Observe the minimum distance from walls or other objects according to the technical data.
Note
Wait for at least 3 minutes after maintenance and repair work. Only then switch the device back on.
The device still does not operate correctly after these checks:
Please contact the customer service. If necessary, bring the device to an authorised specialist electrical company or to Trotec for repair.
Maintenance
Activities required before starting maintenance
Warning of electrical voltage
Do not touch the mains plug with wet or damp hands.
- Switch the device off.
- Remove the mains plug from the mains socket.
- Allow the device to cool down completely.
Warning of electrical voltage
Tasks which require the device to be opened must only be carried out by authorised specialist companies or by Trotec.
Cleaning the housing
Warning of electrical voltage
Never immerse the device in water!
Clean the housing with a soft, damp and lint-free cloth. Make sure that no moisture enters the housing. Protect electrical components from moisture. Do not use any aggressive cleaning agents such as cleaning sprays, solvents, alcohol-based or abrasive cleaners to dampen the cloth.
Wipe the housing dry after cleaning.
Technical annex
Technical data
| Parameter | Value |
| Model | TFC 1 E / TFC 2 E |
| Heating capacity | 500 W |
| Setting range | 15 °C to 30 °C |
| Room size | 10 m2 / 25 m3 |
| Mains connection | 220-240 V, 50/60 Hz |
| Plug type | CEE 7/17 |
| Type of protection | IPX0 |
| Protection class | II / |
| Dimensions (depth x width x height) | 110 x 130 x 202 (mm) |
| Minimum distance to walls or other objects A: top: B: sides: C: bottom: D: front: | 25 cm 25 cm 25 cm 50 cm |
| Weight | 0.4 kg |
Information requirements for electrical local space heaters
| Parameter | Value / item |
| Model | TFC 1 E / TFC 2 E |
| Heat output | |
| Nominal heat output Pnom | 0.5 kW |
| Minimum heat output (indicative) Pmin | 0 kW |
| Maximum continuous heat output Pmax,c | 0.5 kW |
| Auxiliary electricity consumption | |
| At nominal heat output elmax | NA |
| At minimum heat output elmin | NA |
| In standby mode elsb | 0.00038 kW |
| Type of heat input | |
| Manual heat charge control, with integrated thermostat | NO |
| Manual heat charge control with room and/or outdoor temperature feedback | NO |
| Electronic heat charge control with room and/or outdoor temperature feedback | NO |
| Fan assisted heat output | NO |
| Type of heat output/room temperature control | |
| Single stage heat output, no room temperature control | NO |
| Two or more manual stages, no room temperature control | NO |
| With mechanic thermostat room temperature control | NO |
| With electronic room temperature control | YES |
| With electronic room temperature control plus day timer | NO |
| With electronic room temperature control plus week timer | NO |
| Other control options | |
| Room temperature control, with presence detection | NO |
| Room temperature control, with open window detection | NO |
| With distance control option | NO |
| With adaptive start control | NO |
| With working time limitation | YES |
| With black bulb sensor | NO |
| Contact details | Trotec GmbH Grebbener Straße 7 D-52525 Heinsberg |
Disposal
The icon with the crossed-out waste bin on waste electrical or electronic equipment stipulates that this equipment must not be disposed of with the household waste at the end of its life. You will find collection points for free return of waste electrical and electronic equipment in your vicinity. The addresses can be obtained from your municipality or local administration. You can also find out about other return options that apply for many EU countries on the website
https://hub.trotec.com/?id=45090. Otherwise, please contact an official recycling centre for electronic and electrical equipment authorised for your country.
The separate collection of waste electrical and electronic equipment aims to enable the re-use, recycling and other forms of recovery of waste equipment as well as to prevent negative effects for the environment and human health caused by the disposal of hazardous substances potentially contained in the equipment.



















