TFC 220 E Fan Heater
Instruction Manual
Notes regarding the operating manual
Symbols
Warning of electrical voltage
This symbol indicates dangers to the life and health of persons due to electrical voltage.
Warning of hot surface
This symbol indicates dangers to the life and health of persons due to hot surface.
Warning
This signal word indicates a hazard with an average risk level which, if not avoided, can result in serious injury or death.
Caution
This signal word indicates a hazard with a low risk level which, if not avoided, can result in minor or moderate injury.
Note
This signal word indicates important information (e.g. material damage), but does not indicate hazards.
Info
Information marked with this symbol helps you to carry out your tasks quickly and safely.
Follow the manual
Information marked with this symbol indicates that the operating manual must be observed.
You can download the current version of the operating manual and the EU declaration of conformity via the following link:
https://hub.trotec.com/?id=43767
Read this manual carefully before starting or using the device. Always store the manual in the immediate vicinity of the device or its site of use.
Warning
Read all safety warnings and all instructions.
Failure to follow the warnings and instructions may result in electric shock, fire and/or serious injury.
Save all warnings and instructions for future reference.
This appliance can be used by children aged from 8 years and above and persons with reduced physical, sensory or mental capabilities or lack of experience and knowledge if they have been given supervision or instruction concerning use of the appliance in a safe way and understand the hazards involved.
Children shall not play with the appliance. Cleaning and user maintenance shall not be made by children without supervision.
Warning
Children of less than 3 years should be kept away from the device unless continuously supervised.
Children aged from 3 years and less than 8 years shall only switch on/off the appliance provided that it has been placed or installed in its intended normal operating position and they have been given supervision or instruction concerning use of the appliance in a safe way and understand the hazards involved.
Children aged from 3 years and less than 8 years shall not plug in, regulate and clean the appliance or perform user maintenance.
Warning
Do not use the device in small rooms if persons are present who cannot leave the room independently and who are not under constant supervision.
- Do not use the device in potentially explosive rooms or areas and do not install it there.
- Do not use the device in aggressive atmosphere.
- Only put up the device in an upright, stable position on firm ground.
- Let the device dry out after a wet clean. Do not operate it when wet.
- Do not use the device with wet or damp hands.
- Do not expose the device to directly squirting water.
- Never insert any objects or limbs into the device.
- Do not cover the device during operation.
- Do not remove any safety signs, stickers or labels from the device. Keep all safety signs, stickers and labels in legible condition.
- Do not sit on the device.
- This appliance is not a toy. Keep away from children and animals. Do not leave the device unattended during operation.
- Check accessories and connection parts for possible damage prior to every use of the device. Do not use any defective devices or device parts.
- Ensure that all electric cables outside of the device are protected from damage (e.g. caused by animals). Never use the device if electric cables or the power connection are damaged!
- The mains connection must correspond to the specifications in the Technical annex.
- Insert the mains plug into a properly fused mains socket.
- Observe the device’s power input, cable length and intended use when selecting extensions to the power cable. Completely unroll extension cables. Avoid electrical
overload. - Before carrying out maintenance, care or repair work on the device, remove the mains plug from the mains socket. Hold onto the mains plug while doing so.
- Switch the device off and disconnect the power cable from the mains socket when the device is not in use.
- Do not under any circumstances use the device if you detect damages on the mains plug or power cable. If the power cable is damaged, it must be replaced by the manufacturer, its service agent or similarly qualified persons in order to avoid a hazard. Defective power cables pose a serious health risk!
- When positioning the device, observe the minimum distances from walls and other objects as well as the storage and operating conditions specified in the Technical annex.
- Do not use the device in immediate proximity to curtains, beds or sofas.
- Keep a safety distance of at least 1 m between the device’s radiator side and all combustible materials such as textiles, curtains, beds and sofas.
- Make sure that the air outlet is not obstructed.
- Do not place the device on combustible ground.
- Only use original spare parts, for otherwise safe and functional operation cannot be ensured.
- Allow the device to cool down before transport and/or maintenance work.
- The device must not be positioned directly beneath a wall socket.
- Do not use the device if it has been dropped or if it shows visible signs of damage.
- Use the CR 2025 button battery type.
- Never charge batteries that cannot be recharged.
- Different types of batteries and new and used batteries must not be used together.
- Insert the batteries into the battery compartment according to the correct polarity.
- Remove discharged batteries from the device. Batteries contain materials hazardous to the environment. Dispose of the batteries according to the national regulations.
- Remove the batteries from the remote control if you will not be using the device for a longer period of time.
- Remove the batteries from the device if you will not be using the device for a longer period of time.
- Never short-circuit the supply terminal in the battery compartment!
- Do not swallow batteries! If a battery is swallowed, it can cause severe internal burns within 2 hours! These burns can lead to death!
- If you think batteries might have been swallowed or otherwise entered the body, seek medical attention immediately!
- Keep new and used batteries and an open battery compartment away from children.
- If the battery compartment does not close securely, stop using the product via the remote control.
Intended use
The device is only suitable for well insulated spaces or occasional use.
The fan heater serves the purpose of heating and ventilating closed rooms. The device was designed for private usage and is not suited for commercial use. The device is particularly well suited for additional heating. The device is only intended for floor installation.
Foreseeable misuse
- Do not place the device on wet or flooded ground.
- Do not place any objects, e.g. clothing, on the device.
- Do not use this device in the vicinity of fuel, solvents, varnishes or other easily inflammable vapours or in rooms where these substances are stored.
- Do not use the device out of doors.
- Do not use the device for heating vehicles.
- This heating device must not be used in wet rooms.
- Never immerse the device in water.
- Never heat rooms with a cubature of less than 4 m³. Risk of overheating!
- Any use other than the intended use is regarded as a reasonably foreseeable misuse.
- Do not make any unauthorised modifications, alterations or structural changes to the device.
Personnel qualifications
People who use this device must:
- be aware of the dangers that occur when working with electric devices in damp areas.
- have read and understood the operating manual, especially the Safety chapter.
Maintenance tasks which require the housing to be opened must only be carried out by specialist electrical companies or by Trotec.
Symbols on the device
| Symbols | Meaning |
| This symbol located on the device indicates that it is prohibited to place objects (such as towels, clothes etc.) above or directly in front of the device. In order to avoid overheating and fire hazards, the heater must not be covered. |
Residual risks
Warning of electrical voltage
Work on the electrical components must only be carried out by an authorised specialist company!
Warning of electrical voltage
Before any work on the device, remove the mains plug from the mains socket!
Do not touch the mains plug with wet or damp hands.
Hold onto the mains plug while pulling the power cable out of the mains socket.
Warning of electrical voltage
Risk of electric shock!
The device must not come into contact with water, otherwise there is a risk of an electric shock!
Do not use this heating device in wet rooms!
Warning of hot surface
Parts of this appliance can become very hot and cause burns. Particular attention is to be paid when there are children or vulnerable persons present!
Warning
Improper handling entails a risk of burning and electric shock.
Only use the device as intended!
Warning
Dangers can occur at the device when it is used by untrained people in an unprofessional or improper way!
Observe the personnel qualifications!
Warning
The device is not a toy and does not belong in the hands of children.
Warning
Risk of suffocation!
Do not leave the packaging lying around. Children may use it as a dangerous toy.
Warning
Improper installation entails a risk of fire.
Do not place the device on combustible ground.
Do not place the device on high-pile carpets.
Warning
In order to avoid overheating and fire hazards, the device must not be covered!
Behaviour in the event of an emergency
- Switch the device off.
- In an emergency, disconnect the device from the mains feed-in: Hold onto the mains plug while pulling the power cable out of the mains socket.
- Do not reconnect a defective device to the mains.
Overheating protection
The device is provided with a safety thermostat, which is activated by overheating of the device. In such an event the device switches off automatically.
When the safety thermostat is activated, allow the device to cool down. Only then start to look for the cause of overheating.
Should the problem persist, please contact the customer service.
Information about the device
Device description
The electric heater TFC 220 E serves to generate and distribute warm air, e.g. in interior spaces.
The device generates heat by means of a heating element. The air surrounding the heating element is heated. The heated air is blown into the room by a fan.
The device is equipped with an integrated thermostat and so generates a constant flow of warm air. In addition, you can set a desired target temperature (15 °C to 35 °C) at the device.
The device is further equipped with an overheating protection.
In order to dissipate the accumulated heat, the fan keeps running for approx. 15 seconds after the heater’s switch-off and then switches off automatically.
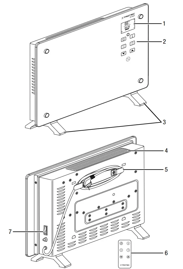
Device depiction

| No. | Designation |
| 1 | Display |
| 2 | Control panel |
| 3 | Feet |
| 4 | Air outlet |
| 5 | Power cable holder |
| 6 | Remote control |
| 7 | On/off switch |
Transport and storage
Note
If you store or transport the device improperly, the device may be damaged.
Note the information regarding transport and storage of the device.
Transport
Before transporting the device, observe the following:
- Switch the device off.
- Hold onto the mains plug while pulling the power cable out of the mains socket.
- Do not use the power cable to drag the device.
- Allow the device to cool down sufficiently.
Storage
Before storing the device, proceed as follows:
- Hold onto the mains plug while pulling the power cable out of the mains socket.
- Allow the device to cool down sufficiently.
When the device is not being used, observe the following storage conditions: - Store the device in a dry location and protected from frost and heat.
- Store the device in an upright position where it is protected from dust and direct sunlight.
- If required, use a cover to protect the device from invasive dust.
- Place no further devices or objects on top of the device to prevent it from being damaged.
- Remove batteries from the remote control.
Assembly and start-up
Scope of delivery
- 1 x Fan heater
- 1 x Remote control
- 1 x Cable holder
- 2 x Foot
- 4 x Fastening screw
- 1 x Manual
Unpacking the device
- Open the cardboard box and take the device out.
- Completely remove the packaging.
- Fully unwind the power cable. Make sure that the power cable is not damaged and that you do not damage it during unwinding.
Assembly
Warning of electrical voltage
Risk of injury due to incorrect assembly!
Local or national regulations may apply for installation..
We recommend to have the installation carried out by a qualified electrician.
Warning
Risk of fire due to improper installation!
There is a risk of fire if the required minimum distances are not observed.
Observe the “Installation” section in the “Assembly and start-up” chapter and the technical data in the “Technical annex” chapter.
Feet assembly
- Place the device on a table or on packaging board with the glass surface pointing down.
- Fasten both feet (3) with two screws each.

- Check the feet (3) for tight fit.
- Set the device up in an upright and stable position.
Start-up
Info
Odours might arise upon initial start-up or after a longer period of non-use.
When positioning the device, observe the minimum distance from walls or other objects as described in the chapter Technical annex.

- Before restarting the device, check the condition of the power cable. If there are doubts as to the sound condition, contact the customer service.
- Set the device up in an upright and stable position.
- Do not create tripping hazards when laying the power cable or other electric cables, especially when positioning the device in the middle of the room. Use cable bridges.
- Make sure that extension cables are completely unrolled.
- Make sure that no curtains or other objects interfere with the air flow.
- Do not position the device directly below a wall socket.
- Make sure that the device cannot come into contact with moisture or water.
Inserting batteries into the remote control
Warning of electrical voltage
Do not touch the battery compartment with wet or damp hands.
Note
Do not use rechargeable batteries!
Observe the Technical data for start-up.
- Press the locking at the side of the battery compartment together and pull the battery compartment out of the remote control.
- Insert a type CR 2025 battery into the battery compartment and slide the battery compartment back into the remote control.
Connecting the power cable
- Insert the mains plug into a properly fused mains socket.
- Make sure that the power cable is guided along the back of the device. Never guide the power cable along the front of the device!
Operation
- Avoid open doors and windows.
Control panel

| No. | Designation | Meaning |
| 8 | Timer indication | Displayed when the timer is activated. |
| 9 | Comfort mode indication | Displayed when comfort mode is activated. |
| 10 | Night mode indication | Displayed when night mode is activated. |
| 11 | Eco mode indication | Displayed when eco mode is activated. |
| 12 | Frost monitor function indication | Displayed when the frost monitor function is activated. |
| 13 | Infrared receiver | For signal reception from the remote control |
| 14 | Temperature button | For setting the desired room temperature |
| 15 | Timer button | For switching the timer function on and off: setting range of 1 min to 24 h in increments of 1 min |
| 16 | Increase value button | For setting the desired room temperature (15 °C to 35 °C) or the number of hours and minutes for the timer (1 min to 24 h) |
| 17 | Decrease value button |
| No. | Designation | Meaning |
| 18 | MODE button | For selecting the operating mode: Comfort mode Night mode Eco mode Frost monitor function |
| 19 | Power button | For switching the device on or activating standby mode |
| 20 | Heating indication | Displayed when the heating is activated. |
| 21 | Fan rundown function indication | Displayed when the fan rundown function is activated. |
| 22 | Hours /minutes indication | Indication of the number of hours and minutes during timer programming Indication of remaining timer run-time |
| 23 | Temperature indication | Indication of the current room temperature during operation Indication of the desired room temperature during temperature adjustment |
Info
The display can be illuminated in two brightness levels.
The background illumination is brighter when one of the control panel buttons is pressed. After approx. 15 s without any input, the brightness level will be reduced.
Switching the device on
Once you have completely installed the device as described in the chapter Assembly and start-up, you can switch it on.
- Set the on/off switch (7) to I.
→ An acoustic signal is emitted.
→ The device is now in standby mode.
→ The room temperature is displayed in the temperature indication (23).
Info
In standby mode, the device memorizes the room temperature setting.
Setting the operating mode
The device comes with the following operating modes:
- Comfort mode
- Night mode
- Eco mode
- Frost monitor function
Please proceed as follows to activate the desired operating mode:
The device is switched on.
- Press the power button (19).
→ The display shines brightly and the control panel is activated. - Repeatedly press the mode button (18) until the icon for the desired operating mode (9, 10, 11 or 12) is displayed.
→ The device starts in the desired operating mode.
Comfort mode
The device automatically operates at the high heating level until the determined room temperature exceeds the desired room temperature by 2 °C. Then the heating switches off.
The heating indication (20) is no longer displayed.
The comfort mode indication (9) continues to be displayed.
If the determined room temperature falls below the desired room temperature by 2 °C, the heating switches back to operation at the high heating level.
Night mode
The device automatically operates at the low heating level until the determined room temperature exceeds the desired room temperature by 2 °C. Then the heating switches off.
The heating indication (20) is no longer displayed.
The night mode indication (10) continues to be displayed.
If the determined room temperature falls below the desired room temperature by 2 °C, the heating switches back to operation at the low heating level.
Eco mode
The device automatically operates at the high heating level when the room temperature is below 16 °C.
The device automatically operates at the low heating level when the room temperature is above 18 °C.
The device switches off automatically when the room temperature is above 21 °C. This temperature cannot be changed.
Frost monitor function
This function is only available in standby mode. The devices heats automatically when the room temperature is below 5 °C and switches off when the temperature exceeds 7 °C. These temperatures cannot be changed.
Setting the desired room temperature
The determined room temperature is displayed in the temperature indication (23). You can adjust the desired room temperature in comfort mode and in night mode.
- Press the temperature button (14).
⇒ The temperature indication (23) flashes.
⇒ The desired room temperature is displayed. - Press the arrow buttons increase value (16) or decrease value (17) to adjust the desired room temperature. Setting is possible in the range between 15 °C and 35 °C in increments of 1 °C.
⇒ The desired room temperature is saved and displayed in the temperature indication (23) for approx. 5 seconds.
Then the current room temperature is displayed again.
Info
The desired room temperature should be higher than the current room temperature.
Setting the timer
The timer has the following modes of operation:
- automatic switch-on upon expiry of a preset number of hours and minutes
- automatic switch-off upon expiry of a preset number of hours and minutes
The setting range for the timer spans from 1 minute to 24 hours and can be adjusted in increments of 1 minute.
Note
The device must not be left unattended in a freely accessible room with an activated timer.
Remote control
All settings of the device can also be made using the remote control included in the scope of delivery.

| No. | Designation | Meaning |
| 14 | Temperature button | For setting the desired room temperature |
| 15 | Timer button | Switching the timer function on and off: setting range of 1 min to 24 h in increments of 1 min |
| 16 | increase value button | For setting the desired room temperature (15 °C to 35 °C) or the number of hours and minutes for the timer (1 min to 24 h) |
| 17 | Decrease value button | |
| 18 | MODE button | For selecting the operating mode: Comfort mode Night mode Eco mode Frost monitor function |
| 19 | Power button | For switching the device on or activating standby mode |
Shutdown
Warning of electrical voltage
Do not touch the mains plug with wet or damp hands.
- Switch the device off.
- Hold onto the mains plug while pulling the power cable out of the mains socket.
- Allow the device to cool down sufficiently.
- Clean the device according to the Maintenance chapter.
- Store the device according to the Storage chapter.
Errors and faults
Warning of electrical voltage
Tasks which require the device to be opened must only be carried out by authorised specialist companies or by Trotec.
The device has been checked for proper functioning several times during production. If malfunctions occur nonetheless, check the device according to the following list.
The device does not start:
- Check the power connection.
- Check the power cable and mains plug for damage. If you notice damages, do not try to take the device back into operation.
If the supply cord is damaged, it must be replaced by the manufacturer, its service agent or similarly qualified persons in order to avoid a hazard. - Check the on-site fusing.
- Check the room temperature. The room thermostat may have switched off, because the desired room temperature has been reached.
- The motor might be defective. Have a defective motor replaced by a specialist electrical company.
- The room thermostat might be defective. Have a defective room thermostat replaced by a specialist electrical company.
- Check whether the overheating protection has tripped (see chapter Safety).
- Wait for 10 minutes before restarting the device. If the device is not starting, have the electrics checked by a specialist company or by Trotec.
The device is switched on, but the heating is not operating:
- Check the room temperature. The room thermostat may have switched off, because the desired room temperature has been reached.
- Check whether the overheating protection has tripped (see chapter Safety).
- The heating resistor might have blown. Have a defective heating resistor replaced by a specialist electrical company.
- The room thermostat might be defective. Have a defective room thermostat replaced by a specialist electrical company.
The air current is reduced:
- Check the air outlet. The air outlet must be clear. Remove any dirt. Observe the minimum distance from walls or other objects according to the technical data.
The device is loud or vibrates: - Check whether the device is set up in a stable and upright position.
The device does not respond to the infrared remote control: - Check whether the distance between remote control and device is too large and reduce it if necessary.
- Make sure there are no obstacles, such as furniture or walls, between the device and the remote control. Ensure visual contact between device and remote control.
- Check the charging status of the batteries and change them if required.
- If the batteries have just been changed, check them for correct polarity.
Note
Wait for at least 3 minutes after maintenance and repair work. Only then switch the device back on.
The device still does not operate correctly after these checks:
Please contact the customer service. If necessary, bring the device to an authorised specialist electrical company or to Trotec for repair.
Maintenance
Activities required before starting maintenance
Warning of electrical voltage
Do not touch the mains plug with wet or damp hands.
- Switch the device off.
- Hold onto the mains plug while pulling the power cable out of the mains socket.
- Allow the device to cool down completely. Warning of electrical voltage Tasks which require the device to be opened must only be carried out by authorised specialist
companies or by Trotec.
Cleaning the housing
Warning of electrical voltage
Never immerse the device in water!
Clean the housing with a soft, damp and lint-free cloth. Make sure that no moisture enters the housing. Protect electrical components from moisture. Do not use any aggressive cleaning agents such as cleaning sprays, solvents, alcohol-based or abrasive cleaners to dampen the cloth.
Wipe the housing dry after cleaning.
| No. | Designation | Meaning |
| 14 | Temperature button | For setting the desired room temperature |
| 15 | Timer button | Switching the timer function on and off: setting range of 1 min to 24 h in increments of 1 min |
| 16 | increase value button | For setting the desired room temperature (15 °C to 35 °C) or the number of hours and minutes for the timer (1 min to 24 h) |
| 17 | Decrease value button | |
| 18 | MODE button | For selecting the operating mode: Comfort mode Night mode Eco mode Frost monitor function |
| 19 | Power button | For switching the device on or activating standby mode |
Errors and faults
Warning of electrical voltage
Tasks which require the device to be opened must only be carried out by authorised specialist companies or by Trotec.
The device has been checked for proper functioning several times during production. If malfunctions occur nonetheless, check the device according to the following list.
The device does not start:
- Check the power connection.
- Check the power cable and mains plug for damage. If you notice damages, do not try to take the device back into operation.
If the supply cord is damaged, it must be replaced by the manufacturer, its service agent or similarly qualified persons in order to avoid a hazard. - Check the on-site fusing.
- Check the room temperature. The room thermostat may have switched off, because the desired room temperature has been reached.
- The motor might be defective. Have a defective motor replaced by a specialist electrical company.
- The room thermostat might be defective. Have a defective room thermostat replaced by a specialist electrical company.
- Check whether the overheating protection has tripped (see chapter Safety).
- Wait for 10 minutes before restarting the device. If the device is not starting, have the electrics checked by a specialist company or by Trotec.
The device is switched on, but the heating is not operating:
- Check the room temperature. The room thermostat may have switched off, because the desired room temperature has been reached.
- Check whether the overheating protection has tripped (see chapter Safety).
- The heating resistor might have blown. Have a defective heating resistor replaced by a specialist electrical company.
- The room thermostat might be defective. Have a defective room thermostat replaced by a specialist electrical
The air current is reduced:
- Check the air outlet. The air outlet must be clear. Remove any dirt. Observe the minimum distance from walls or other objects according to the technical data.
The device is loud or vibrates:
- Check whether the device is set up in a stable and upright position.
The device does not respond to the infrared remote control: - Check whether the distance between remote control and device is too large and reduce it if necessary.
- Make sure there are no obstacles, such as furniture or walls, between the device and the remote control. Ensure visual contact between device and remote control.
- Check the charging status of the batteries and change them if required.
- If the batteries have just been changed, check them for correct polarity.
Note
Wait for at least 3 minutes after maintenance and repair work. Only then switch the device back on.
The device still does not operate correctly after these checks:
Please contact the customer service. If necessary, bring the device to an authorised specialist electrical company or to Trotec for repair.
Technical annex
Technical data
| Parameter | Value / item |
| Model | TFC 220 E |
| Heat output | |
| Nominal heat output 13,„ | 2.2 kW |
| Minimum heat output (indicative) P.m | 1.1 kW |
| Maximum continuous heat output P„,„ | 2.2 kW |
| Auxiliary electricity consumption | |
| At nominal heat output elm., | n/a kW |
| At minimum heat output el,. | n/a kW |
| In standby mode els. | 0.0011 kW |
| Type of heat input | |
| Manual heat charge control, with integrated thermostat | NO |
| Manual heat charge control with room and/or outdoor temperature feedback | NO |
| Electronic heat charge control with room and/or outdoor temperature feedback | NO |
| Fan assisted heat output | NO |
| Type of heat output/room temperature control | |
| Single-stage heat output, no room temperature control | NO |
| Two or more manual stages, no room temperature control | NO |
| With mechanic thermostat room temperature control | NO |
| With electronic room temperature control | NO |
| With electronic room temperature control plus day timer | YES |
| With electronic room temperature control plus week timer | NO |
| Other control options | |
| Room temperature control, with presence detection | NO |
| Room temperature control, with open window detection | NO |
| With distance control option | NO |
| With adaptive start control | NO |
| With working time limitation | YES |
| With black bulb sensor | NO |
| Contact details | Trotec GmbH Grebbener Sta.& 7 D-52525 Heinsberg |
Disposal
The icon with the crossed-out waste bin on waste electrical or electronic equipment stipulates that this equipment must not be disposed of with the household waste at the end of its life. You will find collection points for free return of waste electrical and electronic equipment in your vicinity. The addresses can be obtained from your municipality or local administration. You can also find out about other return options that apply for many EU countries on the website https://hub.trotec.com/?id=45090. Otherwise, please contact an official recycling centre for electronic and electrical equipment authorised for your country.
The separate collection of waste electrical and electronic equipment aims to enable the re-use, recycling and other forms of recovery of waste equipment as well as to prevent negative effects for the environment and human health caused by the disposal of hazardous substances potentially contained in the equipment.
In the European Union, batteries and accumulators must not be treated as domestic waste, but must be disposed of professionally in accordance with Directive 2006/66/EC of the European Parliament and of the Council of 6 September 2006 on batteries and accumulators. Please dispose of batteries and accumulators according to the relevant legal requirements.
Only for United Kingdom
According to Waste Electrical and Electronic Equipment Regulations 2013 (2013/3113) and the Waste Batteries and Accumulators Regulations 2009 (2009/890), power tools that are no longer usable must be collected separately and disposed of in an environmentally friendly manner.
Trotec GmbH
Grebbener Str. 7
D-52525 Heinsberg
+49 2452 962-400
+49 2452 962-200
[email protected]
www.trotec.com

















