
VertiLine16 Series
CCTV Rack Mount Power Supplies
Models Include:
VertiLine16
– 24VAC or 28VAC @ 10A
– Sixteen (16) fuse protected outputs
VertiLine166
– 24VAC or 28VAC @ 14A
– Sixteen (16) fuse protected outputs
VertiLine16D
– 24VAC or 28VAC @ 10A
– Sixteen (16) PTC protected outputs
VertiLine166D
– 24VAC or 28VAC @ 14A
– Sixteen (16) PTC protected outputs
Installation Guide


Rev. 031808
More than just power.™
Installing Company: ____________ Service Rep. Name: ____________
Address: ___________________________ Phone #: ______________
Overview:
Altronix VertiLine CCTV Rack Mount Power Supplies provide 16 power outputs in a space saving 1U EIA 19″ rack mount chassis which may be rack, wall or shelf mounted. The units feature individually selectable 24VAC and/or 28VAC power outputs with surge suppression. VertiLine CCTV Rack Mount Power Supplies are also available in eight (8) and twenty-four (24) output models with various power ratings.
Specifications:
Input:
- Selectable 115VAC, 60Hz or 240VAC, 50/60Hz input.
Output:
- Sixteen (16) individually selectable 24VAC or 28VAC power outputs with OFF position.
- External blade fuses or PTC protected outputs.
- Surge suppression.
Features:
- Sixteen (16) power LED indicators.
- Illuminated master power disconnect circuit breaker with manual reset.
- IEC 320 – 3-wire grounded line cord (detachable).
- Removable terminal blocks with locking screw flange.
Mechanical:
- Units can be rack, wall or shelf mounted.
- Modular 1U standard EIA 19″ rack mount chassis
- Enclosure Dimensions (H x W x D approx.):
1.625″ x 19.125″ x 8.5″
(41.3mm x 486mm x 216mm).
Sixteen (16) Output Rack Mount Configuration Reference Chart:
| Altronix Model Number | VertiLine16 | VertiLine16D | VertiLine166 | VertiLine166D |
| Output Voltage (VAC) | 24VAC or 28VAC | 24VAC or 28VAC | 24VAC or 28VAC | 24VAC or 28VAC |
| Total Output Current (Power) | 10A | 10A | 14A | 14A |
| Number of Outputs | 16 | 16 | 16 | 16 |
| Output Protection | Fused | – | Fused | – |
| Class 2 Rated Power-Limited Output Protection | – | PTC | – | PTC |
| Current (max. per output) | 3A | 2.5A | 3A | 2.5A |
| Fuse Rating | 3A | – | 3A | – |
| Main Fuse Rating | 10A | 15A | ||
| 115VAC 60Hz Input Current | 3A | 4A | ||
| 230VAC 50/60Hz Input Current | 1.6A | 2.5A | ||
| Agency Listings | ![]() | |||
| UL Listings and File Numbers | UL Listed for Commercial CCTV Equipment (UL 2044). | |||
WARNING: To reduce the risk of fire or electric shock, do not expose the unit to rain or moisture. This installation should be made by qualified service personnel and should conform to the National Electrical Code and all local codes.
Installation Instructions:
- Set the input voltage selector switch located on the left side of the VertiLine unit (facing front panel) for 115VAC or 230VAC operation (Fig. 1c, pg. 4).
- Attach mounting brackets to VertiLine unit for rack or wall mount installation (Figs. 4-5, pg. 7). Affix rubber pads to VertiLine for shelf installation (Fig. 6, pg. 7).
- Secure the unit in a rack, mount unit to a wall or place unit on a shelf as desired (unit should be spaced at least 3″ from any video monitors). When installing the unit in a rack allow for one half of a U spacing above the unit for ventilation.
- Plug the grounded AC line cord (included) into the IEC 320 connector of the VertiLine unit (Fig. 1g, pg. 4). Insert the plug end of the line cord into a grounded AC receptacle.
- Set illuminated master power disconnect circuit breaker to the (ON) position (Fig. 3, pg. 6).
- Select 24VAC or 28VAC power output for cameras 1-16 with the corresponding voltage adjustment switches (Fig. 1b, pg. 4).
- Measure output voltage before connecting cameras. This helps avoiding potential damage. All terminals with common suffix (P) “1P, 2P …” are the same polarity.
- Set illuminated master power disconnect circuit breaker to the (OFF) position (Fig. 3, pg. 6).
- Connect the power outputs of terminals marked [1P & 1N] to the power inputs of camera 1 (Fig. 2, pg. 5). Repeat this step for each additional camera (Outputs 2-16). After wiring is completed insert terminal block into the corresponding connector and secure by tightening the screws.
- Upon completion of wiring, set illuminated master power disconnect circuit breaker to the ON (RESET) position (Fig. 3, pg. 6).
- The power LEDs (Green) on the faceplate for Outputs 1-16 will illuminate when AC power is present (Fig. 1a, pg. 4). If any of these LEDs are off, a loss of AC power output may be due to a blown fuse or a tripped PTC caused by a short circuit or overload condition. If all of the LEDs are OFF there may be a complete loss of supply power to the VertiLine unit or the illuminated master power disconnect circuit breaker is in the OFF position or the main fuse 1-8 or 9-16 is blown (Fig. 1d, pg. 4).*
To restore the power output for VertiLine16 or VertiLine166:
1- Switch corresponding output voltage switch to the OFF position (Fig. 1b, pg. 4).
2- Eliminate the trouble condition.
3- Replace the corresponding automotive blade fuse.*
4- Switch output voltage switch to the 24VAC or 28VAC position as desired (Fig. 1b, pg. 4).
To restore the power output for VertiLine16D or VertiLine166D:
1- Switch corresponding output voltage switch to the OFF position (Fig. 1b, pg. 4).
2- Eliminate the trouble condition.
3- Allow 1 minute for PTC to cool off.
4- Switch output voltage switch to the 24VAC or 28VAC position as desired (Fig. 1b, pg. 4).
*Note: Replace fuses with same type and rating:
Output fuses are rated @ 3A for all models.
Main fuse ratings:
10A for VertiLine16 and VertiLine16D.
15A for VertiLine166 and VertiLine166D.
Automotive Blade Fuse
Fig. 1
VertiLine16, VertiLine16D,
VertiLine166 or VertiLine166D (front)

VertiLine16D and VertiLine166D do not have output fuses on the rear of the rack mount chassis.
The output PTCs are located on the inside of the rack mount chassis.
1a – LED(s) 1-16: Power LED indicators.
1b – Output voltage switches: Selects 24VAC or 28VAC or OFF for each output.
1c – Input Voltage Switch: Selects 115VAC/230VAC 50/60Hz (switch is located on the left side of the unit).
1d – Main Fuse: Protects the transformer against overload.
1e – Power Outputs: 24VAC or 28VAC.
1f Output Fuses: Automotive blade fuses.
1g – IEC 320 Connector: 115VAC 60Hz/230VAC 50/60Hz (grounded line cord included).
A VertiLine16 or VertiLine166 (rear)
B VertiLine16D or VertiLine166D (rear)
Typical Hookup:
Fig. 2


The lightning flash with arrowhead symbol within an equilateral triangle is intended to alert the user to the presence of an insulated DANGEROUS VOLTAGE within the product’s enclosure that may be of sufficient magnitude to constitute an electric shock.
The exclamation point within an equilateral triangle is intended to alert the user to the presence of important operating and maintenance (servicing) instructions in the literature accompanying the appliance.

CAUTION: To reduce the risk of electric shock do not open enclosure. There are no user serviceable parts inside. Refer servicing to qualified service personnel.
1U EIA 19″ Rack Mount Chassis Mechanical Drawing & Dimensions (H x W x D):
1.625″ x 19.125″ x 8.5″ (41.3mm x 486mm x 216mm)


Fig. 3
Power Switch With Built-In Circuit Breaker:
OFF position – Switch not illuminated. Outputs not powered.
RESET (ON) position – Switch illuminated. Outputs powered.
Circuit breaker tripped – Switch not illuminated. Power LEDs on faceplate are not illuminated. Outputs not powered.
To reset circuit breaker set power switch to the ON (RESET) position (Fig. 3, pg. 6).
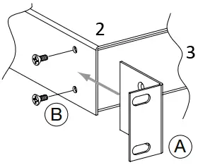
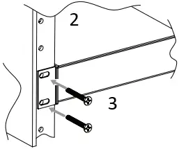
Mounting Options:
Rack Mount Installation
- Remove factory installed screws from both sides of the rack chassis (Fig. 4a).
- Install mounting brackets (A) on the left and right side of rack chassis using the two (2) flat head screws (B) (included) (Fig. 4b).
- Place unit into desired EIA 19″ rack position and secure with mounting screws (not included) (Fig. 4c).
Fig. 4
Fig. 4a Fig. 4b


Fig. 4c

- Remove
- Top
- Front Left
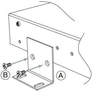
Wall Mount Installation
- Install mounting brackets (A) on the left and right side of rack chassis using two (2) flat head screws (B) (included) (Fig. 5a).
- Place unit at desired location and secure with mounting screws (not included) (Fig. 5b).
Caution: It is necessary to make sure mounting screws are securely fastened to a beam when installing.
Fig. 5
Fig. 5a Fig. 5b

Shelf Installation
- Position and affix rubber pads (C) (included) at each corner on the bottom of the unit (Fig. 6).
- Place unit in desired location.
Fig. 6

- Rubber Pad
Mounting Hardware (Included):
A Two (2) mounting brackets
B Six (6) flat head screws for mounting brackets.
C Four (4) rubber pads.
Notes:
Altronix is not responsible for any typographical errors.
140 58th Street, Brooklyn, New York 11220 USA | phone: 718-567-8181 | fax: 718-567-9056
website: www.altronix.com | e-mail: [email protected] | Lifetime Warranty
IIVertiLine16 Series K03U
MEMBER
Vertiline16 Series Installation Guide




















