STIEBEL ELTRON EBK 5 K, KBA 5 KA Water Boiler

OPERATION
- The appliance may be used by children aged 8 and up and persons with reduced physical, sensory or mental capabilities or a lack of experience and know-how, provided that they are supervised or they have been instructed on how to use the appliance safely and have understood the resulting risks. Children must never play with the appliance. Children must never clean the appliance or perform user maintenance unless they are supervised.
- Installation with a permanent power cable is not permitted.
- When permanently connected to the power supply using an appliance wall socket, the appliance must be able to be separated from the mains power supply by an isolator that disconnects all poles with at least 3 mm contact separation.
- The power cable must only be replaced (for example if damaged) with the original spare part by a qualified contractor authorised by the manufacturer.
- Secure the appliance as described in chapter “Installation / Installation”.
General information
The chapters “Special Information” and “Operation” are intended for both the user and qualified contractors.
The chapter “Installation” is intended for qualified contractors.
Note
Read these instructions carefully before using the appliance and retain them for future reference.
Pass on the instructions to a new user if required.
Safety instructions
Structure of safety instructions
KEYWORD Type of risk
Here, possible consequences are listed that may result from failure to observe the safety instructions.
- Steps to prevent the risk are listed.
Symbols, type of risk

Keywords

Other symbols in this documentation
Note
General information is identified by the symbol shown on the left.
- Read these texts carefully.

This symbol indicates that you have to do something. The action you need to take is described step by step.
Units of measurement
Note
All measurements are given in mm unless stated otherwise.
Safety
Intended use
This is an open (non-pressurized) appliance for heating hot and boiling domestic hot water. The appliance is intended for domestic or similar usage conditions, such as in kitchens for employees in shops, offices and other commercial settings, in agricultural premises, or for customers in hotels, motels, B&Bs and other types of accommodation.
This appliance is intended for domestic use. It can be used safely by untrained persons. The appliance can also be used in a non-domestic environment, e.g. in a small business, as long as it is used in the same way.
Any other use beyond that described shall be deemed inappropriate. Observation of these instructions is also part of the correct use of this appliance. Any changes or modifications to this appliance void all warranty rights.
Safety instructions
WARNING Burns
Steam escapes from the overflow/steam pipe during the boiling process. The pipe must not be enclosed or extended.
WARNING Burns
If the appliance is overfilled, boiling water may spurt out.
WARNING Burns
Never open the cover during the heating process.
WARNING Burns
KBA 5 KA: The taps can reach temperatures above 60 °C.
WARNING Injury
The appliance may be used by children aged 8 and up and persons with reduced physical, sensory or mental capabilities or a lack of experience and know-how, provided that they are supervised or they have been instructed on how to use the appliance safely and have understood the resulting risks. Children must never play with the appliance. Children must never clean the appliance or perform user maintenance unless they are supervised.
Material losses
Never operate this appliance if it is not filled with water. If you want to draw off hot water during the heating process, leave approximately 0.5 l (see cup symbol) in the appliance until it switches off, or set the temperature selector to OFF.
Test symbols
See type plate on the appliance.
Appliance description
The appliance electrically heats up domestic hot water and is filled via the relevant tap. The appliance switches off automatically when it reaches the temperature selected with the temperature selector.
You can draw off the hot water via the tap.
Settings
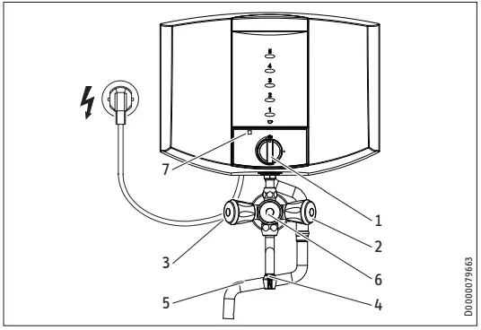
EBK 5 K
KBA 5 KA
- Temperature selector with one-touch button for switching the appliance on
- Drawing off cold water
- Filling the appliance
- Tap outlet pipe
- Overflow/steam pipe
- Drawing hot water
- ON/OFF indicator
- Using the relevant tap, fill the appliance at least as far as the cup symbol but with no more than 5 l of water.

- Temperature setting OFF
- Temperature setting warm
- Descaling setting
- Temperature setting warm to hot (steaming)
- Temperature setting hot (steaming) to boiling
- Boiling end stop
- Turn the temperature selector straight to the boiling end stop.
- Switch the appliance on by pressing the temperature selector.
The ON/OFF indicator illuminates while the water is heated.
Once the selected temperature has been reached, the appliance switches itself off automatically following a system-dependent delay. The ON/OFF indicator goes out.
The temperature at which the appliance turns off can vary depending on the fill level, the degree of scaling and the residual heat. - If necessary, you can bring the water straight back to boiling point by keeping the temperature selector pressed.
- You can stop the heating process at any time by turning the temperature selector to OFF.
- Draw the water off via the tap.
Cleaning, care and maintenance
Descaling
Almost every type of water will deposit lime at high temperatures. Therefore, it is necessary to descale the appliance every so often.
WARNING Burns
Descalers that generate a lot of foam can result in the appliance overflowing, which would put users at risk.
- Use environmentally compatible formic acid-based descaling agents.
- Do not the boil water during descaling.

- When the appliance has cooled down, open the cover.
- Open the locking tab, if required with the help of the cover or a spoon.
Material losses
The descaling agent may cause corrosion on the casing. To avoid this, take care when pouring in the water and descaling agent. Use a funnel if required and avoid any overflow.
- Fill the appliance with the recommended amount of water and descaling agent.
- Push in the locking tab and close the cover.

- Turn the temperature selector to the descale setting (see diagram).
- Switch the appliance on by pressing the temperature selector.
- Leave the descaling agent to take effect and repeat the heating process if necessary.
- Draw off all the water and rinse the appliance out several times with cold water.
- Boil the maximum possible volume of water and draw this water off once again.
Cleaning
- Never use abrasive or corrosive cleaning agents. A damp cloth is sufficient for cleaning the appliance.
Troubleshooting


If you cannot remedy the fault, notify your qualified contractor. To facilitate and speed up your request, provide the number from the type plate (000000-0000-000000).
Safety
Only a qualified contractor should carry out installation, commissioning, maintenance and repair of the appliance.
General safety instructions
We guarantee trouble-free function and operational reliability only if original accessories and spare parts intended for the appliance are used.
Instructions, standards and regulations
Note
Observe all applicable national and regional regulations and instructions.
Appliance description
The appliance heats DHW electrically. Once the selected temperature has been reached, the temperature limiter switches the appliance off.
Standard delivery
The following are delivered with the appliance:
- Fill/drain tap
- Wall mounting bracket
- Two screws, two rawl plugs, two washers
- Installation template
Accessories
Replacement drain taps, replacement pivoting spouts and drain outlets with stench traps are available as accessories.
Preparations
Installation site
Always install the appliance vertically (oversink) in a frost-proof room.
Installation
Appliance installation
See also chapter “Alternative installation methods”.
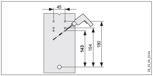
Using the installation template, transfer the dimensions of the wall mounting to the wall. To do so, loosely screw the installation template with tap connection to the wall.
- Drill the holes.
EBK 5 K
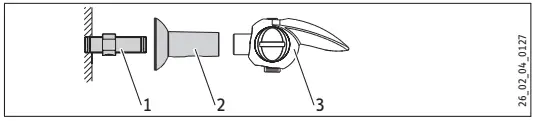
- Twin connector with throttle screw
- Plastic sleeve
- White-coated two-handled lever tap
- Screw in the twin connector.
- Slide the plastic sleeve onto the twin connector

- Screw depth specification
- White-coated two-handled lever tap with throttle screw
- Screw in the tap, taking care to observe the screw depth specification.
- Attach the tap outlet.
KBA 5 KA
- Screw depth specification
- Chrome-coated three-handled tap with throttle screw
- Extensions
- Screw in the tap with the extensions, taking care to observe the screw depth specification.
- Attach the tap outlet.
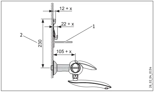
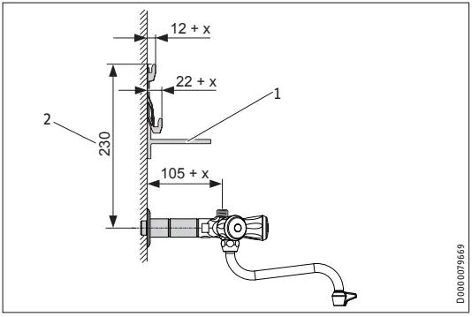
EBK 5 K
KBA 5 KA
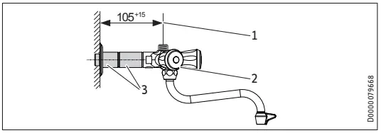
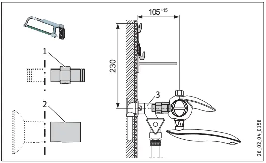
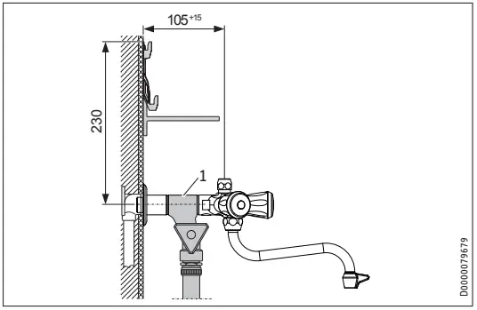
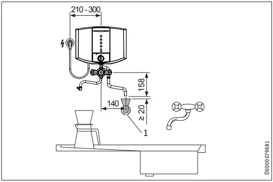
- Wall mounting bracket
- Height specification
- X = Increase of tap insertion depth / distance of tabs from the wall mounting bracket: maximum 15 mm.
Note
If the tap insertion depth is greater than 105 mm, adapt the bend in the tabs of the wall mounting bracket (see illustration).
- Fit the wall mounting bracket using the rawl plugs, washers and screws supplied.
- Align the wall mounting bracket using a spirit level. Take care to observe the height specification. If the wall is uneven, the wall mounting bracket can be secured using additional screws at the bottom.
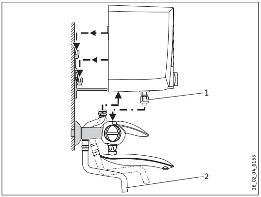
EBK 5 K
- Compression fitting, spanner size 19
- Overflow/steam pipe
KBA 5 KA 
- Compression fitting, spanner size 19
- Overflow/steam pipe
- Slide the appliance from above down onto the wall mounting bracket and the tap fitting so it is properly aligned.
- When fastening the compression fitting, apply slight downward pressure on the appliance.
- Attach the overflow/steam pipe.
Alternative installation methods
Water connection on finished walls with washing machine and dishwasher connection (WAS valve)
EBK 5 K 
- Twin connector
- Plastic sleeve
- WAS valve
- Trim the twin connector and the plastic sleeve to the right lengths.
KBA 5 KA
- WAS valve
Attaching the overflow/steam pipe to finished walls.
Note
With these connections, the overflow/steam pipe must be fixed to the wall.
EBK 5 K
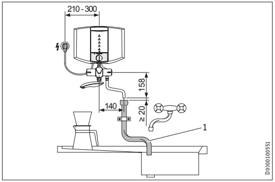
- Outlet pipe to the sink
KBA 5 KA 
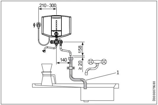
- Outlet pipe to the sink
Attaching the overflow/steam pipe to unfinished walls
Note
With these connections, the overflow/steam pipe must be fixed to the wall.
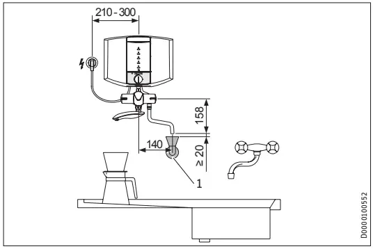
EBK 5 K 
- Drain outlet with stench trap
KBA 5 KA 
- Drain outlet with stench trap
Power supply
WARNING Electrocution
Carry out all electrical connection and installation work in accordance with relevant regulations.
WARNING Electrocution
Installation with a permanent power cable is not permitted.
When permanently connected to the power supply using an appliance wall socket, the appliance must be able to be separated from the mains power supply by an isolator that disconnects all poles with at least 3 mm contact separation.
Material losses
Observe the type plate. The specified voltage must match the mains voltage.
Note
Ensure that the appliance is earthed.
When connecting the appliance via a standard socket, ensure that this is easily accessible once the appliance has been installed.
Initial start-up

- White-coated two-handled lever tap with a throttle screw
- Chrome-coated three-handled tap with a throttle screw
- Throttle screw for flow rate: maximum throttle
- Throttle screw for flow rate: no throttle
- Adjust the flow rate. For this, observe the maximum permissible flow rate with a fully opened tap (see chapter “Specification / Data table”). If necessary, reduce the flow rate using the throttle screw.
- Fill the appliance via the tap fitting. Observe the maximum nominal capacity (see chapter “Specification / Data table”).
- Turn the temperature selector to the required temperature.
- Press the temperature selector.
- Check the function of the appliance.
- Draw off hot water via the tap.
- Remove the protective foil from the user interface.
Appliance handover
- Explain the appliance function to users and familiarise them with its operation.
- Make users aware of potential dangers, especially the risk of scalding.
- Hand over these instructions.
Troubleshooting

Maintenance
WARNING Electrocution
Before any work on the appliance, disconnect all poles of the appliance from the power supply
Servicing the taps
- When carrying out maintenance work on the taps, reduce the water supply by using the throttle screw. Be aware that the throttle screw is not permanently watertight (see chapter “Commissioning”).
Checking the earth conductor
- In accordance with DGUV V3, check the earth conductor on the heating element and the earth conductor contact on the power cable.
Replacing the power cable
The power cable must be replaced by an authorised contractor with the original spare part (part no. 020671).
Specification
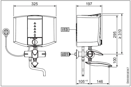
Dimensions and connections
EBK 5 K 

KBA 5 KA 

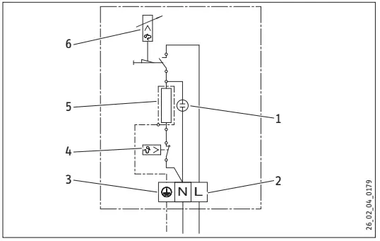
Wiring diagram
1/N/PE ~ 230 V 
- ON/OFF indicator
- Mains terminal
- Earth conductor
- Safety temperature controller
- Heating element
- Temperature limiter
Heat-up table
The heat-up period depends on the amount of water, degree of scaling and residual temperature. For the heat-up time for a cold water supply of 10 °C and a maximum temperature setting, see the following table.
| Content | l | 1 | 2 | 3 | 4 | 5 |
| Approx. heat-up time | min | 3 | 6 | 9 | 12 | 15 |
Data table
| EBK 5 K | KBA 5 KA | ||
| 074288 | 074289 | ||
| Hydraulic data | |||
| Nominal capacity | l | 5 | 5 |
| Electrical data | |||
| Connected load ~ 230 V | kW | 2 | 2 |
| Rated voltage | V | 230 | 230 |
| Phases | 1/N/PE | 1/N/PE | |
| Frequency | Hz | 50 | 50 |
| Application limits | |||
| Temperature setting range | °C | 35 – 100 | 35 – 100 |
| Max. permissible pressure | MPa | 0 | 0 |
| Max. flow rate | l/min | 10 | 10 |
| Versions | |||
| IP rating | IP24 | IP24 | |
| Open vented type | X | X | |
| Container material | Plastic | Plastic | |
| Material, tap body | Brass | Brass | |
| Colour, outer tap body | White | Chrome-plated | |
| Dimensions | |||
| Height from the centre of the water connection | cm | 295 | |
| Width | mm | 325 | 325 |
| Depth | mm | 197 | 197 |
| Length of connecting cable | mm | 650 | 650 |
| Weights | |||
| Weight, empty | kg | 2.7 | 2.7 |
| Weight, full | kg | 7.7 | 7.7 |
Guarantee
The guarantee conditions of our German companies do not apply to appliances acquired outside of Germany. In countries where our subsidiaries sell our products, a guarantee can only be issued by those subsidiaries. Such a guarantee is only granted if the subsidiary has issued its own terms of the guarantee. No other guarantee will be granted.
We shall not provide any guarantee for appliances acquired in countries where we have no subsidiary to sell our products. This will not affect warranties issued by any importers.
Environment and recycling
We would ask you to help protect the environment. After use, dispose of the various materials in accordance with national regulations.





















