CLAGE K5 Electric Water Boiler

Overview

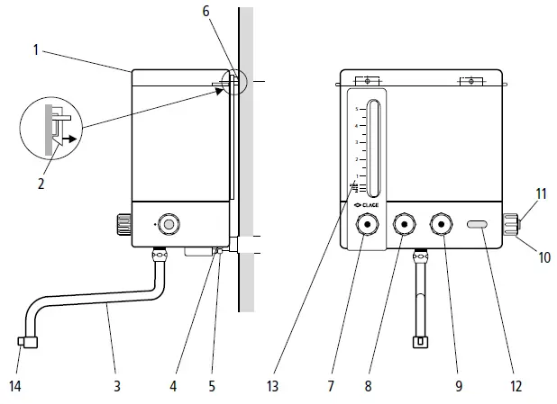
| Item | Designation | Item | Designation | |
| 1 | Cover | 8 | Knob “red”: hot water | |
| 2 | Detent | 9 | Knob “blue”: cold water | |
| 3 | Swivelling spout | 10 | Temperature selector | |
| 4 | Union nut ¾ inch | 11 | Push-button | |
| 5 | Water connection with valve | 12 | Pilot light | |
| 6 | Dowels/screws | 13 | Water level indicator | |
| 7 | Knob “grey”: fill | 14 | Handle element |
Always specify the appliance model and serial number when ordering spare parts!
Safety instructions
Please read these instructions carefully before installing or using the appliance! Keep the instructions handy with the appliance for future use!
Instruction manuals are intended for the specialist who is responsible for the installation of the appliance. Operation manuals are for the end user. The provided manuals correspond to the technical specifications of the appliance.
The latest version of the instructions can be found online at: www.clage.com/en/downloads.
- Check the data on the rating plate of the appliance and compare them with the main data.
- The hot water boiler has been built and tested in accordance with the applicable standards.
- The generally customary, additional overflow pipe has been integrated into the spout on
this appliance. As a result, the swiveling hot water spout may reach temperatures of up to 100 °C. The hot water boiler must therefore be mounted in such a way that this part cannot be touched accidentally. - Do not use the appliance until it has been correctly installed and unless it is in perfect working order.
- The appliance must only be used to heat incoming water from the main supply and is only suitable for domestic use and similar applications inside closed, frost-free rooms (e.g. kitchen, kitchenettes, canteens).
- The appliance must never be exposed to frost.
- Never make technical modifications, either to the appliance itself or the electrical leads and water pipes.
- Do not remove the front cover under any circumstances before switching off the main electrical supply to the unit.
- Pay attention to the fact that water temperatures are in excess of approx. 43 °C is perceived as hot, especially by children, and may cause a feeling of burning. Please note that the fittings and taps may be very hot when the appliance has been in use for some time.
- The appliance must be earthed!
- This appliance can be used by children aged 8 years and above if they are supervised or have been given supervision or instruction concerning use of the appliance in a safe way and understand the hazards involved. Cleaning and user maintenance must not be carried out by children unless they are 8 years or older and are supervised. The appliance and its connecting lead must be kept away from children younger than 8 years.
- Appliances may be used by persons with reduced physical, sensory or mental capabilities, or lack of experience and knowledge, if they have been given supervision or instruction concerning the use of the appliance in a safe way and understand the hazards involved.
- Children must not play with the appliance.
- The outside surface of the water container becomes very hot during boiling water operation.
- If the connection cable is damaged, it must be replaced with an original spare cable from the manufacturer by an authorised technician in order to avoid any hazards.
Steam emerges from the spout when the water boils!
Important:
The spout acts as a vent. Such devices as hoses, shutoff valves, etc. must not be fitted as they would reduce its cross-section.
General notes
Installation and commissioning may only be carried out by an approved technician. In addition to the national legal requirements (in Germany: VDE 0100, DIN 1988, and DIN 44531), the requirements of the local electricity and water companies must also be observed.
Preparations
- A water connection with a G ½ inch internal thread and a thread length of at least 15 mm must be available for installation (see Fig. 1).
- A correctly installed and earthed socket outlet must also be available.
- Mark and drill holes accordingly (see Fig. 2) and insert 6 mm dowels.
- Use a spirit level to ensure they are centered and horizontal!

Mounting
- Remove cover (1). For this purpose, unhook the two detents (2), i.e. press them gently away from the appliance with a small screwdriver or your hand and lift off the cover.
- With two fork wrenches size 30 and size, 22 unscrew the connection between the union nut ¾ inch (4) and the water connection (5).
- Screw in the water connection (5), using a size 22 fork wrench. The gasket must be screwed into the thread completely. Check the distance of 40 mm (Fig. 4). Direct the valve (v) downwards so that it is still accessible after the mounting of the device.
- Introduce the swiveling spout (3) with gasket and snap ring fully into the threaded connector so that the union nut can be tightened down completely.

- Position the appliance on the water connection (5), making sure that the gasket is correctly seated and screw on the ¾ inch union nut (4) by hand.
- Insert the wall mounting screws (6).
- If there is a recess due to the tiles on the wall, this difference in height can be compensated by means of the two spacer sleeves enclosed with the accessories.
- Lay a spirit level on the appliance and level it in both directions.
- Use a size 22 fork wrench to correct the water connection so that the appliance is mounted straight and flat on the wall.
- Tighten down the wall mounting screws (6).
- Tighten the ¾ inch union nut (4), holding the water connection (5) steady at the same time.
- Refit the cover (1).
- Turn on the water tap and the valve at the water supply (5).
- Use the “blue” knob (9) to rinse the appliance with cold water.

Initial operation
- Fill the appliance with approx. 1 liter of water. For this purpose, turn the “grey” knob (7) until the level indica-tor shows 1 litre of water in the appliance.
- Plug the mains power cable into the socket outlet.
- Turn the temperature selector (10) to position “3” (boiling).
- Press push-button (11). The appliance begins to heat. Watch the appliance during this phase.
- When the boiling temperature is reached, turn the temperature selector (10) back and then turn the “red” knob (8) to dispense hot water completely.
Attention!
Never operate the appliance without the lid. Never remove the lid during operation!
How to use
Turn the “grey” knob (7) to fill the appliance with the required amount of water. The water level can be seen on the level indicator (13) (from one cup to 5 liters). Do not set the temperature any higher than is actually needed.
Temperature control
- Set the required temperature on the temperature selector (10) (the symbols are affixed to the knob of the selector):
- Position “1” Temperature approx. 37 °C (e.g. for washing hands)
- Position “2” Temperature approx. 60 °C (e.g. for washing dishes)
- Press the push-button (11) to start heating up.
- The pilot light in the display window lights up while the heating is on. The appliance switches off automatically when the required temperature has been reached and the pilot light goes out.
Boiling
Position “3” Temperature approx. 99 °C (e.g. for hot drinks)
The following sequence starts when boiling position “3” is selected:
When the boiling point is reached, the controller inside the appliance switches the heating off. After falling below a minimum temperature, the heating is switched on again, thus keeping the water hot. This helps to save energy. The pilot light goes out while the heating is off.
Always turn the temperature selector down before turning on the hot water!
Turn the “red” knob (8) to dispense hot water. The water temperature can be reduced by additionally turning on the “blue” knob (9).
Heat only as much water as you need. Empty the appliance completely after each usage.
Descaling
- Scale builds up inside the appliance if the water is very hard. This scale must be removed with a descaling agent. The appliance must be descaled when the level indicator becomes blurred.
- Commercially available descaling agents can be used to descale the appliance.
Descaling procedure
Proceed as described for the descaling agent or as follows:
- Fill the appliance with approx. 1 liter of water.
- Take off the cover and fill it with the descaling agent.
- Refit the cover and heat the water to approx. 37 °C (position “1”).
- After an hour, fill the appliance to 5 liters, heat it to 37 °C, and leave it for another hour.
- Empty the appliance, then refill it several times.
- The appliance is now ready for use again.
Maintenance and care
The appliance may only be wiped with a soft, damp sponge or cloth and a liquid, non-abrasive detergent. Organic solvents must not be used!
Technical specifications
| Model | K 5 |
| Capacity | 5 litres |
| Power consumption | 2.0 kW |
| Mains voltage | 230 V 1/N/PE |
| Type of protection | IP 24 |
| Protection class | I |
| Dimensions | 266 x 270 x 169 mm |
| Water connection | Internal thread ½ inch |
| Indicator | Pilot light |
| Time required to bring 5 litres to the boil | approx. 14,5 min |
| Weight | approx. 2,5 kg |
Service
A thermal cutout is installed in the appliance to prevent it from overheating. If the appliance generally does not heat the water, this thermal cutout may have been tripped.
Unplug the power cable and fill the appliance. Wait for approx. 3 minutes, then plug the cable into the socket outlet. If the thermal cutout is subsequently tripped again, a malfunction may have occurred and must be repaired by a qualified specialist.
Important:
In all other cases, unplug the power cable and call a qualified specialist to repair the malfunction.
Mains power cable
If the connection cable is damaged, it must be replaced with an original spare cable from the manufacturer by an authorised technician in order to avoid any hazards (available as spare parts).
Customer Servic
If the appliance still does not work properly, please contact:
CLAGE GmbH
Central Customer Service Department
Pirolweg 1– 5
21337 Lüneburg
Germany
Fon: +49 (0) 41 31 – 89 01-40
Fax: +49 (0) 41 31 – 89 01-41
E-mail: [email protected]
If the appliance is faulty, please return it with a short letter and the purchase receipt for inspection and repair.
Environment and recycling
Disposal of transport and packaging material:
For smooth transport, your product is carefully packed. The disposal of the transport material is carried out by the specialist tradesman or the specialist trade. Separate the sales packaging according to materials separated according to materials via one of the dual systems in Germany.
Disposal of old products:
Your product was manufactured from high-quality, reusable materials and components. Products marked with the crossed-out wheeled bin symbol must be disposed of separately from household waste at the end of their service life. Therefore, take this product to us as the manufacturer or to one of the municipal collection points that recycle used electronic devices. This proper disposal serves to protect the environment and prevents possible harmful effects on humans and the environment that could result from improper handling of the products at the end of their service life. For more detailed information on disposal, please contact your nearest collection point or recycling center or your local council.
Business customers:
If you wish to discard equipment, please contact your dealer or supplier for further informa-tion.
For disposal outside Germany, please also observe the local regulations and laws.
CLAGE GmbH
Pirolweg 4
21337 Lüneburg Deutschland
Telefon: +49 4131 8901-0 E-Mail: [email protected] Internet: www.clage.de.






















