
Installation, Operating and Servicing Instructions
Wall Mounted Water Boiler
WMB5F/B, WMB5F/W, WMB7F/B & WMB7F/W
Please make a note of your product details for future use:
Date Purchased:_________________________
Model Number:_________________________
Serial Number:__________________________
Dealer:________________________________
IMPORTANT INFORMATION
![]() | Read these instructions carefully before using this product, paying particular attention to all sections that carry warning symbols, caution symbols, and notices. Ensure that these are understood at all times. |
![]() | WARNING! This symbol is used whenever there is a risk of personal injury. |
| CAUTION! This symbol is used whenever there is a risk of damaging your Lincat product. | |
![]() | NOTE: This symbol is used to provide additional information, hints and tips. |
KEEP THIS MANUAL FOR FUTURE REFERENCE
WARNINGS AND PRECAUTIONS
This appliance must be installed, commissioned, and serviced by a qualified person in accordance with national and local regulations in force in the country of installation.
If the supply cord is damaged, it must be replaced by the manufacturer, its service agent, or a similarly qualified person.
Ensure that the plug/socket is accessible at all times.
Strip plastic coating and clean the appliance before use.
During operation parts may become hot – avoid accidental contact.
Disconnect this appliance before servicing, maintenance or cleaning.
This appliance is not suitable for outdoor use.
TECHNICAL DATA
| Model | Height (mm) | Width (mm) | Depth (mm) | Weight (kg) |
| WMB5F/B/W | 462 | 340 | 184 | 9.5 |
| WMB7F/B/W | 462 | 340 | 224 | 10.1 |
CHECKLIST OF ENCLOSURES
| Warranty card |
| Instructions manual |
| 44mm diameter rubber grommet |
INSTALLATION AND COMMISSIONING
![]() | This appliance must be earthed. An equipotential bonding terminal is provided to allow cross bonding with other equipment. No supply cable or connection hose is supplied with this appliance. |
If replacing the plug connect the terminals as follows:
| Green and Yellow wire | Earth | E |
| Blue wire | Neutral | N |
| Brown wire | Live | L |
Means of isolation with at least 3mm contact separation in all poles must be incorporated into the fixed wiring of this appliance.
The fixed wiring insulation must be protected by insulated sleeving having a temperature rating of at least 60°C.
Supply cords shall be oil-resistant, sheathed flexible cable not lighter than ordinary polychloroprene or equivalent elastomer sheathed cord (code 60245 IEC 57)
Do not re-use old hose-sets.
Wall installation
The boiler must be installed on a vertical concrete/brick wall with the base in a horizontal position. The location must be frost-free.
Using the drawing on page 13, mark the position of the mounting holes. Drill the holes and insert suitable wall plugs.
Remove the glass front /outer body of the boiler by firstly removing the tap, circlip, and nut. Remove the screw holding the lower center trim and remove the center trim. Finally, remove the screw in the top front of the lid and then slide the glass and body assembly up and lift it away from the appliance. Secure the boiler to the wall using 5mm (10g) screws.
Please allow 400mm clear space above the unit to allow removal of the cover and 300mm below the unit to allow for filter removal.
Electrical installation
The appliance is supplied with a terminal block suitable for flexible wires up to 6mm². Cables may either be threaded through the cut-out in the back panel or via a 20mm diameter landed bush in the base after removing the smaller knock-out panel (Fig 1 B).
The connection sequence is:
| E | Earth | Green/Yellow | Right terminal |
| N | Neutral | Live | Centre terminal |
| L | Live | Brown | Left terminal |
Power Ratings
| Model | kW | Amps |
| WMB5F/B/W | 3.0 | 13.0 |
| WMB7F/B/W |
Water Installation
Connection hoses may either be fed through the cutout in the back panel or via the larger of the two knock-out panels (Fig 1 A). A blank rubber grommet is supplied and should be cut to fit around the feed pipe and fitted into the appliance base to seal it.
The inlet connection point on the inlet solenoid valve is ¾” BSP and should be connected to the mains water supply via an accessible isolating tap.
Connect the condensate/overflow pipe (Fig 1 F) to a suitable drain, considering any applicable local water regulations. If required, the internal pipe may be disconnected from the external connector and the pipe extended to pass through the cutout in the back panel and connected to a suitable drain.
| Ambient temp Deg C | Water inlet pressure Bar | Water inlet pressure kPa |
| 5 to 30 | 1 to 8 | 100 to 800 |
Turn on the water supply and check for leaks before refitting the outer cover in a reversal of the removal procedure.
OPERATING INSTRUCTIONS
Only qualified or trained personnel should use this appliance.
First Use
Switch on both mains water and electricity supplies and leave the boiler for 15 minutes to fill completely.
Drain off approximately 3 liters of water to remove any loose carbon particles from the filter.
Regular operation
The appliance starts automatically shortly after the electrical supply is turned on, filling with water and heating. To ensure that water is always hot, only small quantities are added constantly during the heating cycle. The appliance is designed to be left on permanently, only to be turned off for descaling or maintenance.
Adjustment – water temperature, screen backlight, and contrast.

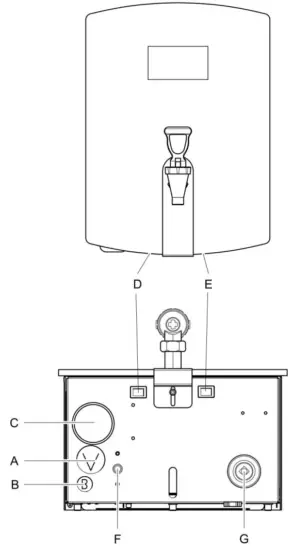
Fig 1
Consult Fig 1.
Turn the power off at the mains for 5 seconds and then back on again. When the ‘Filterflow’ screen is displayed, press and hold the power button (D) until the software version is displayed. Press the function button Fn (E) and the temperature will be displayed.
Press the power button to cycle through the values 70° to 96°C. Press the Fn button to select the required value.
The backlight adjustment screen is displayed next. Press the power button to cycle through the values 1 to 25. Press the Fn button to select the required value.
The contrast adjustment screen is displayed next. Press the power button to cycle through the values 35 to 60. Press the Fn button to select the required value.
Press the power button to exit.
Standby
If the appliance is to be left unused for any length of time, turn the element off by pressing the power button.
Filter replacement
The filter display shows the estimated life left in the filter cartridge (Fig 2). A reminder message is displayed when the filter needs changing. The boiler can be used without a filter but the scale will quickly build up and water taste may be affected.

Fig 2
To replace the filter
Twist the base of the filter 90° to the left and carefully lower the filter cartridge out of the appliance. It will contain a small volume of water.
Remove the black cap and place it on the new filter.
Re-insert the filter into the recess and lock it into place by twisting to the right.
Press and hold the Fn button for 5 seconds to reset the filter life.
Drain off approximately 3 liters of water to remove any loose carbon particles from the filter.
CLEANING
Do not use a water jet or steam cleaner, and do not immerse this appliance.
Clean all panels with warm water and mild detergent, do not use abrasive materials. Dry with a soft cloth.
Wipe the dispensing nozzle daily to remove limescale deposits.
De-scaling
The boiler should be de-scaled regularly to maintain efficient operation and water quality. The frequency depends on the hardness of the water and the timely replacement of the filter.
The de-scaling procedure must be performed by trained personnel as it requires the removal of panels from the boiler giving access to live electrical components.
De-scaling the boiler at the end of the working day gives the de-scaling agent several hours to work. Lincat recommends our own de-scaling agent MS19, available from our Spares department.
Wear protective clothing.
Isolate the boiler from the electrical supply.
Turn off the power and allow the water to cool to 60°C.
Using a 3mm Allen key, remove the screw in the top of the boiler and remove the boiler’s outer body.
Remove the insulation from the top of the tank, then unscrew and remove the tank lid.
Add the de-scaling agent slowly to avoid the eruption of the water. Follow the manufacturer’s instructions.
Replace the tank lid and outer body. Attach an ‘Out of Use’ notice to the boiler to prevent use during de-scaling.
Turn on the electricity and allow the boiler to run normally for 30 minutes. Isolate the boiler and allow the water to cool.
Remove the outer body and tank lid and inspect the tank and level sensor housings for scale deposits. If necessary, repeat the descaling process.
Drain and flush all de-scaling agents from the tank completely as follows:
Unscrew the drain plug (beneath the grommet – Fig 1 G) using a 24mm spanner to hold the plug and a 21mm socket on a ratchet (Fig 3) to remove it from the bottom of the tank. Drain all the water out.

Fig 3
Flush out the tank with clean water.
When empty, replace the drain plug and replace the grommet.
Replace the tank lid, ensuring the gasket seals the top of the tank correctly
Refit the outer cover and turn the boiler on.
SERVICING, MAINTENANCE, AND COMPONENT REPLACEMENT
All servicing, maintenance, and component replacement on this appliance should be carried out by one of our recommended service engineers.
FAULT FINDING
The control panel displays information that can help with fault diagnosis. Before calling for service, draw off a liter of water, clear the fault code by pressing the Fn button and turn the boiler off and on again at the supply. If the fault persists, call service for advice.
| Message displayed | Possible causes | Corrective action |
![]() | Scale on level sensors Boiler overfilling | Descale Check the water inlet valve |
![]() | The water turned off Inlet hose kinked or blocked Water pressure too high or low Drain valve open | |
![]() | Boil dry/overheat protector tripped Temperature sensor fault Element failed PCB fault Faulty or loose connection | Check water supply and drain valve Call service if the fault persists |
![]() | Temperature sensor fault | Call service |
SPARE PARTS LIST
| Part Number | Description | Used on |
| CO252 | Compression stop end | ALL |
| EL277 | Element | |
| FH02 | Filter head only | |
| GA86 | Tank gasket | WMB5F/B/W |
| GA87 | Tank gasket | WMB7F/B/W |
| GF05 | Glass front | ALL |
| LE47 | Level sensor insulator | |
| LE48 | Upper-level sensor | |
| LE51 | Lower level sensor | |
| PR73 | Circuit board | |
| SI01 | Sensor isolator | |
| SL20 | Tap nut | |
| SL21 | Tap circlip | |
| SL34 | Tap body | |
| SO24 | Solenoid | |
| SW88 | Momentary switch | |
| TE40 | Terminal block | |
| TH87 | 95° cutout | |
| TH88 | 120° cutout | |
| TH98 | Thermistor |
ACCESSORIES
| Part Number | Description |
| DR72 | Drip tray – WMB5F/B/W |
| DR98 | Drip tray – WMB7F/B/W |
| FC02 | Filter cartridge |
| DP10 | De-scaler |
SERVICE INFORMATION
For help with the installation, maintenance, and use of your Lincat equipment, please contact our service department:
UK: 01522 875520
For non-UK customers, please contact your local Lincat dealer
All service work, other than routine cleaning should be carried out by one of our authorized service agents. We cannot accept responsibility for work carried out by other persons.
To ensure your service inquiry is handled as efficiently as possible, please tell us:
- Brief details of the problem
Product code- Type number
- Serial number
Lincat reserve the right to carry out any work under warranty, given reasonable access to the appliance, during normal working hours, Monday to Friday, 08:30 to 17:00.
GUARANTEE
This unit carries a comprehensive UK mainland 2-year warranty. The guarantee is in addition to and does not diminish your statutory or legal rights. The guarantee does not cover:
- Accidental damage, misuse or use not in accordance with the manufacturer’s instructions
- Consumable items (such as filters, glass, bulbs, slot toaster elements, and door seals.)
- Damage due to incorrect installation, modification, unauthorized service work or damage due to scale, food debris build-up, etc.
The manufacturer disclaims any liability for incidental, or consequential damages. Attendance is based on reasonable access to the appliance to allow the authorized technician to carry out the warranty work.
Service calls to equipment under warranty will be carried out in accordance with the conditions of sale. Unless otherwise specified, a maximum of 15 minutes of administrative time, not spent directly carrying out servicing work, is provided for within the warranty. Any requirement for staff attending the call to spend greater time than 15 minutes due to administrative requirements, such as on health and safety risk assessments, will be chargeable at the prevailing rate.
Wall mount position









Product code


















