Westinghouse WGenTent Inverter Generator Running Cover User Manual

IMPORTANT OPERATING NOTES
Please review these important operating notes:
NOTE: Should the GenTent cover block pull starter, release the elastic straps on the pull starter side and temporarily lift GenTent canopy out of the way.
NOTE: When using GenTent during snowstorms, periodically brush away any accumulation that blocks the top vent or surrounds the generator.
NOTE: The bottom trim of the canopy should align at or slightly below where the fuel tank connects to the frame. This will prevent pooling water on the fuel tank and potential drippage toward the
outlets. The electrical apron will cover down to the top of the clamp which should be positioned below the lowest electrical outlet.
NOTE: Should generator handle cause significant stretching of the elastic straps when extended, release the elastics straps on the handle side of the generator before deploying generator handles. Once the generator is in the desired position, lower the handle, and refasten the elastic straps.
NOTICE
In some cases, adaptation of the portable generator frame is required to create a proper mounting point for the GenTent clamps. Most Westinghouse branded portable generators do not need adaptation. Should you need to adapt your frame, adaption kits are available sep- arately at 781-334-8368.
- One corner needs to be adapted because:
1a. A muffler heat shield or other panel is connected to a frame member that otherwise blocks the GenTent clamp from attaching directly to the proper location.
- Four corners need to be adapted because:
2a. The portable generator uses a square tubular frame that must be adapted to the round openings of the GenTent clamps.
2b. The portable generator is a very small frame and requires length and width extension (see Clamp Adjustment tables on page 9).
2c. Certain small Westinghouse generators whose frame perimeter (length and width not including wheels or handles) is between 68 in. (190.5 cm) and 80 in. (203.2 cm) fall into the small frame category.
PACKAGE CONTENTS
ASSEMBLY
ASSEMBLE AND INSTALL THE GENTENT CLAMPS
To Assemble Clamp Parts (Fig. 1.1)
- Slide telescoping clamp rod into clamp body, insert a molded ring pin to hold the telescoping rod in
- Push carriage bolt through one side of clamp and through the clamp
- Loosely install clamp knob onto carriage The knob can be installed on either side of the clamp; whichever is the least obstructed by the generator frame.
- Retain rubber sleeve refer to step h “Install clamp on generator frame”.
Set Rod Adjustment Pin (Fig. 1.2)
- Measure the length and width of your generator Measure only the outside edge of the vertical frame post to vertical frame post. DO NOT include the measurement of wheels or handles.
- Use the Easy Adjustment Guide to reference the appropriate clamp setting for your GenTent (page 8).
- Match the measured length and width of your generator to the Easy Adjustment Guide to determine the pin set Adjust the telescop- ing rod to the appropriate hole and install the molded ring pin to secure. (Fig. 1.2)

Frame Length (inches)
| 23 | 23.5 | 24 | 24.5 | 25 | 25.5 | 26 | 26.5 | 27 | 27.5 | 28 | 28.5 | 29 | 29.5 | 30 | 30.5 | 31 | 31.5 | 32 | |
| 22.5 | 3 | 3 | 3 | 3 | 3 | 2 | 2 | 2 | 2 | 1 | 1 | 1 | 1 | 0 | 0 | 0 | 0 | ||
| 22 | 4 | 3 | 3 | 3 | 3 | 3 | 2 | 2 | 2 | 2 | 1 | 1 | 1 | 1 | 0 | 0 | 0 | ||
| 21.5 | 4 | 4 | 3 | 3 | 3 | 3 | 2 | 2 | 2 | 2 | 1 | 1 | 1 | 1 | 0 | 0 | 0 | 0 | |
| 21 | 4 | 4 | 4 | 3 | 3 | 3 | 3 | 2 | 2 | 2 | 2 | 1 | 1 | 1 | 1 | 0 | 0 | 0 | 0 |
| 20.5 | 4 | 4 | 4 | 4 | 3 | 3 | 3 | 3 | 2 | 2 | 2 | 2 | 1 | 1 | 1 | 1 | 0 | 0 | 0 |
| 20 | 4 | 4 | 4 | 4 | 4 | 3 | 3 | 3 | 3 | 2 | 2 | 2 | 2 | 1 | 1 | 1 | 0 | 0 | 0 |
| 19.5 | 4 | 4 | 4 | 4 | 4 | 3 | 3 | 3 | 3 | 2 | 2 | 2 | 2 | 1 | 1 | 1 | 1 | 0 | 0 |
| 19 | 4 | 4 | 4 | 4 | 4 | 4 | 3 | 3 | 3 | 3 | 2 | 2 | 2 | 2 | 1 | 1 | 1 | 1 | 0 |
| 18.5 | 4 | 4 | 4 | 4 | 4 | 4 | 4 | 3 | 3 | 3 | 3 | 2 | 2 | 2 | 2 | 1 | 1 | 1 | 0 |
| 18 | 4 | 4 | 4 | 4 | 4 | 4 | 4 | 4 | 3 | 3 | 3 | 2 | 2 | 2 | 2 | 1 | 1 | 1 | 1 |
| 17.5 | 4 | 4 | 4 | 4 | 4 | 4 | 4 | 4 | 3 | 3 | 3 | 3 | 2 | 2 | 2 | 2 | 1 | 1 | 1 |
| 17 | 4 | 4 | 4 | 4 | 4 | 4 | 4 | 4 | 4 | 3 | 3 | 3 | 3 | 2 | 2 | 2 | 1 | 1 | 1 |
| 16.5 | SMALL | 4 | 4 | 4 | 4 | 4 | 4 | 4 | 4 | 4 | 3 | 3 | 3 | 2 | 2 | 2 | 1 | 1 | 1 |
| 16 | SMALL | SMALL | 4 | 4 | 4 | 4 | 4 | 4 | 4 | 4 | 3 | 3 | 3 | 3 | 2 | 2 | 2 | 1 | 1 |
Setting Notes:
0: Use inside frame rod slot on GenTent clamp telescoping rod
Small: Requires frame extension using GTU Frame Adapter
Generator size beyond GenTent fit specification
NOTE: When installing frame rods for settings 2,3 & 4 the frame rod should be put into the outermost hole. Setting 0 and 1 are the same clamp setting, the frame rod hole for setting 0 is the inner one (closest to the generator) and frame rod hole for setting 1 is the outer one (furthest from the generator).
Install Clamp on Generator Frame
- Clamp direct to the generator’s vertical frame post and position the top edge of the rubber sleeve at one of the following positions:
- 9” below where the gas tank meets the frame, or
- 1/2” below the lowest electrical outlet (whichever location is lower on the generator frame).
- Slip rubber sleeve around the vertical frame post, turning
the rubber sleeve so the opening faces away from the generator. (Fig. 1.3) Select installations may not allow the rubber sleeve mouth face outward, this is Ok.
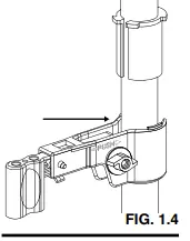
- Push clamp opening straight onto frame, below the rubber sleeve. (Fig. 1.4)

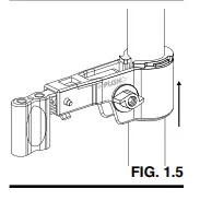
Then slide clamp up and over the rubber (Fig. 1.5) This allows you to install the clamp without pulling the clamp mouth open Position clamp diagonally from generator frame typically at 45
- Tighten the clamp knob, this usually requires only 2-3 full turns once you feel resistance against the clamp
- Repeat procedure on remaining three sides: position clamps at the same
NOTE: Over-tightening the clamp knob should be avoided. If you notice the mouth of the clamp pulling away from the vertical frame post, you have over-tightened, and the knob should be loosened.
INSTALL THE GENTENT FRAME
- Orient the center connector with the vent pin up and position the cen- tral connector to match generator alignment, short and long sides,
- Insert the first frame rod into the center connector, making sure it is seated all the way into the (Fig. 2.1).
FIG. 2.1
Always insert the frame rod into the center connector before inserting it into the clamp.
CAUTION Always grasp frame rods & center connector firmly during installation to avoid the whip- ping motion that can occur if a bent fiberglass rod is mistakenly released.
- Install the frame rods into the center connector in a crisscross Always be sure to grasp the free end of the frame rod firmly. Then bend the free end towards the clamp and insert fully into the correct hole.
- Repeat for remaining frame
- Check the clamps; the frame rods should be fully seated into the (Fig. 2.3)

The clamp may exhibit a slight upward lean; this is due to the force being applied to the clamp by the fiberglass rods.
COVER THE GENTENT
- Grasping the GenTent by the center of the top cap, open the GenTent canopy and place it onto the GenTent frame. Do not pull the open corners of the top cap; these are for ventilation.
- Place the GenTent canopy on the Center the top cap on the center connector pin. (Fig. 3.1)
- Ensure the GenTent canopy coverage is generally equal and
WARNING Never position the refueling door on the same side of the generator as the exhaust muf- fler. Spilled gasoline can result in fire.
- Slide one corner elastic under the clamp telescoping rod and set between the knob and the molded ring (Fig. 3.2)
- Repeat on opposite
- Review and adjust canopy if necessary, to ensure it is
Install the Electrical Panel Apron
- Along the bottom edge of the GenTent canopy is an over-flap. Flip up the overflap from corner to corner above the electrical This will reveal a trim of hook and loop. (Fig. 3.3)
- Center the electrical panel apron in front
FIG. 3.2
of the generator electrical panel and press the apron firmly onto the hook and loop. The apron can be adjusted to the left or right in order that it stays a minimum 4 inches away from the exhaust. Do not block the exhaust!
- Flip the over-flap down and over the electrical This will ensure
water runs over the front of the apron, keeping the electrical outlets dry.
WARNING GenTent canopy must be installed above gener- ator exhaust muffler. Install GenTent electrical panel apron such that it cannot block exhaust in any way.
Refueling Door
The GenTent refueling door is designed to allow you to easily refuel your generator without removing the GenTent. After use, the refueling door must be wrapped around the side and pressed firmly back in place. Failure to reseal the door may allow water to seep into the canopy. (Fig. 3.4)
Proper door sealing technique
- Align the hook and loop at the bottom of the refueling door and press in
- Press the refueling door around the canopy and slide your hands to the bottom while applying pressure to seal the door.
LIMITED WARRANTY
What is Covered
This warranty covers any defects in materials or workmanship of the GenTent® Safety Canopy under normal use in forecast winds up to seventy mph and snow loads up to eighteen inches, with the exceptions stated below.
How Long Coverage Lasts
The warranty runs from the date on your GenTent® order receipt. Warranty period is one (1) year for all Westinghouse branded GenTent models.
What is not Covered
This warranty does not cover issues resulting from improper installation or issues resulting from not adhering to the Warnings and Cautions as stated in this GenTent Product Installation and Safety Manual. This warranty does not cover fading or discoloration caused by exposure to sunlight or chemicals, slight fabric color mismatches, or deterioration due to exposure to chemicals. This warranty does not cover abuse, misuse, or neglect including, but not limited to; lost parts, over tightening clamps, blocking a running portable generator exhaust with parts of the GenTent, or rips, tears or breaksdue to sharp and/or heavy and/or falling objects. This warranty does not cover issues arising because of modifications made to your portable generator or to the GenTent® that have not been specified by the manufacturer.
GenTent products or components returned without an RMA and proof of purchase are not covered (see How to Get Service). Also, consequential, and incidental damages are not recoverable under this warranty. Some states do not allow the exclusion or limitation of inci- dental or consequential damages, so the above limitation or exclusion may not apply to you.
What GenTent Safety Canopies LLC Will Do
During the term of this Warranty, GenTent Safety Canopies, LLC will repair any GenTent canopy or replace any GenTent frame or clamp component that proves to be defective in materials or workmanship. In the event repair of a GenTent canopy is not possible, GenTent Safety Canopies will replace your GenTent canopy with a new GenTent canopy of similar composition and price.
How To Get Service
Contact GenTent Safety Canopies LLC by emailing [email protected], calling 81-334-8368 or writing us at the address below to discuss your Warranty concern. You must provide a copy of the original receipt or packing slip that you received as part of your purchase.
GenTent Safety Canopies, LLC Attn: Customer Warranty Service 99 Pine Road
Brentwood, NH 038
How State Law Applies
This warranty gives you specific legal rights, and you may also have other rights, which vary from state to state.`
REGISTER YOUR PURCHASE –
ACTIVATE YOUR WARRANTY
Complete your registration online at www.gentent.com/westinghouse or fill out this card and mail to:
GenTent Safety Canopies Attn: Product Registration 99 Pine Road
Brentwood, NH 03833
Your Information:
Name:
E-Mail Address:
Address:
City:
State:
Country:
Postal Code:
Phone Number:
Purchase Information:
GenTent Purchase Date: / /
(mm/dd/yyyy) GenTent Purchase Place:
Generator Make:
Generator Model:
In addition to activating your product warranty, registering allows us to keep in contact with you from time to time with important product updates, generator safety tips and special offerings for registered customers. Please note we never share your contact information.
Read More About This Manual & Download PDF:
References
Running Covers for Generators | GenTent Safety Canopies
Installation Library | GenTent Safety Canopies
Installation Library | GenTent Safety Canopies
Installation Library | GenTent Safety Canopies
Westinghouse Registration by GenTent
Westinghouse Outdoor Power Equipment | Westinghouse Outdoor Equipment






























