THE HOME DEPOT FL1584, FL1585 Floor Lamp

Product Information: Floor Lamp
This floor lamp is made in China and comes with a lampshade, top metal frame, short screws, hex tool, and other hardware required for assembly. It is designed to be used with light bulbs that have an E26 (medium) base and has a specified wattage limit that should not be exceeded.
Important Safety Instructions
Before using the floor lamp, please read and follow the important safety instructions below:
- Save these instructions for future reference.
- Do not use light bulbs that exceed the specified wattage limit.
- Do not discard any contents until after assembly is complete to avoid accidentally discarding small parts or hardware.
- Take extra care not to damage parts during assembly.
- Keep the lamp away from flammable materials and do not use in wet conditions.
- These instructions are provided for your safety.
Please read carefully and completely before beginning the assembly and installation of this lighting fixture. - This lighting fixture is intended for indoor use only.
- Always place lighting fixture on a solid, level surface.
- For use with E26 (medium) base light bulbs only.
- To avoid the risk of fire, do not exceed the maximum wattage of 100W incandescent bulb , or 9W LED bulb , or 23W fluorescent (CFL) bulb , or 9W self-ballasted LED bulb .(Bulbs not included)
- This lighting fixture has a polarized plug (one prong is wider than the other) as a safety feature to reduce the risk of electric shock. This plug will fit in a polarized outlet only one way. If the plug does not fit fully into the outlet, reverse the plug. If it still does not fit, contact a qualified electrician. Never use with an extension cord unless plug can be fully inserted. Do not alter the plug. Do not attempt to bypass this safety feature.
WARNINGS:
- To reduce the risk of fire, electrical shock, or personal injury: always turn off and unplug this lighting fixture and allow it to cool before attempting to replace the light bulb.
- Do not touch light bulb while fixture is turned on.
- Keep flammable materials away from this lighting fixture.
- Never look directly at a lit bulb.
Product Usage Instructions
Follow the steps below to assemble and use the floor lamp:
Pre-Assembly
Before assembling the lamp, carefully remove all parts and hardware from the carton, along with any protective plastic packaging.
- Begin with lamp laying on a soft, flat surface.
- Attach the lampshade (A) to the top metal frame (B) and secure using short screws (C). Tighten using hex tool (D). Be careful not to overtighten.
- Attach the bottom metal frame (G) to the lamp rod (E) and secure using screws (F).
- Insert the lamp rod (E) into the top metal frame (B).
- Attach the base (J) to the bottom metal frame (G) using screws (K).
- Attach the lamp switch (L) to the lamp rod (E) and secure using screws (M).
- Insert the lamp plug (N) into the lamp socket (P).
- Insert a light bulb with an E26 (medium) base into the lamp socket (P).
- Plug the lamp into a power outlet and turn on the switch to use.
Carefully remove all parts and hardware from carton, along with any protective plastic packaging. Do not discard any contents until after assembly is complete to avoid accidentally discarding small parts or hardware. For use with light bulbs with a E26 (medium) base. DO NOT EXCEED THE SPECIFIED WATTAGE. Begin with lamp laying on a soft, flat surface, taking extra care not to damage parts.
NOTE: This illustration is for parts identification/orientation purposes only. For assembly, see following pages.
Note: Do not touch the lamp or light bulb with wet hands or while the lamp is in use. Allow the lamp to cool before replacing a light bulb.
Begin with lamp laying on a soft, flat surface, taking extra care not to damage parts.
Attach the lampshade (A) to the top metal frame (B) and secure using short screws (C). Tighten using hex tool (D). Be careful not to overtighten.
Screw top internal support rods (E, F) into the top metal frame as shown and tighten firmly by hand.
Slide top metal posts (G, H) over top internal support rods (E, F) and attach firmly to top metal frame (B).
Screw bottom internal support rods (J, K) to the top internal support rods (E, F) and tighten firmly by hand.
Slide bottom metal posts (L, M) over bottom internal support rods (J, K) and attach firmly to top metal posts (G, H).
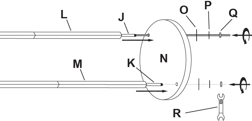
Carefully slide the base (N) over the bottom internal support rods (J, K) and secure using the large washers (O) and locking washers (P) and tighten the nuts (Q) to the support rods using the wrench tool (R).
With the help of an assistant, carefully stand the floor lamp into an upright position.
CARE INSTRUCTIONS:
- Unplug lamp before cleaning.
- Wipe clean with a soft, dry cloth or static duster.
- Always avoid the use of harsh chemicals or abrasive cleaners as they may cause damage to the fixture’s finish
- Wipe clean with a soft, dry cloth or static duster.
- Always avoid the use of harsh chemicals or abrasive cleaners as they may cause damage to the lamp’s finish.














