INGRID-1FLR Ingrid 3 Light Floor Lamp
Assembly & Care Guide
INGRID-1FLR Ingrid 3 Light Floor Lamp
The model number of your lighting is printed on the side of your carton.
Always use this number to identify your lighting.
Thank you for your purchase of this quality lighting. With proper use and care, your lighting will provide you with years of use. Please follow the instructions on how to install your lighting. If you should have any problems with your lighting DO NOT return it to the place of purchase. Please call our toll free number: 877-397-5144 and a customer service representative will assist you.
Please read all instructions completely before installing your lighting.
NOTE: It is recommended to contact a licensed electrical contractor for installation.
WARNING: To reduce the risk of fire, electric shock, or personal injury:
- Turn off /unplug lamp and allow to cool before replacing bulb.
- Do not touch bulb when fixture is turned on.
- Do not look directly at lighted bulb.
- Keep materials that burn easily away from lighted bulb.
CLEANING:
Use only soft cloth to dust and clean fixture. Never use chemicals or abrasive cleaners as it may damage finish.
ASSEMBLY INSTRUCTIONS:
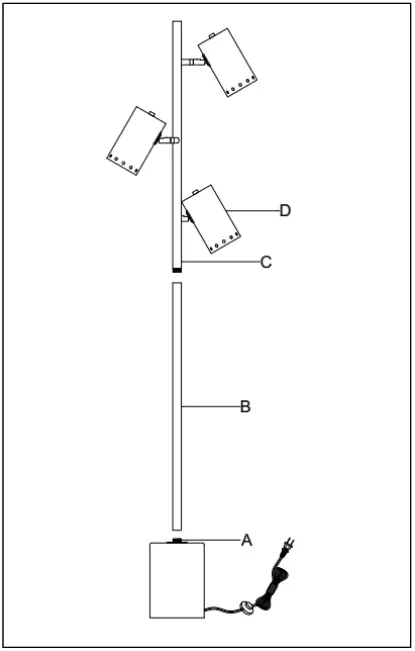
- Carefully unpack and take out the parts as picture shown.
- Insert column (B) vertical into the base (A) tightly. then insert column assembly (C) into column (B) tightly.
- Adjust the direction of the shade (D).
- Install the bulb into the socket. (Bulb not included)
Note: 120V/60W

1-Year Limited Warranty
“Limited” Warranty Program
For a period of one (1) year after purchase, Hanover Products (“Manufacturer”) will either repair or replace defective components in accordance with this Limited Warranty.
Sales and use taxes, plus shipping and handling charges are the responsibility of the consumer.
This warranty is between Manufacturer and the original purchaser and is valid only when accompanied by the original purchaser’s sales receipt showing original date of purchase and location of purchase. Replacements under this warranty revert back to the date of original purchase for future warranty.
Manufacturer or its authorized dealer can accept or reject warranty claims based on its findings. This warranty applies in normal residential use only, where an issue with the product is due to a defect in material or workmanship. Manufacturer can make substitutions as required of materials, components, and sub-components of comparable value and utility. This warranty is limited to product repair or replacement (to be determined solely by Manufacturer). Warranty return is limited to only the single affected component.
This warranty covers only manufacturing defects and does not cover normal wear and tear, abuse or misuse, including: water damage, chemical damage, exposure to extreme heat or cold or abrasion. This warranty is invalid if the product is not used for intended
purpose. Manufacturer disclaims liability for any aspect of installation and any inconvenience caused by a defective part of a
component.
Certain items are not covered by this warranty. These include, but are not limited to the following:
- Components subjected to abuse, including abuse intended to simulate failure.
- Damages caused by retailer, shipper or installation crew (such as scratches, dents, tears, breaks, etc.).
- Any part which merely exhibits normal wear yet functions essentially as new.
To make a claim, send a copy of the original sales receipt along with a brief description of the problem to the email address below. Please include your email address and daytime telephone or cell phone #. All items will be charged actual freight costs plus $15 for handling. Repairs or replacement will be made at the Manufacturer’s option.
THIS IS THE ENTIRE EXCLUSIVE EXPRESS LIMITED LIABILITY. THE MANUFACTURER NEITHER MAKES NOR IS RESPONSIBLE FOR ANY OTHER WARRANTIES, EITHER EXPRESS OR IMPLIED, INCLUDING THOSE OF RETAILING DEALERS. THIS EXCLUSIVE REMEDY IS LIMITED TO RECEIPT OF A CREDIT IN CONNECTION WITH THE REPAIR OR REPLACEMENT OF ANY PRODUCT OR COMPONENT DEEMED TO BE DEFECTIVE UNDER THE TERMS AND CONDITIONS AS STATED IN THIS WARRANTY. NEITHER AF LIGHTING, THE PRODUCT MANUFACTURER NOR ITS AGENTS SHALL BE LIABLE IN ANY CASE FOR INCIDENTAL, INDIRECT, SPECIAL OR CONSEQUENTIAL DAMAGES RESULTING FROM THE USE OF THIS PRODUCT OR ARISING OUT OF ANY BREACH OF THIS WARRANTY OR NEGLIGENCE EVEN IF IT HAS BEEN ADVISED OF THE POSSIBILITY OF SUCH DAMAGES. EXCEPT AS OTHERWISE MAY BE REQUIRED BY LAW, THERE ARE NO OTHER EXPRESS OR IMPLIED WARRANTIES OTHER THAN THE WARRANTY DESCRIBED HEREIN, AND ALL OTHER WARRANTIES, INCLUDING ANY IMPLIED WARRANTY OF MERCHANTABILITY OR FITNESS FOR A PARTICULAR PURPOSE ARE EXPRESSLY DISCLAIMED.
Contact Warranty Services at:
1-877-397-5144 or
[email protected]
12/1/2021














