Meyer Cross FL1579 63 inch Floor Lamp

PRODUCT INFORMATION
Save these instructions. Please read carefully and completely before beginning the assembly and installation of this lighting fixture.
Warnings:
- Make sure the assembly is done on a level and soft surface (such as blankets) to prevent damaging the parts during assembly.
- For use with light bulbs with an E26 (medium) base. Do not exceed the specified wattage.
Care Instructions
Do not use any abrasive cleaning agents or solvents as they may cause damage to the fixture’s finish.
Pre-Assembly
- Carefully remove all parts and hardware from carton, along with any protective plastic packaging.
- The lampshade may be covered with a plastic film that should be removed before use.
- Do not discard any contents until after assembly is complete to avoid accidentally discarding small parts or hardware.
- Part A (Finial) may come pre-installed to Part C (Harp Top). Unscrew Part A before installing Part B (Lampshade), then reinstall Part A to secure.
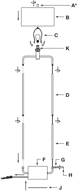
Parts Included
- (A*) Finial
- (B) Lampshade
- (C) Harp Top
- (D) Middle Posts
- (E) Bottom Posts
- (F) Base
- (G) Attachment Screws
- (H) Tool
- (J) Cover
- (K) On/Off Switch
Usage Instructions
- Make sure the assembly is done on a level and soft surface (such as blankets) to prevent damaging the parts during assembly.
- Begin assembly at the top and work down. Be careful not to strip threads. Install lampshade last.
- Carefully pull the power cord out from the base (F) to remove slack.
- For use with light bulbs with an E26 (medium) base. Do not exceed the specified wattage.
- The on/off switch is located on the cover (K).
IMPORTANT SAFETY INSTRUCTIONS
- These instructions are provided for your safety.
Please read carefully and completely before beginning the assembly and installation of this lighting fixture. - This lighting fixture is intended for indoor use only.
- Always place lighting fixture on a solid, level surface.
- For use with E26 (medium) base light bulbs only.
- To avoid the risk of fire, do not exceed the maximum wattage of 100W incandescent bulb
, or 9W LED bulb
, or 23W fluorescent (CFL) bulb
, or 9W self-ballasted LED bulb
.(Bulbs not included) - This lighting fixture has a polarized plug (one prong is wider than the other) as a safety feature to reduce the risk of electric shock. This plug will fit in a polarized outlet only one way. If the plug does not fit fully into the outlet, reverse the plug. If it still does not fit, contact a qualified electrician. Never use with an extension cord unless plug can be fully inserted.
Do not alter the plug. Do not attempt to bypass this safety feature.
WARNINGS:
- To reduce the risk of fire, electrical shock, or personal injury: always turn off and unplug this lighting fixture and allow it to cool before attempting to replace the light bulb.
- Do not touch light bulb while fixture is turned on.
- Keep flammable materials away from this lighting fixture.
- Never look directly at a lit bulb.
CARE INSTRUCTIONS
- Unplug lamp before cleaning.
- Wipe clean with a soft, dry cloth or static duster.
- Always avoid the use of harsh chemicals or abrasive cleaners as they may cause damage to the fixture’s finish
PRE-ASSEMBLY
- Carefully remove all parts and hardware from carton, along with any protective plastic packaging. The lampshade may be covered with a plastic film that should be removed before use.
- Do not discard any contents until after assembly is complete to avoid accidentally discarding small parts or hardware.
MAKE SURE THE ASSEMBLY IS DONE ON A LEVEL AND SOFT SURFACE (SUCH AS BLANKETS) TO PREVENT DAMAGING THE PARTS DURING ASSEMBLY.
PARTS INCLUDED

- (A*) Finial
- (B) Lampshade
- (C) Harp Top
- (D) Middle Posts
- (E) Bottom Posts
- (F) Base
- (G) Attachment Screws
- (H) Tool
- (J) Cover
- (K) On/Off Switch
Carefully pull the power cord out from the Base (F) to remove slack.
For use with light bulbs with a E26 (medium) base.
DO NOT EXCEED THE SPECIFIED WATTAGE.
SAFETY INSTRUCTION
- BEGIN ASSEMBLY AT THE TOP AND WORK DOWN.
- BE CAREFUL NOT TO STRIP THREADS.
- INSTALL LAMPSHADE LAST.

















