MEYER CROSS FL1600 Josephine 62 Inch Brushed Nickel and White Floor Lamp

Product Information: Floor Lamp
The Floor Lamp is a lighting fixture made in China, consisting of several parts including a base, bottom post, center post, top post, on/off switch/socket, harp top, shade, and finial. It is designed for use with light bulbs with an E26 (medium) base and has a specified wattage limit that should not be exceeded to avoid damage to the fixture’s finish.
Product Usage Instructions: Floor Lamp Assembly
- Pre-Assembly: Carefully remove all parts and hardware from the carton along with any protective plastic packaging. Note that the lampshade may be covered with a plastic film that should be removed before use. Do not discard any contents until after assembly is complete to avoid accidentally discarding small parts or hardware.
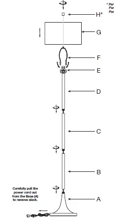
- Begin assembly at the base on a solid, flat surface. Make sure not to strip threads.
- Carefully pull the power cord out from the base (A) to remove slack.
- Attach the bottom post (B) to the base (A).
- Insert the center post (C) into the bottom post (B).
- Attach the top post (D) to the center post (C).
- Attach the on/off switch/socket (E) to the top post (D).
- Attach the harp top (F) to the top post (D).
- Unscrew Part K before installing Part G (Lampshade), then reinstall Part H to secure.
- Attach the shade (G) to the harp top (F).
- Install the finial (H) last to secure the lampshade.
Note: Part H (Finial) may come pre-installed to Part F (Harp Top). If so, unscrew Part K before installing Part G (Lampshade), then reinstall Part H to secure.
IMPORTANT SAFETY INSTRUCTIONS

- These instructions are provided for your safety. Please read carefully and completely before beginning the assembly and installation of this lighting fixture.
- This lighting fixture is intended for indoor use only.
- Always place lighting fixture on a solid, level surface.
- For use with E26 (medium) base light bulbs only.
- To avoid the risk of fire, do not exceed the maximum wattage of 100W incandescent bulb
, or 9W LED bulb
, or 23W fluorescent (CFL) bulb
, or 9W self ballasted LED bulb
.(Bulbs not included) - This lighting fixture has a polarized plug (one prong is wider than the other) as a safety feature to reduce the risk of electric shock. This plug will fit in a polarized outlet only one way. If the plug does not fit fully into the outlet, reverse the plug. If it still does not fit, contact a qualified electrician. Never use with an extension cord unless plug can be fully inserted.
Do not alter the plug. Do not attempt to bypass this safety feature.
WARNINGS:
- To reduce the risk of fire, electrical shock, or personal injury: always turn off and unplug this lighting fixture and allow it to cool before attempting to replace the light bulb.
- Do not touch light bulb while fixture is turned on.
- Keep flammable materials away from this lighting fixture.
- Never look directly at a lit bulb.
CARE INSTRUCTIONS
- Unplug lamp before cleaning.
- Wipe clean with a soft, dry cloth or static duster.
- Always avoid the use of harsh chemicals or abrasive cleaners as they may cause damage to the fixture’s finish
PRE-ASSEMBLY
Carefully remove all parts and hardware from carton, along with any protective plastic packaging. The lampshade may be covered with a plastic film that should be removed before use.
Do not discard any contents until after assembly is complete to avoid accidentally discarding small parts or hardware.
* Part H (Finial) may come pre-installed to Part F (Harp Top). Unscrew Part K before installing Part G (Lampshade), then reinstall Part H to secure.
PARTS INCLUDED
- Base
- Bottom Post
- Center Post
- Top Post
- On/Off Switch/Socket
- Harp Top
- Shade
- Finial
For use with light bulbs with a E26 (medium) base.
DO NOT EXCEED THE SPECIFIED WATTAGE. BEGIN ASSEMBLY AT THE BASE ON A SOLID, FLAT SURFACE. BE CAREFUL NOT TO STRIP THREADS. INSTALL LAMPSHADE LAST.




















