danfoss JIP-Hot Tapping Machine Toolbox

Safety Instructions
The user is well adviced to follow the safety instructions given in this manual. No warranty is given for incorrect usage of the equipment or applications outside the scope of the If any questions occur or if you are unsure about certain aspects regarding the Danfoss hot tapping machine toolbox, please don’t hesitate to contact local Danfoss for support.
General Safety Requirements
In the following chapters, the general and specific saftey instructions for the Danfoss hot tapping machine toolbox are given and explained. The user is well adviced to read, understand and follow these instructions carefully. Only qualified and trained person is allowed to execute hot tapping works with the Danfoss hot tapping tool. Among the operators, there should be a control system to ensure that the skills and knowledge of the right operation procedures are known and respected by all the working person taking part in hot tapping works. This user manual has to be always available during the drilling works. It is not allowed to use the device outside the application area described in this user manual without the permission of hot tapping toolbox device manufacturer Danfoss. Be aware that additional requirements can be given at the specific worksite.
For a safe usage of the equipment is essential to take the following general points into account. Never use the machine without being aware of the hazards. Take all the aspects from this user manual and additional requirments into account.
- The staff must have the adequate skills and training in all the necessary phases of the hot tapping work as well as in handling the equipment in question.
- Make sure that you always have a copy of this user manual with you which is available during the hot tapping process.
- The Instruction may be downloaded from the manufacturer’s website http://www.danfoss.com
- The application area for this device is limited to water-based liquid fluids of fluid group 2 according to PED 2014/68/EU.
- The system parameters shall never exceed 200 °C and/or 40 bar of pressure. See chapter 3 regarding the max temperature and pressure this device can be used.
- It is recommended to reduce the pressure in the system to 12 bar during the operation.
- Make sure that the chosen adapter including sealings is suitable for the system pressure, fluid type and temperature.
- Always make sure that the equipment is not damaged before starting the hot tapping process. Only equipment in excellent condition shall be used.
- Only use original Danfoss spare parts for your own safety.
- Wear ear protection and a helmet.
- Wear suitable work clothes.
- Do not wear loose clothing or jewellery as they can be caught in moving parts.
- For the protection from hot fluid, wear heat resistant clothes, gloves and safety glasses.
- Any technical change at the hot tapping machine is not allowed.
- Take the general accident prevention regulations into account.
- Take the instructions for motor driven machines into account.
- Consider the hazards from electric current and rotating parts attachment A1.
- The electric drive shall never get wet.
Safety Requirements at the Worksite
The following aspects have to always be checked at the workside before using the Danfoss drilling device. For drillings in district heating pipelines in Germany, the AGFW directive 432 has to be considered.
- Always make sure that it is possible to close the chosen Hot Tap valve.
- If the shutting mechanism cannot be closed, the only way to remove the drilling device is to empty the main line.
- Double check the size of the used hole saw and pilot drill. Check that the valve closes after the machine is assembled.
- Familiarize yourself with the Danfoss data sheet for the chosen valve type
- Make sure that the technical parameters (pressure, temperature, fluid) in the system are not exceeding the allowed values for the specific application
- Check that the device is assembled correctly as shown in this user manual
- Always make a pressure test to discover possible leakages at the shut-off valve and/or the drilling device
- Make sure that all the rotating parts move freely
- Inspect the device according to the inspection plan.
- Unauthorized persons should not be present at the worksite during hot tapping
- Check the location of the closest network shut off valve at the worksite
- Make sure you know all emergency contacts.
- This concerns the contact persons on the site, the contact to the device manufacturer TONISCO System (http://www.tonisco.com) and the local emergency services
- Do the visual check of the worksite and take all the necessary measurements.
- Clean the work environment from all unnecessary objects.
- Consider the space needed for shaft removal after drilling
- Make sure that all the necessary tools and equipment is available while drilling e.g. chain block at high pressures.
Special Risks
Release of Hot Water or Steam
Hot water or steam may escape the system due to mishandling. Make sure to wear prescribed safety equipment when working with hot tapping machine.
When releasing the pressure from the drilling device, make sure to keep a sufficient distance between you and the release hose. Always wear heat resistant safety gloves when removing the drilling machine from the valve.
Hazards from Rotating Parts
Note that the drill shaft and drive components rotate during drilling. Be aware of the changes in the torque at the shaft due to the varying cutting forces.Take a fixed stand and turn the feed slowly. If the hole saw gets stuck during the drilling, reduce the feeding speed or turn the wheel slightly backwards until the hole saw can be rotated again.
Hazards Caused by the Pressure in the Pipeline
Most of the time, there is pressure present in the pipeline that is being drilled. It is recommended to reduce the pressure in the system to 12 bar during the operation.
If the pressure in the mainline is > 12 bar it is highly recommended to use the chain block for a safe release of the drilling shaft. This part is not included in the toolbox but can be purchased from Danfoss as an accessory.
Requirements for the Operator
The hot tapping device may only be operated by persons who are trained, instructed and authorized to use it. Operator must know the operating instructions and act accordingly.
The Significance of the Symbols used Safety
WARNING
Warns of possible serious injury or death. if instructions are not monitored.
CAUTION
Displays possible personal injury or damage, if the instructions are not monitored.
Description Danfoss Hot Tapping Machine Toolbox
Area of Use

The Danfoss hot tapping device is intended to accomplish new pipeline branches under pressure in water-based heating and cooling systems at branch dimensions DN15 – DN100. The Danfoss drilling device body is designed for maximum pressure of 40 bar and can be used as described in the table on the right for the class PN40. However, for a pressure >12 bar additional safety requirements have to be considered when releasing the shaft or adjusting the feed.
Danfoss Hot Tapping Toolbox specifications
Device body contains the EPDM sealings. In Danfoss toolbox, an electric drive unit is included. This user manual focuses on the electric drive unit Metabo BE1100 with following technical specifications
| Name of Drilling Device | Metabo BE 1100 |
| Body Material | 42CrMo4 |
| Product Number | 1200.0000 |
| Marking | Bxx xx= Id. for Month, Year |
| Category acc PED 97/23/EG | 1 |
| Branch Dimension | DN 15 to DN 100 |
| Area of Use | Water Based Heating and Cooling Systems |
| Agregate State of the Fluid | liquid |
| Max Working Pressure | 40 bar |
| Recommended max Pressure | 12 bar |
| Test Pressure | 60 bar |
| Max Working Temperature | 160 °C |
| Min Working Temperature | 0 °C |
| Sealings | EPDM |
| Drill Shaft | hardened steel Ø20 mm |
| Weight Without Drive | 5,4 kg |
| Feed Distance Feed Wheel | 50 mm |
| Maximum Feed Distance | 150 mm |
JIP Hot Tapping Machine Toolbox

Danfoss JIP Hot Tap Valves for Hot tapping
The drilling device should be used to drill Danfoss JIP Hot Tap Ball Valves in a range from DN15 to DN100 and in water based heating and cooling systems. A connection between the machine body and the valve is realized by threaded adapter pieces. Some adapter pieces are used for more than one nominal size by using adapter reduction
socket. All adapters are designed to be used only for Danfoss JIP Hot Tap Valves. Keep in mind to control the allowed pressure and temperature acc. chapter 3.1 and following Danfoss JIP Hot tap ball valves data sheet.

| Standard valve versions | |||||||||
| DN | mm | 15/20 | 25 | 32 | 40 | 50 | 65 | 80 | 100 |
| PN | 40 | 25 | |||||||
| Hole saw diameter | mm | Ø15 | Ø24 | Ø24 | Ø40 | Ø40 | Ø48 | Ø65 | Ø79 |
| Code No. | 065N0050 | 065N0051 | 065N0052 | 065N0053 | 065N0054 | 065N0055 | 065N0056 | 065N0057 | |
| Tool box Code No. | 065N1021 | – | |||||||
| 065N1003 | 065N1004 | ||||||||
| 065N1002 | |||||||||
![]() OEM valve versions | ||||
| DN | mm | 20 | 25 | 40 |
| PN | 40 | |||
| Hole saw diameter | mm | Ø19 | Ø32 | |
| Code No | 065N0070 | 065N0071 | 065N0072 | |
| Tool box Code No | 065N1022 | 065N1023 | ||
Depending on the valve length the shaft has to be adjusted. The recommended way to find the correct shaft lengths is shown in the pictures below
- At first, push the shaft forward so that the pilot drill touches the pipe.
- Measure the lengths between the lower shoulder of the shaft and the upper device.
- The measured distance should be between 100 – 170 mm.
- Adjust the length of the shaft if necessary.
- The feeding distance is recommended to be at least 35 mm

Operational Instructions
Branch Preparations before the Hot Tapping
Before the drilling process can start, the branch of the decided dimension has to be prepared. Keep in mind that the branch size should be at least one nominal size smaller than the main line.
Removing the insulation
If the main line is insulated, remove the insulation and clean the pipe surface. Remove the insulation far enough in order to have sufficient space for the welding. The feeding distance is recommended to be at least 35 mm.
Adjusting the Hot Tap Valve

Adjust the lower end of Danfoss Hot Tap Valve to the round of the main line using a grinding machine. It is important that the valve is handled in a proper way to prevent grind or other foreign particles to get into to valve. It is suggested that you insert a rag to prevent damage of internal parts. Before welding, the rag must be removed. The valve has to be fully open during the adjustment.
Welding of the Hot Tap Valve to the Main Line
The hot tap valve can be welded on to the pipe in every possible direction, but the angle between the center line of the main pipe and the valve axis must be 90°. The valve has to be welded by certified welder. Welding technology electric arc welding or TIG welding, with low current as possible. Ensure surface along joint line is free of oxides and
grease. Make sure that no welding material enters the valve. Valve need to be welded to the main pipe by single run closed fillet weld. Avoid multiple run fillet welding to prevent overheating and potential weld cracks. The ideal relation between the weld throat thicknes and wall thickness of both welding parts need to be considered.

Before welding, check the closing mechanism of the valve. During welding the ball valve must be open. The valve has to be welded on by electric arc welding. Make sure that no particles are entering the valve.

WARNING
Avoid multiple run fillet welding elding end thickness to prevent overheating.
Assembly of the Drilling Device
Danfoss Hot tapping machine is delivered in a box, including all the items plus additional tools for disassembly and pressure tests.
Assembly of the Shaft for hole saws > 32mm
A proper hole saw 3 for the dimensionaccording to chapter 3.3 shall be chosen. It shall be connected winding clockwise to the drill chuck 4. When connected, it shall be released so much that the closest turning pins can be pushed through the holes F at the bottom of the hole saw. The drill chip magnet 2 can be put around the pilot drill 1 the drill is pushed to the hole of the chuck aligning the groove B and the screw A. Finally, the drill is locked by tightening the screw A. The drill chuck shall be connected on the top of the drilling shaft 5 or, if used, the shaft extension 7. If the valve should be so long that the shaft length would not be long enough to enable the drilling, the useable shaft length can be extended by the feed extension socket 6 at the end ot the shaft or by adding shaftextensions 7 at lower end of the drilling shaft 5.
CAUTION
Make sure that the drilling shaft is screwed in completely so that chuck pins 8 are alining with the chuck bottom.
NOTICE
Check that the pilot drill is neither too big no too small for the used hole saw. A too long pilot drill increases the feeding distance unnecessarily while a too short drill doesn’t provid.
Assembly of the shaft for hole saws < 32 mm


For hole saws <32mm and >24mm use the small chuck 8. The smallest chuck 9 should be used for hole saws <20mm. Screw the hole saw 3 to the chuck 8 or 9 depending on the hole saw size. The magnet 2 has to be put around the pilot drill 1 and pushed into the hole of the chuck 8 or 9. The groove in the pilot drill 1 has to be alligned to the screw G. Attach the assembly to the shaft 5. Use shaft extensions 7 or the socket 6 if necessary.
Assembly of the Danfoss JIP Adapter Socket

The Danfoss JIP Hot Tapping Adapters are delivered in a tool box including all the sizes from DN 15/20 to DN 100. For the sizes DN 25 as well as for DN40 reduction sockets have to be added to adapter of the next size.
Assembly of the Device to the Hot Tapping Valve
The adapter has to be connected to the thread of the valve by first winding with hand and tightening it tenderly using the wrench. Because the tightening O-ring, it is not necessary to use much force while connecting the parts. Prior connecting the adapter to the valve, a proper central drill hole saw, chuck and drill shaft have to be assembled together when all parts have been screwed on, test that it is still possible close the valve. Dismantle the machine and adjust it again if the valve cannot be closed.
Remember to FULLY open the valve after that


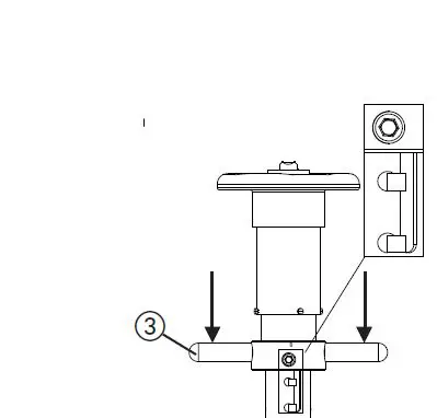
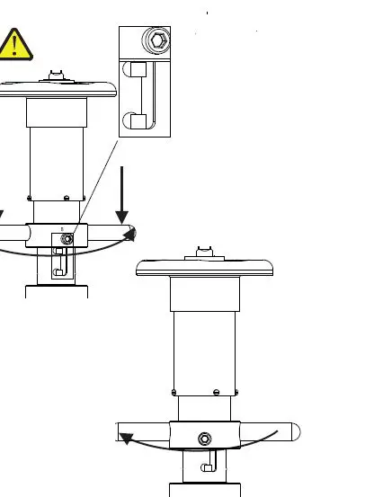
Installing the Feed Unit

The feed device 7 is used to create a feed force for the drillling. The feed thread has to be winded to back position completely by turning the feed wheel 8 counter clockwise.
The adjusting socket 9 shall be connected by first alignig the grooves and the guide screws A and there after slided to the closest locking groove B at the machine body. The excessive clearance is removed by turning the feed wheel 8 clockwise. Measure the feed distance as described in chapter 3.3 and adjust it by shaft or feed extensions if possible.
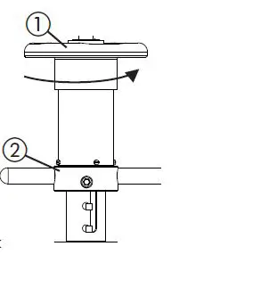
Installing the Driving Unit
The shaft square shall be aligned with the drive square hole and then connected and locked using the connecting screw. The right rotating speed is chosen for the drilling according the table below. For the pilot drill the maximum rpm is suitable. An arrow on the left side of the machine pointing upwards indicates the proper clockwise rotating direction.
Warning
The drive must never run counter clockwise since the drill shaft connecting thread may open and the drill chuck can be lost causing a severe hazard of hot water leaking from the shaft opening.
Turning Speeds for Drilling in Steel Pipes
Metabo BE 1100 drilling machine settings shown in the table below. Recommended turning speeds based on the manufacturers long term experience. At the beginning of the drilling operation and at the end of drilling operation the cutting forces may vary highly so one must be prepared to change the settings.
| Valve size | Turning speed drilling shaft [rpm] | Turning speed electric drive [rpm] | Setting | Setting |
| DN 15 / 20 | 115 | 1600 | 9 | 1 |
| DN 32 / 25 | 80 | 1100 | 9 | 1 |
| DN 50/40 | 80 | 1100 | 9 | 1 |
| DN 65 | 55 | 750 | 8 | 1 |
| DN 80 | 55 | 750 | 8 | 1 |
| DN 100 | 55 | 750 | 8 | 1 |
| Pilot Drill | 200 | 2800 | 9 | 2 |
The Hot Tapping Process
After the machine is assembled, all the connections shall be checked and controlled. The user can continue with the following steps after that.
Pressure Test
Prior the actual branching a pressure test must be conducted to ensure the tightness of both the welding seams of the valve and the drilling equipment.

A hose 1 of cold water or pressurized air is connected to the coupler of the body. The control cock 2 is opened to let the pressure in. If desired, close the control cock 2 and mount the pressure gauge 3 in order to monitor a possible fall of pressure. After the test, the test fluid is released through the same control cock 2. In case of an occuring leakage, it is not allowed to start the drilling process until the failure is eliminated.
Starting the Driling Process

The drilling process starts by creating a center hole with the pilot drill.The maximum rpm is chosen from switches and The feed is started lightly by very slowly turning the feed wheel clockwise. Feed very slowly in the beginning to ensure a goodcentering of the central drill. A penetration of the pilot drill through the main pipe wall can be observed by observing the pressure meter7. Raising of the needle indicates the penetration. An adequate feed using the max. rpm must be continued until the pilot drill gets through the wall of the main line. After the pilot drill is through, the turning speed for the hole saw has to be adjusted. Start the feeding with the hole saw carefully and keep
a fixed stand. Extra caution must be pointed to cope the reaction forces. Pull the machine compensate the force. When the drilling advances, the feed rate can be slightly accelerated until at the end of the drilling The final penetration of the main pipe wall can be confirmed by pushing the shaft forward firmly without turning shaft. When it advances, the hole must be free.
CAUTION
The drive must never be locked to continuous run, since the variations of machining forces may cause an unexpected lost of control of the drive and thus cause
severe damage to the operator. Be aware of the reaction forces from the cutting.
WARNING
The drive and the shaft must always turn CLOCKWISE. Accidental opening of the connecting threads of the shaft may cause severe damage to the operator. NEVER use lever tools at the feeding wheel and feed very carefully. When the hole saw gets stucked, stop feeding or turn the saw a little bit backwards. Continuefeeding slowly.
Adjusting the Feed
If the feed extent runs out and feed wheel 1 can not be turned anymore, the adjusting socket 2 must be released and locked to a lower groove. If the pressure is >12 bar, use the chain block for this operation. At first, switch of the driving unit. Screw the feed wheel 1 counter clockwise. Don’t unscrew it too much as the hook of the pilot drill might break.


Grip the adjusting handles 3 and push them firmly forward.Turn the adjusting socket 2 until it can be released. Push the adjusting socket down in the direction of the next groove. Continue to turn the feed wheel 1 counter clockwise until the next groove can be reached. Lock the adjusting socket 2 to the next groove by turning it clockwise.
Warning
If you are unsure about the forces acting on the shaft while releasing it, use the chain block for this operation. From the manufacturers experience, it is advisable to use it at a pressure >12 bar.
Releasing the Feed Unit
After finishing the drilling, the drive shall be released from top of the assembly. In lower pressures, this can be done by hand. For higher pressures >12 bar it is highly recommended to use the chain block. Both of the the adjusting handles 3 shall be gripped, pushed forward and simultaniously turned counterclockwise to release the adusting socket The socket can now be reversed by sliding the power screws completely off from the drill body. Release the shaft completely. The chuck inside the drilling
chamber stopps the shaft from comming out.
Warning
If you are unsure about the forces acting on the shaft while releasing it, use the chain block for this operation. From the manufacturers experience, it is advisable to use it at a
pressure >12 bar.

Closing the Valve and Releasing the Pressure
The valve has to be closed completely by turning the ball using proper allen key and turning it 90 degrees ince the ball in the hot tap valve has no automatic stop, you may have to adjust the position of the ball until it is in correctly closed position. The tightness can be controlled by opening the control cock. Connect the hose to the control cock and open it to release the pressure.
CAUTION
Keep enough distance to the hose while releasing the pressure to protect yourself. Make sure the valve is completely closed.
Disasembling of the Machine

The machine is dissasembled in the oposite order. At the end, the cut out piece shall be removed. The pilot drill is loosened by opening the retainer screw using the proper allen key. The central drill is pulled out and the coupon i removed around the drill stem. The drill chips are cleaned from the gathering magnet.
Creating the New Branch


For creating the new branch, follow the valve manufacturers instructions carefully. When the Hot Tapping has been acomplished, the new line can be connected to the Danfoss hot tap valve by electric arc welding. During that operation, make sure that the sealings inside the valve are not overheating. After the welding and when the line is approved to
start operatiing, open the valve first very slowly. Open the valve COMPLETELY afterwards. After the valve is completely open, screw the top plug. It is recommended to weld the plug to the valve neck by single run closed fillet weld. Fill the gap between top plug and valve neck completely. Avoid multiple run fillet welding to prevent overheating.
Maintanance Plan and Spare Part List
Before and after every hot tapping, the whole device should be visually inspected and maintained. Don’t start the drilling work without inspecting the device before. Never start the drilling if any damages are observed. If any technical problems occur don’t hesitate to contact the manufacturer Danfoss. The following parts have to be inspected regarding their condition before every drilling
| Central Drill | Inspect the central drill regarding its ability to cut .Change the drill if necessary. |
| Sealings | Clean the sealings and inspect them regarding damages. Change them if necessary. Lubricate them with sealant before using the device. |
| Hole Saw | Inspect the hole saw regarding its ability to cut .Change the hole saw if necessary. |
| Shaft | Inspect the shaft concerning surface damages. Check the connection threads. Store the shaft properly and avoid droping it. |
| Bearings | Visual check the condition of inner bearing surface |
| Thread of the feed wheel | Check that the feeding wheel is going smoothly. |
| Whole Device | Clean the device after each use and inspect it regarding visual damages |
In case that major damages of the device are observed, please contact the manufacturer Danfoss.
PARTS OVERVIEW

| Position | Part |
| 1 | Electric motor |
| 2 | Feed extension socket |
| 3 | Binding ring 43 mm |
| 4 | Primary chock |
| 5 | Coupling |
| 6 | Coupling casing |
| 7 | Retaining ring |
| 8 | Gear fastening Screw |
| 9 | Connecting screw M6 |
| 10 | Shaft brake connecting plate |
| 11 | Connecting screw M5 |
| 12 | Worm gear 7:1 |
| 13 | Secondary chock |
| 14 | Secondary shaft |
| 15 | Lip Sealing |
| 16 | Thrust Bearing |
| 17 | Feed Socket |
| 18 | Retainer Screw |
| 19 | Handle |
| 20 | Adjusting Socket |
| 21 | Power Screw |
| 22 | Ball Point Screw |
| 23 | Upper Bearing Retaining Ring |
| 24 | Upper Bearing Sealing |
| 25 | O-ring upper bearing |
| 26 | Upper PTFE-Bearring |
| 27 | Shaft Sealing |
| 28 | Body |
| 29 | Lower PTFE Bearing |
| 30 | Body Sealing |
| 31 | Lower Bearing Retaining Ring |
| 32 | Double Nipple |
| 33 | Control Cock |
| 34 | Quick Connector male |
| 35 | Quick Connector female |
| 36 | Socket 1/4 |
| 37 | Manometer 40 bar |
| 38 | Central Drill normal |
| 39 | Central Drill short |
| 40 | Shaft extension DN20 |
| 41 | Chuck normal |
| 42 | Chuck small |
| 43 | Shaft extension 90 mm |
| 44 | Base shaft |
| 45 | Shaft extension 180 mm |
| 46 | Chain Block |
| 47 | TONISCO Special Wrench |
| 48 | Opening Pin |
| 49 | Allen Key 3 mm |
| 50 | Allen Key 4 mm |
| 51 | Allen Key 5 mm |
| 52 | Magnet |
Using the Chain Block


For higher pressures >12 bar it is highly recommended to use the chain block for adjusting the feed or for a safe release of the feed unit.First, hang the upper end of the hook in the connection plate 1.The other hook has to be mounted to a stable element of at the workside e.g. around the main pipe. Adjust the switch to the middle position for a free
movement of the chain. Tighten the chain by first pulling the other end of the chain and after that by turning the wheel clockwise. Adjust the switch to the UP position
Push down the adjusting socket 3 by moving the lever back and forward. Before releasing the locking screw from the groove in the adjusting socket 3 adjust the switch to the down position if you want to release the feed unit. If you want to adjust the feed, leave the switch in the up position. Turn the adjusting socket 3 counterclockwise to relase the shaft or adjust the feed.
CAUTION
Be careful to not squeeze your hand in the chain.
WARNING
Do not change the switch to the middle position when the chain is under tension.
Attachments A1
Safety Instructions in Regards to the Electrical Driving Unit
Warning
When using electric tools, basic safety precautions should always be followed to reduce the risk ofelectric shock, personal injury and fire, including the following
- Keep work area clean.
- Cluttered areas and benches invite injuries.
- Consider work area environment.
- Don’t expose power tolls to rain. Don’t use power tolls in damp or wet locations.
- Keep work area well lit.
- Don’t use power tools in presence of flammable liquids or gases.
- Protect yourself from electric shock.
- When working with electric power tools, avoid body contact with earthed parts e.g. Pipes, radiators, hobs, refrigerators.
- If you use electrically conductive coolers or lubricants or if there are extreme conditions for use e.g. A high degree of humidity , development or metal dust, etc.) When working with electric power tools, use the ( FI, DI, PRDC ) residual current protection devices at any power outlet point.
- Keep children away.
- Do not let onlookers contact tool or power lead. All onlookers should be kept away from work area.
- Store idle power tool for the job. When not in use keep tools in dry place, either locker up or high up, out of the reach of children.
- Never force a power tool. It will do the job better and safer at the rate for which it was tended.
- Use the right power tools for the job.
- Don’t force small power tools to do the job of a heavy duty tool.
- Don’t use power tools for purpose not intended.
- Don’t for example , use a circular saw for cutting tree limbs or logs.
- Dress properly.
- Do not wear loose clothing or jewelry.
- They can be caught in moving parts.
- Rubber glover and non-skid footwear are recommended when working outdoors.
- Wear protective hair covering to contain long hear.
- Wear safety goggles and a face mask or dust mask if work is dusty.
- Don’t abuse lead. Never carry power tool by lead or yank lead to disconnect tool from receptacle.
- Keep the lead away from heat, oil and sharp edges Secure work piece.
- Use clamps or a vice to hold work piece. It’s safer than using your hand and it frees both hands to operate.
- Don’t overreach. Keep proper footing and balance at all times.
- Maintain tools with care.
- Keep tools sharp and clean for better and safer performance.
- Follow instructions for servicing changing tools.
- Inspect power tools leads periodically and if damaged, have them repaired by an authorized service facility. Inspect extension leads periodically and replace them if damaged.
- Keep handles dry, clean and free from oil and grease.
- Disconnect power tools, when not in use, before servicing and when adjusting accessories such as blades, bits and cutters.
- Remove keys and spanners. Form habit of checking to see that keys and adjusting tools are removed from power tool before turning them on.
- Avoid unintentional starting.
- Don’t carry plugged-in power tool with finger on switch trigger. Be sure switch is turned off when plugging in.
- Outdoor use extension leads. When power tools is used outdoors, use only extension lead intended for use outdoors and so marked.
- Stay alert.
- Watch what you are doing.
- Use common sense.
- Do not operate power tool when you are tired.
- Check power tool for damaged parts. Before further use of the power tool, a guard or other part that is damaged should be carefullychecked to determine that it will operate properly and perform its intended function.
- Check for alignment of moving parts, binding or moving parts, breakage of parts, mounting , and any other condition that may affect the power tool’s operation.
- A guard or other part that is damaged should be properly repaired or replaced by an authorized service facility unless otherwise indicated in the operating instructions.
- Have defective switches replaced by an authorized service facility. Do not use the power tool if the switch does not turn it on and off.
Warning
For your own safety, use only accessories and attachments which are described in the operating instructions or are provided or recommended by the tool manufacturer. The use of tools other then those described in the operating instructions or in the catalog of recommended tool inserts or accessories can result in a risk of personal injury. Have your power tool repaired by an authorized service facility. Repairs should be carried out only by an authorized service facility.



















