
75- piece Inch and Metric Tap and Die set
B09JCNJBGV
Important Safeguards
Read these instructions carefully and retain them for future use. If this product is passed to a third party, then these instructions must be included.
When using the product, basic safety precautions should always be followed to reduce the risk of injury including the following:
DANGER
Risk of suffocation!
Keep any packaging materials away from children and pets — these materials are a potential source of danger, e.g. suffocation.
CAUTION
Risk of injury!
- The product is for hand cutting applications only. Do not use for machine cutting.
- Always wear impact-resistant eye protective (compliant to ANSI Z87.1 or EN 166) in work area at all times.
- Always wear protective gloves (compliant to ANSI 105, EN ISO 21420 or EN 388) during the work.
- Discard immediately if any chipping or cracking of this product has occurred.
- Keep the product away from children and pets.
- Use proper cutting oil for the workpiece. Lubrication is necessary for accurately formed threads and for preventing damages to the taps and dies.
- Always use a file to test the hardness of the workpiece. The workpiece is too hard for use with the product if it cannot be cut by a file.
Intended Use
- The taps are intended to cut threads into a pre-drilled hole for fitting a bolt or screw, and to chase lightly damaged or rusted pre-threaded holes.
- The taps in this set are plug taps for general purposes.
- The dies are intended to cut threads on the outside of a rod, making a threaded bolt, and to chase lightly damaged or rusted threaded bolt.
- The taps and dies are suitable for tapping and threading steel, aluminum, brass, cast iron, softwood and hardwood.
Content

Taps and Dies
NOTICE
- Before using the product, always check the size info marked on each tap and die.
- After using the product, always place the tap and die back to the designated slot with size marking in the carrying case.

Using Thread Gauge
Use the thread gauge (inch/ metric) to measure the pitch of the threads before threading by matching one of its blades to the thread profile (Fig. 1).
Using Taps
FIVOTICE I The first couple of turns of threading are attic*. Always keep the tap perpendicular to the workplece for accurately formed threads. I Before using the tap, refer to the tap drill chart for the correct drill size for each tap size.
- Fasten the workpiere to be threaded down with a vice or clamp.
- Drill a hole on the workpiece using a drill press. Remove all chips from the hole afterwards.
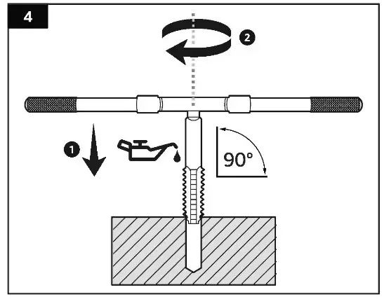
- Apply proper cutting of to the cutting edges when tapping or threading hard materials.
- Secure the square end of the tap into the T-handle tap wrench using the chuck (Fig. 2) or Into the adjustable tap wrench using the handle (Fig. 3).
NOTICEIt is suggested to use the T-handle tap wrench for taps in smaller sizes and when there is not enough clearance for the handle.Tap wrench Thread slat Small 1-handle (#52557) 0 to almost 1/4 inch (3 to 6 mm) Large T-handle (#52559) almost 1/4 to almost 1/2 Inch (6 to 12 mm) Adjustable (#52563) 1/16-1/2 Inch (1.6 to 127 mm) - Align the tap precisely with the direction of the hole, perpendicularly to the workpiece. Apply slight pressure on the tap and begin to turn clockwise until the tap Is pushed into the hole (Fig. 4).

- Turn the tap half turn in reverse every 2 full turns to break the chips off. Repeat until the tap passes through the work piece or has reached the desired thread depth.
NOTICE
Always keep the tap straight in line with the hole being tapped. - Carefully turn the tap anticlockwise until the tap is entirely out of the hole. Clean out any chips from the hole.
6.1 Tap drill chart (inch)
| Tap size (thread diameter-number of threads per inch) | Thread type* | Nearest fractional imperial drill size | Metric drill size |
| 1/8/27 | NPT | 5/16″ | 8.74 mm |
| 4-40 | NC | 3/32″ | 2.35 mm |
| 6-32 | NC | 7/64″ | 2.85 mm |
| 8-32 | NC | 9/64″ | 3.5 mm |
| 10-24 | NC | 5/32″ | 3.9 mm |
| 10-32 | NF | 5/32″ | 4.1 mm |
| 12-24 | NC | 11/64″ | 4.5 mm |
| 1/4/20 | NC | 13/64″ | 5.1 mm |
| 1/4/28 | NF | 7/32″ | 5.5 mm |
| 5/16/18 | NC | 17/64″ | 6.6 mm |
| 5/16/24 | NF | 17/64″ | 6.9 mm |
| 3/8/16 | NC | 5/16″ | 8 mm |
| 3/8/24 | NF | 21/64″ | 8.5 mm |
| 7/16/14 | NC | 3/8″ | 9.4 mm |
| 7/16/20 | NF | 25/64″ | 9.9 mm |
| 1/2/13 | NC | 27/64″ | 10.8 mm |
| 1/2/20 | NF | 29/64″ | 11.5 mm |
NC = National Coarse Thread NF = National Fine Thread; NPT = National Pipe Thread
6.2 Tap drill chart (metric)
| Tap size (thread diameter x pitch number of thread) | Nearest fractional imperial drill size | Metric drill size |
| 1/8 BSP*28 | 21/64″ | 8.8 mm |
| M3 x 0.5 mm | 3/32″ | 2.5 mm |
| M3 x 0.6 mm | 3/32″ | 2.5 mm |
| M4 x 0.7 mm | 1/8″ | 3.3 mm |
| M4 x 0.75 mm | 1/8″ | 3.7 mm |
| M5 x 0.8 mm | 11/64″ | 4.2 mm |
| MS x 0.9 mm | 5/32″ | 4.2 mm |
| M6 x 1.0 mm | 13/64″ | 5 mm |
| M7 x 1.0 mm | 15/64″ | 6 mm |
| M8 x 1.25 mm | 17/64″ | 6.8 mm |
| M9 x1.0 mm | 5/16″ | 7.8 mm |
| M9 x 1.25 mm | 5/16″ | 7.8 mm |
| M10 x 1.25 mm | 11/32″ | 8.5mm |
| M10 x 1.5 mm | 11/32″ | 8.5mm |
| M11 x 1.5 mm | 3/8″ | 9.5 mm |
| M12 x 1.5 mm | 13/32″ | 10.2mm |
| M12 x 1.75 mm | 13/32″ | 10.2mm |
Using Dies
NOTICE
The first couple of turns of threading are critical. Always keep the die perpendkular to the rod for accurately formed threads.
- Fasten the rod to be threaded down with a vice or clamp.
- Slightly file a chamfer onto the end of rod to be threaded.
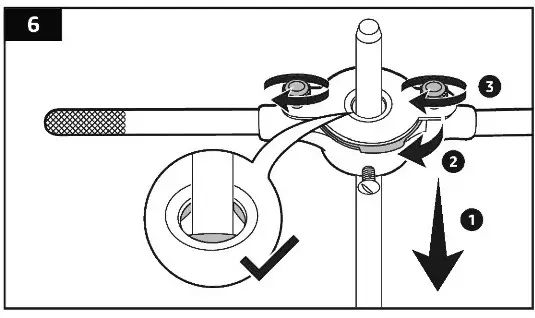
- To adjust the guide on the die stock, place the die stock on a level surface. Loosen slightly the thumb screws until the bottom plate can be rotated (Fig. 5).
NOTICE I
Do not remove the thumb screws from the die stock.
NOTICE I - Lower the die stock perpendicularly onto the rod and adjust the guide to fit the rod. Tighten the thumb screws after the adjustment (Fig. 6).

- Slide the die stock up and off of the rod.
- loosen the set screw. Put the desired die into the die stock with the marked side facing upwards. Tighten the set screw to secure the die in place (Fig. 7).
- Turn the die stock upside down with the marked side of the die facing the rod.

- Apply proper cutting oil to the cutting edges when threading hard materials.
- Place the die stock over the top of the rod, perpendicularly to the rod. Apply slight pressure on the die handle and begin to turn clockwise until the die is pushed into the rod (Fig. 8).

- Turn the die slightly in reverse every half turn to break the chips off. Repeat until the rod has reached the desired thread length.
Always keep the die at the right angle to the rod. - Carefully turn the die handle anticlockwise until the die is entirely out of the rod. Clean out any chips from the rod.
Chasing Threads
NOTICE 1 Lightly damaged or rusted threads can be repaired using the taps or dies.
- Use the thread gauge (inch/ metric) to measure the thread size.
- Select the correct tap or die size.
- Follow the instructions for threading using tap or die to chase threads (see chapter “Using Taps” or “Using Dies”).
Cleaning and Storage
D To clean the product, wipe with a damp cloth. Rinse the parts and let all parts dry completely. 0 Never use corrosive detergents. wire brushes, abrasive scourers. metal or sharp utensils to clean the product. I Use a small brush or compressed air (max. 3 bar) to remove stubborn dust if needed. I Coat all parts with a thin coat of household oil to prevent a buildup of rust. I Store all cans in the carrawo case.
Specifications
Net weight Case dimensions (W x H x
swot_ 7.41 lbs (3.36 kg) approx. 16.97 x 9.92 x 2.69• (43.1 x 25.2 x 6.8 cm)
Feedback and Help
We would love to hear your feedback. To ensure we are providing the best customer experience possible, please consider writing a customer review. Scan QR Code below with your phone camera or QR reader:
US:
UK: amazon.co.uk/revievareview-your:purchaseso
If you need help with your Denali product, please use the website or number below.
US: amazon .corKAP/help/customer /coruact-us UK: amazon.co.ultAft/helpIcustomer/contact-us
et 877-4850385 (US phone Number)![]()
Made in chaina
NOTICEIt is suggested to use the T-handle tap wrench for taps in smaller sizes and when there is not enough clearance for the handle.
NOTICE I















