JCB ONE V2 Ultra-Compact Motorized Jib
User Manual
Before operating your edelkrone, please watch the user’s manual video.
http://edel.kr/jbnv2

WHAT’S IN THE BOX & THE BASICS

- JibONE v2
- Motor unit (with information screen, On/Off button, DC in, shutter trigger port, battery bracket port)
- JibONE v2 length extension screws
- Tension adjustment wheel
- Angle adjustment knob
- Camera plate (with 3/8” mounting screw and spirit level)
- Body (3/8” tripod mounting port, 1/4“ accessory port, Cold Shoe)
- Safety lock
- Shutter trigger extension cable
- Main counterweight (1 kg/2.2 lb)
- Counterweight (1 kg/2.2 lbs) (3 pcs.)
MOUNTING ON A TRIPOD

- Place the body of JibONE v2 on the tripod making sure it’s aligned.
- Tighten it by turning the mounting wheel.
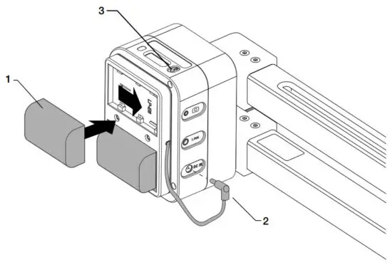
MOUNTING THE BATTERY BRACKET

Attach the battery bracket to the motor unit using the screws included with the battery bracket.
ATTACHING THE COUNTERWEIGHT

- Align the main counterweight parts as shown.
- Attach to JibONE v2 by turning the butterfly screw clockwise.
PULLING OUT THE EXTENSIONS

- Lift the lever above to release the top arm.
- Repeat below to release the bottom arm.
- Grip the camera plate bar to pull out the extensions.
- Extend the camera plate by loosening the butterfly screw.
- Push the levers back to their original positions.

ADJUSTING THE OPERATION ANGLE

- Loosen the angle adjustment knob by turning counterclockwise.
- Adjust your operation angle (JibONE v2 has five different operation angles).
- Tighten the angle adjustment knob back.
ATTACHING THE CAMERA

- Align your FlexTILT Head v3 or any tripod head with the camera plate as shown.
- Tighten the mounting wheel.
- Attach your camera to your FlexTILT Head v3 or any tripod head.
BALANCE ADJUSTMENT & SAFETY LOCK

- Pull the safety lock as shown to mobilize JibONE v2.
- Slide the counterweight to balance the setup.
! The safety lock must be OFF to operate JibONE v2. You can push it back in to turn the safety lock on when you are not filming or you are changing positions while filming.
EXTENSION LENGTH INDICATORS

- When you extend JibONE v2, make sure the numbers match.
- Setups are balanced with different counterweight locations and extension lengths based on the weight of the setups.
COUNTERWEIGHTS
You may need extra counterweights to keep your setup balanced. You can find the recommended counterweight usage scenarios below.

*While JibONE v2 is fully extended
C Counterweight
S Setup

| 1 pcs. | Camera + FlexTILT Head or any tripod head (1.5-2.4 kg) |
| 2 pcs. | Camera + HeadONE + FlexTILT Head or any tripod head (2.2-3.4 kg) |
| 3 pcs. | Camera + 2 HeadONEs + Tilt Kit v2 (2.6-4.2 kg) |
| 4 pcs. | Camera + HeadPLUS Full Setup (2.9-5 kg) |
TENSION ADJUSTMENT

TURNING ON JIBONE v2
Attach the batteries.- Plug the cable into the “DC IN” socket.
- Press and hold the On/Off button for a second to turn on JibONE v2.
LOOSENING THE KNOBS

WARNINGS

- Make sure to correctly adjust the leg distance of your tripod while operating or adjusting the JibONE v2 extensions for a balanced setup.
- If you’d like to make adjustments or carry your JibONE v2, make sure the safety lock is on, remove your camera and insert the extensions back in. Otherwise, the device will be unstable and may cause damage.
- Make sure you attach the counterweights tightly and correctly.
START USING

- Download the edelkrone App to your mobile device from the App Store or Google Play. Links can be found at
www.edelkrone.com/products/jibone-v2 - To operate JibONE v2, hold the On/Off button down until the opening bar in the information screen is full-filled.
- JibONE v2 is now ready for smart pairing or manual pairing through Bluetooth/Wifi.
- After pairing the devices, you are now ready to use your JibONE v2. Just keep following the instructions on your mobile device or visit manuals.edelkrone.com for detailed video instructions.
Always start using fully charged batteries.
Make sure your mobile device’s Bluetooth connection is on.
A detailed video explaining the edelkrone App can be found at: http://edel.kr/jbnv2
DISPOSAL OF THE PRODUCT & WARNINGS
Should the product become damaged beyond repair, or if you wish to dispose of it, it must be disposed of separately from the municipal waste stream via designated collection facilities appointed by the government or the local authorities. Observe the regulations of your area and country that relate to the disposal of electronic products.
- Keep your electronic Motion Control Unit away from all sorts of liquids.
- In order to preserve your Motion Control Unit and battery performance at their best, use the exact same type of batteries with an equivalent level of charge during dual-battery operation.
- Do not attempt to disassemble or modify any internal parts of your Motion Control Unit. If the device appears to be malfunctioning, discontinue use immediately and contact support for qualified service.
- Never force a different type of connector into a port.
- Never use or store your Motion Control Unit in areas subject to extreme temperatures, or high levels of vibration.
- If your motion control unit becomes unresponsive, disconnect and re-connect the power source. Make sure your DC adapter is plugged in or your batteries are properly charged. If the problem persists, contact our support team.
- Environmental factors may affect your Motion Control Unit’s performance. Keep your product away from environmental hazards such as dust or heavy resonance. Do not use chemical materials to clean your product.
- If there is an impairment on the power or connector cable, stop using the Motion Control Unit immediately.
- Avoid dropping or causing physical damage to your Motion Control Unit.
- Do not place heavy objects on top of your Motion Control Unit.
- edelkrone cannot be held responsible for damage caused by improper use or modification of the product.
- Rated Voltage: 7.4V-14.8V (2 x 7.4V Parallel LP-E6 or NP-F Battery / AC-DC Adapter ) Rated Current: 2A Operating Temperature: -5°C to +45°C
A detailed video explaining how to attach the camera can be found at: http://edel.kr/jbnv2
For more information and tips about your JibONE v2, please watch the user’s manual videos at: http://edel.kr/jbnv2
www.edelkrone.com
Attach the batteries.

















