DRMACV12 12W Constant Voltage LED Driver
Instruction Manual
DRMACV12 12W Constant Voltage LED Driver
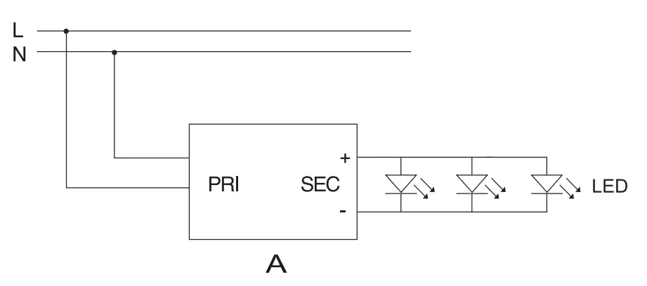
Constant Voltage LED Driver Installation Instructions
Model: DRMACV12 12W / DRMACV24 12W
Product Features
– Super compact design
– Primary and secondary sides come with leads
– Protections: opencircuit, shortcircuit, overload, overtemperature
– Simple installation
– IP65 design
Important Notes
– Ensure min/max wattage of LED Driver is adhered to, in relation to LED Module used.
– Secondary Terminals are polarity conscious eg: positive or negative.
– Do not install LED Module to live Driver.
– Do not switch Secondary feed.
– Drivers must be installed above insulation.
– Drivers must be installed by a qualified electrician.
Technical Specifications
| Model No. | Input Voltage | Max Output | Output Current | Output Voltage | Power Factor | Ta ( °C ) | Tc ( °C ) | Dimensions LxWxH | Weight | Wiring Diagram |
| ( V ) | ( W ) | ( mA ) | ( V ) | ( A ) | ( mm ) | (g) | ||||
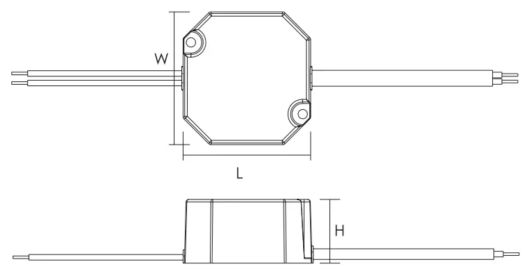
| DRMACV12 12W | 220-240 | 12W | 0-1.0 | 12 | 0.95 | -20…+50 | 80 | 50x48x24 | 92 | A |
| DRMACV24 12W | 220-240 | 12W | 0-0.5 | 24 | 0.95 | -20…+50 | 80 | 50x48x24 | 92 | A |
Dimensions(mm)
Wiring Details
EN 61347-1, EN 61347-2-13
EN 55015, EN 61000-3-2
EN 61000-3-3, EN 61547![]()
![]()



















