Danfoss ICD 32 and 50 Pressure Module for Gas Damping

SPECIFICATION
Refrigerants
Applicable to R717(Ammonia).
Temperature range
-20/+150 °C (-4/+302 °F).
Pressure range
The valves are designed for a max.working pressure of 52 bar (754 psig).
Technical data
The ICD is recommended for Economizer Lines at screw compressors in combination with ICC and ICS. The ICD in the economizer line is damping/reducing pulsations from the compressor in a broad range of compressor speeds covering frequencies from 100 to 500 Hz.
OVERVIEW
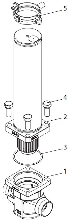
Design (fig. 4)
- Body
- Top assembly
- Gasket
- Bolts
- Pipe support
Installation
The valve must be installed with the arrow in the direction of the flow and the top cover upwards (fig. 1 and 5). The top cover can be rotated 4 X 90° in relation to the valve body.

In order to obtain optimized damping results, piping installation and distances as shown i fig. 7 must be followed.
Note:
In order to prevent exceeding vibrations caused by the ICD eigenfrequency, pipe clamps for fastening the ICD must be installed and the max distances must be followed (fig. 7 pos. A and B are mandatory). For an appropriate support of the ICD, a tailored clamp suspension (A) is included in the ICD box. The supports B are also mandatory for reducing vibrations impacting the natural frequencies of the damper and must be prepared and installed at site.
These pipe clamps must be strong and robust fixation points to help reduce vibrations.
As a guideline the values for stiffness of the clamp support can be found in following tables. For reference of coordinate system see fig. 7.
The pipe clamps at A and B have to provide the following minimum stiffness if the fixation rod is pointing in x-direction:
| In N/mm | A | B |
| X | 275.000 | 375.000 |
| Y | 14.000 | 36.000 |
| Z | 14.000 | 36.000 |
The pipe clamps at B have to provide the following minimum stiffness if the fixation rod is pointing in y-direction:
| In N/mm | A | B |
| X | 275.000 | 36.000 |
| Y | 14.000 | 375.000 |
| Z | 14.000 | 36.000 |
Welding (fig. 3)
The top assembly must be removed before welding to prevent getting welding debris in the module.
Note:
Remove all parts from the valve body before welding (as shown in fig. 3).
In order to maintain the effectiveness of the internal anti-corrosion, it is important to ensure that the valve is disassembled just prior to the welding / brazing process being undertaken.
In the event that the function modules are to be left disassembled for any length of time, please ensure that the function modules are further protected by placing in a polyethylene bag or by applying a rust protection agent (e.g. refrigeration oil or BRANOROL) on the surfaces.
Only materials and welding methods, compatible with the valve body material, must be welded to the valve body. The valve should be cleaned internally to remove welding debris on completion of welding and before the valve is reassembled.
Avoid welding debris and dirt in the valve body and the function module. The valve body must be free from stresses (external loads) after installation.
The valves must not be mounted in systems where the outlet side of the valve is open to atmosphere. The outlet side of the valve must always be connected to the system or properly capped off, for example with a welded-on end plate.
Assembly
Remove welding debris and any dirt from pipes and valve body before assembly. Check that the o-ring is intact before replacing the function module. If possible, apply some refrigeration oil to ease the insertion and to protect the o-rings. Check that the top gasket has not been damaged. If the surface has been damaged or the gasket has been bent, it must be replaced.
Tightening (fig. 6)
Tighten the top cover with a torque wrench, to the values indicated in the table.
Colours and identification
The ICD valves are painted from factory. The paint does not cover the welding connections.
The valves can be re-painted. Precise identification of the valve is made via the ID plate on the top cover.
The external surface of the valve housing must be protected against corrosion with a suitable top coating after installation involving welding and consequent assembly.Protection of the ID plate when painting the valve is recommended.
Maintenance
Service
The ICD valves are easy to dismantle.
Do not open the valve while the valve is still under pressure.
The top assembly module can be lifted out using two screwdrivers as shown in fig. 2
Assembly
Remove any dirt from the body before the valve is assembled.
Tightening (fig. 6)
Tighten the top assembly with a torque wrench, to the values indicated in the table.
Use only original Danfoss parts as gaskets for replacement. Materials of new parts are certified for the relevant refrigerant. In cases of doubt, please contact Danfoss.
Drawings are only for illustration, not for dimensioning or construction.
Danfoss accepts no responsibility for errors and omissions. Danfoss Industrial Refrigeration reserves the right to make changes to products and specifications without prior notice.
The following text is applicable to the UL listed products ICD 32 and 50.
Applicable to R717. The design pressure shall not be less than the value outlined in Sec. 9.2 of ANSI/ASHRAE 15 for the refrigerant used in the system.
Danfoss A/S
Climate Solutions danfoss.com
+45 7488 2222
Any information, including, but not limited to information on selection of product, its apPplication or use, product design, weight, dimensions, capacity or any other technical data in product manuals, catalogues descriptions, advertisements, etc. and whether made available in writing, orally, electronically, online or via download, shall be considered informative, and is only binding if and to the extent, explicit reference is made in a quotation or order confirmation. Danfoss cannot accept any responsibility for possible errors in catalogues, brochures, videos and other material.
function Danfoss reserves of the product. the right to alter its products without notice. This also applies to products ordered but not delivered provided that such alterations can be made without changes to form, fit or All trademarks in this material are property of Danfoss A/S or Danfoss group companies. Danfoss and the Danfoss logo are trademarks of Danfoss A/S. All rights reserved.



















