Installation guide
060R9308
Pressure switch
Type KPI 34, KPI 35, KPI 36, and KPI 38![]()



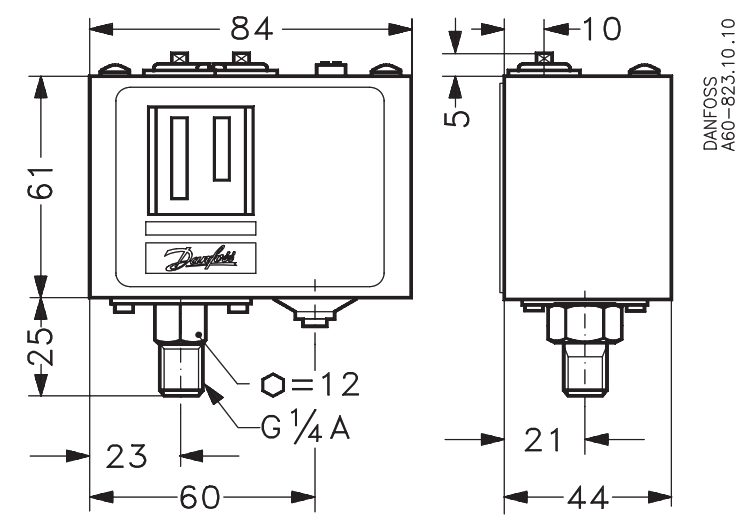
KPI 34 Pressure Switch
| Type | Range | Diff. |
| KPI 34 | -0.2 — 3 bar | 0.5 — 1.25 bar |
| KPI 35 | -0.2 — 8 bar | 0.4 — 2 bar |
| KPI 36 | 4-12 bar | 0.5 — 1.6 bar |
| KPI 38 | 8 — 28 bar | 1.8 — 6 bar |
Please note: No maintenance is required for the switches after final installation.

Please note: scale in KP units is indicative only. For accurate setting or when using according to FM approval using an additional pressure gauge to set the unit.
Standard contact Alternating current
AC-1: 10 A, 440 V
AC-3: 6 A, 440 V
AC-15: 4 A, 440 V
Blocked rotor: 112 A
Direct current: DC-13, 12 W, 220 V
Listed refrigeration controller 61B5
| Voltage | FL A | LR A | Resist. load | Pilot duty | |
| AC | DC | ||||
| 240 | — | 6 | 36 | 8 A | 3A |
| 120 | — | 8 | 48 | 10 A | |
| — | 240 | — | — | 12W | |
Use copper wire only Tightening torque to 20 lb. in.

CAUTION: Disconnect the power supply before wiring connections are made or serviced to avoid possible electrical shock or damage to equipment. Do never touch live parts with your fingers or with any tool.


AN104186438138en-000502
© Danfoss | Climate Solutions | 2021.07
Info for UK customers only: Danfoss Ltd., 22 Wycombe End, HP9 1 NB, GB



















