SEALY HBS2001 Bodyshop Workshop Headlamp Beam Setter

Thank you for purchasing a Sealey product. Manufactured to a high standard, this product will, if used according to these instructions, and properly maintained, give you years of trouble-free performance.
IMPORTANT: PLEASE READ THESE INSTRUCTIONS CAREFULLY. NOTE THE SAFE OPERATIONAL REQUIREMENTS, WARNINGS & CAUTIONS. USE THE PRODUCT CORRECTLY AND WITH CARE FOR THE PURPOSE FOR WHICH IT IS INTENDED. FAILURE TO DO SO MAY CAUSE DAMAGE AND/OR PERSONAL INJURY AND WILL INVALIDATE THE WARRANTY. KEEP THESE INSTRUCTIONS SAFE FOR FUTURE USE.
- Refer to instructions
- Indoor use only
SAFETY
- DO NOT allow unqualified persons to operate the HBS.
- DO NOT use the HBS in direct sunlight.
- DO NOT splash the HBS with water or any other liquid.
- To ensure the work area is well-ventilated.
- To ensure that there is good lighting.
- To apply the handbrake on vehicle.
- Do avoid sudden changes in temperature.
- Do avoid sudden vibration.
INTRODUCTION
Suitable for pre-MOT inspection in garages and body shops. Utilizes same optical box and aiming screen as fitted to our MOT-approved headlamp beam setter. Fixed aiming screen. Internal analogue LUX meter for accurate light intensity measurement. Suitable for all types of cars and light commercial vehicles. Fitted with fixed column and rubber wheels.
SPECIFICATION
- Height…………………………………………………………………1750mm
- Width……………………………………………………………………660mm
- Length………………………………………………………………….620mm
- Maximum height of beam measurement………………….1500mm
- Minimum height of beam measurement…………………….220mm
- Focal length…………………………………………………………..500mm
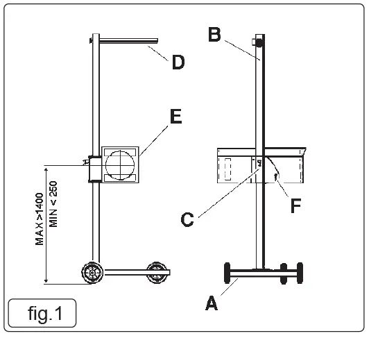
ASSEMBLY

- A……………………………………………………………………………BASE
- B………………………………………………………………………COLUMN
- C…………………………………………VERTICAL SLIDING SYSTEM
- D…………………………………………………………….MIRROR-VISOR
- E…………………………………………………………OPTICAL SYSTEM
- F……………………………………………………………. LEVER SCREW
- Attach column B to base A using nuts, bolts and washers provided. Column should be positioned so that optical system mounting plate on sliding system C is facing the single wheel.
- Attach mirror-visor D to the mounting plate at the top of column B with the two screws provided (in end of visor).
- Fit the optical system E to the vertical sliding system C using the two screws and washers provided (fit lever screw F and larger washer over slotted hole).
PREPARATION FOR USE
- Working Surface
- Position the vehicle on the designated headlamp aim standing area.
- When positioning the HBS ensure the floor is perfectly even and level.
- If this is not possible the vehicle and HBS must be on the same slope, which must not exceed 0.5º.
- Headlights must not be checked where surface angle exceeds 0.5º (see fig. 2).

Vehicle Preparation
- Straighten vehicle wheels.
- Check the tyre pressures.
- Ensure the headlights are clean and dry.
- If the vehicle is fitted with manual or electric headlamp levelling device, ensure this is set for vehicle with normal load.
- Remove anything which could alter the attitude of the vehicle, i.e. load, snow, ice, mud, etc.
OPTICAL POSITIONING
Positioning
- Locate the HBS approximately 200 to 500mm from the vehicle headlamp.
- Standing behind the HBS, use the visor to align with a horizontal, or two symmetrical points on the vehicle i.e. the bonnet lip or the bottom of the windscreen.
- Ensure the visor line is parallel with the horizontal, or symmetrical selection, by rotating the HBS. This will ensure that the HBS is square ith the front of the vehicle.
- Measure the height of the centre of the headlamp from the floor say 650mm as an example.
- Squeeze the locking lever (fig. 3. C) on the vertical sliding system and move the system up or down the column until the top edge of the slider (fig. 3.D) aligns with 65cm (650mm) on the column scale. Release locking lever. Centre of lens will now be at the same height (650mm) as the centre of the headlamp.
- Use the sighting line on the top of the optical system housing to horizontally align the HBS with the centre of the headlamp.

METHOD OF INSPECTION
- Start engine, so that battery is not drained.
- Align the HBS with the centre of the headlamp to be tested, as in Section 5.
- With an assistant sitting in the driving seat, switch on the headlamp to the beam, dip or main, which is to be checked.
- Note: When checking headlamp aim on vehicles with hydropneumatic suspension systems, it is necessary to have the engine idling.
- Determine the appropriate dip beam image and the aim (see figs. 5 & 6). Headlamps of older vehicles (approx. pre 1950) may have beam images which do not conform. In such cases check:
- DIP BEAM headlamps are aimed so they do not dazzle, ie the brightest part of the beam image is aimed at least 0.5% below the horizontal (fig. 5), or, for headlamps which cannot be checked on dip beam, check:
- MAIN BEAM headlamps are aimed so that the beam image centre is on or slightly below the horizontal (fig. 7). Graduated Screen
IMPORTANT: This HBS uses a fixed graduated screen in accordance with the requirements of the MOT regulations. However it must be noted that the HBS2001 is not approved by the Vehicle Inspectorate for conducting tests in accordance with MOT requirements.

ASYMMETRICAL dipped beam

SYMMETRICAL Dipped BEAM

MAIN BEAM

THE luxmeter
- In addition to the numerically calibrated scales the lux meter has a colour-coded scale for main beam intensity which should be read as follows
- Main Beam
- The indicator at RED/GREEN (BAD/GOOD) limit: Acceptable for vehicles traveling under 30mph (48km/h) and motorcycles.
- The indicator at the centre of GREEN (GOOD): Acceptable for vehicles traveling over 30mph (48km/h).
- The indicator on BLUE (HALOGEN): Acceptable for vehicles with halogen headlights.
CALIBRATION
We suggest that the unit has periodic calibration checks in situ. If the unit is covered by a service agreement with the MOT package installer, they will carry this out on your behalf. You may however, wish to calibrate the unit yourself. The headlamp beam setter can be recalibrated using a laser alignment calibration unit. We recommend the Sealey AK9999 (available from your authorized Sealey stockist). We recommend that the laser calibration device be set up and levelled first of all, the beam setter can then be maneuvered easily on its stand with reference to the position of the laser. The laser can be placed on any surface such as a car bonnet, box, table etc of suitable height.

- Using the calibrated spirit level within the laser alignment calibration device, ensure that the unit is flat and level.
- Switch the laser on. Manoeuvre the beam setter in order to centre the laser beam in the beam setter lens. This must be done “by eye”. There is a ±20mm tolerance on centralisation of the beam through the lens. The beam setter should be approximately 2m from the laser.
- The dot projected onto the aiming screen should bisect the 0º line, at the far left, centre and far right of the screen. It is necessary at this point to rotate the column through the vertical axis, to track the beam from one side of the aiming screen to the other. Take care to ensure that the laser and the beam setter box (see Section 10) remain level throughout.

- To adjust the aiming screen, use the two holding screws.
- Loosen the screws and reposition the screen, so that the projected laser dot correctly bisects the 0º line.
- Retighten the screws, taking care not to move the screen back out of position.

OTHER INFORMATION
The Headlamp Beam Setter is equipped with a spirit level located on the base of the optical box, which is visible through the transparent panel. To level the box, loosen screws (fig.3.A & B) located on the side of the box and adjust the box until the spirit level registers horizontal. Re-tighten the screws. The box level must be checked every time it is used on a different working surface.
MAINTENANCE
- The paint work is detergent resistant. Clean with a damp cloth, removing any stains. A small amount of alcohol may be applied to stubborn areas of grime.
- DO NOT leave the machine in areas where corrosive vapour is present, i.e. from battery charging or paint spraying etc.
- DO NOT oil the column.
- An optical box dust cover is available upon request.
ENVIRONMENT PROTECTION
Recycle unwanted materials instead of disposing of them as waste. All tools, accessories and packaging should be sorted, taken to a recycling centre and disposed of in a manner which is compatible with the environment. When the product becomes completely unserviceable and requires disposal, drain any fluids (if applicable) into approved containers and dispose of the product and fluids according to local regulations.
Note: It is our policy to continually improve products and as such we reserve the right to alter data, specifications and component parts without prior notice.
Important: No Liability is accepted for incorrect use of this product.
Warranty
- Guarantee is 12 months from purchase date, proof of which is required for any claim.
Sealey Group
- Address: Kempson Way, Suffolk Business Park, Bury St Edmunds, Suffolk. IP32 7AR
- 01284 757500
- 01284 703534
- [email protected]
- www.sealey.co.uk
© Jack Sealey Limited



















