SEALEY HBS97.HGV Headlamp Beam Setter

HEADLAMP BEAM SETTER WITH RAILS AND COMMERCIAL AIMING SCREEN
MODEL NO: HBS97.HGV
Thank you for purchasing a Sealey product. Manufactured to a high standard, this product will, if used according to these instructions, and properly maintained, give you years of trouble free performance.
IMPORTANT: PLEASE READ THESE INSTRUCTIONS CAREFULLY. NOTE THE SAFE OPERATIONAL REQUIREMENTS, WARNINGS & CAUTIONS. USE THE PRODUCT CORRECTLY AND WITH CARE FOR THE PURPOSE FOR WHICH IT IS INTENDED. FAILURE TO DO SO MAY CAUSE DAMAGE AND/OR PERSONAL INJURY AND WILL INVALIDATE THE WARRANTY. KEEP THESE INSTRUCTIONS SAFE FOR FUTURE USE.
SAFETY
- DO NOT allow unqualified persons to operate this device.
- DO NOT use this device in direct sunlight.
- DO NOT splash the unit with water or any other liquid.
- DO ensure the work area is well ventilated.
- DO ensure that there is good lighting.
- DO put the handbrake on.
- DO avoid sudden changes in temperature.
- DO avoid sudden vibration.
INTRODUCTION
DVSA Approved for use in testing stations for vehicle Classes I, II, III and IV as delivered. Purchase Model No. HBS97E Extension Rails and the unit is suitable for Classes V, VI and VII. For commercial testing purchase Model No. HBS97.HGV. Supplied with instructions and certificate of approval (MOT versions with rails).
SPECIFICATION
- Model no……………………………………………………. HBS97.HGV
- Height…………………………………………………………….. 1750mm
- Length………………………………………………………………. 690mm
- Max. height beam measurement…………………………. 1410mm
- Min. height beam measurement……………………………. 240mm
- Focal length………………………………………………………. 489mm
ASSEMBLY
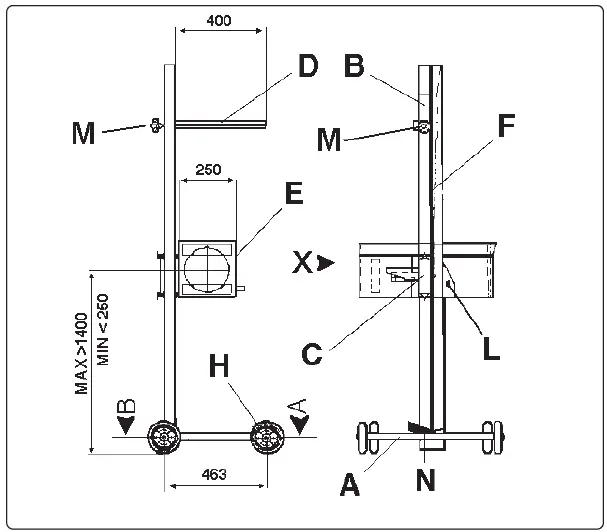
- Place large metal washer over spigot at base of column B. Insert column spigot into bearing in base A and retain with socket cap bolt and washer provided.
- Attach mirror-visor D to the rotating metal friction plate at the top of the column using the two socket cap bolts provided. Fit the optical system E to the vertical – sliding system using an M8 bolt in both the top and bottom holes.
- If the unit is to run on rails these need to be fixed to the floor of the test bay with low profile fixings that will not interfere with the movement of the wheels.
- To ascertain the correct positions for the rails place a typical vehicle in the test bay and follow the test procedure without rails. When the unit is correctly positioned for one headlamp mark the wheel positions on the floor including a longitudinal centre line. Roll the unit over to the other headlamp, check the alignment, and mark the floor again.
- Place the rails loose on the floor using the markings made and put the unit on them. Roll the unit from one lamp to the other and recheck the alignment. When satisfied that all is correct fix the rails to the floor.
- HBS97.HGV is approved for all classes as delivered. For testing classes I, II, III and IV the rails may be surface mounted. We recommend the rails be recessed into the floor for all other vehicle testing classes.

- A BASE
- B COLUMN
- C VERTICAL SLIDING SYSTEM D MIRROR-VISOR
- E OPTICAL SYSTEM
- F COLUMN LOCK PEDAL
WORKING SURFACE
Position the vehicle on the designated headlamp aim standing area. When positioning the beamsetter ensure the floor is perfectly even and level. If this is not possible the vehicle and beamsetter must be on the same slope, which must not exceed 0.5º. Headlights must not be checked where surfaces exceed 0.5º angle. (See fig 2.).
VEHICLE PREPARATION
- Straighten vehicle wheels.
- Check the tyre pressure.
- Ensure the headlights are clean and dry.
- If the vehicle is fitted with manual or electric headlamp levelling devices, ensure these are set up for vehicle with normal load.
- Remove anything which could alter the vehicles position, i.e. Snow, Ice, Mud, etc.
OPTICAL POSITIONING


OPERATION
- Switch engine on.
- Align the headlamp aim equipment with the longitudinal axis of the vehicle.
- Align the centre of the collecting lens with the centre of the headlamp under test.
- With an assistant sitting in the driving seat, switch on the headlamps to the beam on which the headlamp is to be checked.
Note: When checking headlamp aim on vehicles with hydro-pneumatic suspension systems, it is necessary to have the engine idling. Determine the appropriate headlamp beam image and its aim (see fig 6.). Old vehicles (approx. pre 1950 ) headlamps beam image may not conform to fig 6, in such cases check::- DIP BEAM headlamps are aimed so they do not dazzle i.e. the beam image brightest part is aimed at least 0.5% below the horizontal (fig 7). Or, for headlamps which cannot be checked on dip beam, check:
- MAIN BEAM headlamps are aimed so that the beam image centre is on or slightly below the horizontal (fig 8).
GRADUATED SCREENg
IMPORTANT
The beamsetter system uses a fixed graduated screen in accordance with the requirements of the MOT regulations.
DIPPED BEAMg
- Prepare the beam setter and the car as previously instructed, then turn on the dipped beam.
- Check the headlamp beam tolerances are in accordance with MOT inspection manual and are within operating tolerances of the manufacturer’s guidelines.
- Adjust the vehicles light regulating system until you obtain the required result.
- When testing the more commonly used asymmetrical headlight (see fig 6), remember that their projection will light up a section on the LEFT hand side of the plate with a corner of about 150 from the horizontal plane. Just under the centre, on the right, a small zone will appear brighter than the rest of the projection.

SYMMETRICAL LIGHTS

INDEPENDENT HEADLIGHTS

luxmeter
- The Luxmeter (fig.10) is colour graduated for clear reading as follows: Indicator at BAD/GOOD limit – Use for vehicles travelling under 30mph (40kmh) and motorbikes. Indicator at the centre of GOOD – Use for vehicles travelling over 30mph (40kmh).

CALIBRATION
We suggest the unit is periodically checked for calibration in situ. If the unit is covered by a service agreement with the MOT package installer, they will carry this out on your behalf. Should you wish to regularly check the calibration yourself, we recommend you purchase an Alignment Device from your local dealer. Periodical calibration of the relationship between the test area and the aiming screen is required. Calibration maybe carried our using an AK9999 Laser Calibration Gauge or a similar serial numbered laser device calibrated to a traceable standard. For the purposes of calibration, it is assumed that the vehicle standing area is flat and level.
- Place the calibration gauge within the vehicle standing area.
- Switch on the laser and ensure the beam is flat and level by use of the integral spirit level.
- Check that that the optical box is flat and level by checking the spirit level in the base of the optical box. The spirit level may be viewed through the plexiglass cover. Adjust the pitch of the optical box by loosening the screw (See fig.3B). Ensure screw is re-tightened after adjustment.
- Project the laser beam through the lens of the optical box. There is a Ø30mm margin for error in alignment of the beam centrally through the lens.
- Align the projected red dot centrally on the screen. The dot should fall on the hatched 0% line.
- Move the screen left and right across the beam by rotating the column and ensure that the dot remains on the 0% line indicating that the aiming screen is level.
- If adjustment of the aiming screen is required;
- Undo the four screws which retain the plexiglass cover and remove it.
- Loosen the two screws which retain the aiming screen.
- Adjust aiming screen so that laser dot falls on 0% line.
- Retighten screws and replace the cover.
- Once calibration has been completed the serial numbers of the beamsetter and the calibration device used to complete the calibration should be recorded on a suitable document. This document should be retained for inspection.

MAINTENANCE
- Clean with a damp cloth.
- DO NOT leave the beamsetter in areas where corrosive vapour is present i.e. battery charging or paint shops etc.
- DO NOT oil the column.
ENVIRONMENT PROTECTION
Recycle unwanted materials instead of disposing of them as waste. All tools, accessories and packaging should be sorted, taken to a recycling centre and disposed of in a manner which is compatible with the environment. When the product becomes completely unserviceable and requires disposal, drain any fluids (if applicable) into approved containers and dispose of the product and fluids according to local regulations.
Note: It is our policy to continually improve products and as such we reserve the right to alter data, specifications and component parts without prior notice. Important: No Liability is accepted for incorrect use of this product.
Warranty: Guarantee is 12 months from purchase date, proof of which is required for any claim.
Sealey Group, Kempson Way, Suffolk Business Park, Bury St Edmunds, Suffolk. IP32 7AR
- 01284 757500 01284 703534
- [email protected]
- www.sealey.co.u























