Eos Neo
Kitchen Faucet
Installation manual
EOS-PD-316/ EOS-PD-304/ EOS-PR-304/ EOS-BR-304/ EOS-PD-IBK
EOS-PR-IBK/ EOS-BR-IBK/ EOS-PD-GLD/ EOS-PR-GLD/ EOS-BR-GLD
Overview
Contents in box
EOS-PD-316 / 304 / IBK / GLD
EOS-PR-304 / IBK / GLD
EOS-BR-304 / IBK / GLD

- Faucet Assembly
- Rubber O-Ring
- Rubber Washer
- Plastic Flange
- Fixing Plate
- Fixing Nut
- Supply Hoses
- Weight
Note: Contact us immediately if you see inconsistencies.
Technical data
| Operating data | Value | ||
| Operating pressure (ideal) | 60 PSI | 4 bar | 400 kPa |
| Operating pressure (max.) | 115 PSI | 8 bar | 800 kPa |
| Operating pressure (min.) | 30 PSI | 2 bar | 200 kPa |
| Water temperature (ideal) | 140°F | 60°C | |
| Water temperature (max.) | 158°F | 70°C | |
| Hole Size For Faucet | 1 3/8“ | 35 mm |
Certifies this faucet complies with ASME A112.18.1 / CSA B125.1, NSF/ANSI/CAN 61-2020 (AB100 compliant, Q<1 ) & NSF 372. The faucet also complies with water usage requirements of the California Energy Commission and the US Department of Energy.
Installation instructions
- Remove all contents from the package and check for completeness.
- Turn off water supply.
- Remove Faucet (1) and hardware from its protective packaging – faucet comes assembled. Remove fixing hardware.
- Cut mounting hole 1-3/8‘‘ in diameter (35 mm) in the desired position (if one isn‘t available).
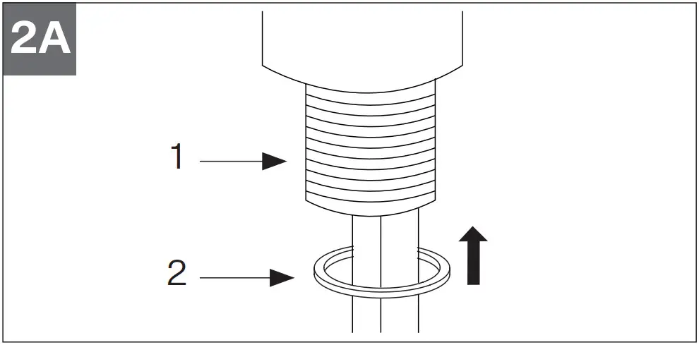
- Ensure Rubber O-Ring (2) is in place in the Faucet Base (1) (fig. 2A).

- Insert the Faucet into the hole, hoses first (fig. 2B).
Attention: Rubber O-Ring (2) should be sitting between the countertop and faucet base.
Do not use putty or other sealant at this location.
Notes: Solid surface installation: The countertop mounting surface needs to be flat and free of debris; otherwise the faucet may not sit properly and could leak. - Install the mounting hardware to the mounting shank of the Faucet Base (1) underneath the mounting surface in the following order: Rubber Washer (3), Plastic Flange (4) and Fixing Plate (5) (fig. 2B).

- Secure the faucet by tightening the Fixing Nut (6) onto the mounting shank of the Faucet Base (1) and tightening the screws in Fixing Nut (6) (fig. 2B).
Attention: For EOS-BR-304 – skip to Step 11. - Connect Spray Hose (7.1) to Spray Supply Hose (7.2) (fig. 2C).

- Attach the Weight (8) to the Spray Hose (7) approximately 2” (50 mm) above the bend in the bottom of the Spray Hose (fig. 2D).

- Connect the Flexible Supply Hoses (9) to the water supply in the home (fig. 2E).

- For EOS-PD-304 and EOS-PR-304, remove Aerator (10) using the Aerator Key (11) (fig. 2F).
EOS-BR-304, remove Aerator (10) by unscrewing the Aerator Cap (12) by hand (fig. 2G).
- Turn on water, flush the faucet and Aerator (10) to remove any debris and check for leaks (fig. 2H).

- Reinstall the Aerator (10) and ensure everything is functioning properly.

Cleaning and maintenance
Replacing the cartridge
- Shut off the water supply to the faucet.
- Turn on the faucet briefly to relieve any pressure inside the faucet.
- Move the faucet handle to the “OFF” position.
- Remove the set screw from the Handle Assembly (A) using a 2.5 mm Hex Key.
- Pull the Lever Handle (A) from faucet body.
- Unscrew the Cartridge Cap (B) from faucet body.
- Unscrew the Cartridge Lock Nut (C).
- Lift Ceramic Disc Cartridge (D) from the body and repalce it with a new one. Ensure the two lugs on bottom of the cartridge sit properly in the allocated holes at the base of the body.
- Re-assemble faucet in reverse order.
- Test for leakage.
General maintenance
Clean aerator periodically for any buildup.
Do not use harsh detergents, solvents, chemical agents, especially CHLORINE, or metallic sponges as these can damage the surface finish. Clean only with a soft sponge and soapy water.
Do not store chemicals or cleaning agents in the immediate vicinity of the faucet and connection hoses. Chemical vapors could cause damage.
Attention! For outdoor installation product must be protected from freezing temperatures. Disconnect hot and cold supply hoses from home, open the handle to drain out all water. Disconnect spray hose and ensure all water is removed from spray hose/ spray head. Cover faucet with protective covering to keep warm.

Spare/replacement list
EOS-PD-316 / 304 / IBK / GLD and EOS-PR-304 / IBK / GLD

| 1 | F4202* | Handle Assembly |
| 2 | F206502 | Cartridge |
| 3 | F3319* | Spray Head Assembly |
| 4 | F3320 | Hot & Cold Supply Hose |
| 5 | F3321 | Pull Out Spray Hose |
| 6 | F4203 | Fastening Set |
*Must specify finish.
Spare/replacement list
EOS-BR-304 / IBK / GLD

| 1 | F4202* | Handle Assembly |
| 2 | F206502 | Cartridge |
| 3 | F3322* | Aerator and O-Ring |
| 4 | F3320 | Hot & Cold Supply Hose |
| 5 | F4203 | Fastening Set |
*Must specify finish.
For any further information about our products, about the installation of them or about the warranty please contact our customer service department:
| Franke Kitchen Systems North America, LLC 800 Aviation Parkway Smyrna, TN 37167, USA Phone: 1-800-626-5771 [email protected] | Franke Kindred Canada Ltd. 1000 Franke Kindred Way Midland, ON LR4 4K9 Phone: 1-866-687-7465 [email protected] |
Warranty website: https://www.franke.com/us/en/hs/support/warranty.html
https://www.franke.com/us/en/hs/support/warranty.html
Phone: 1- 800-626-5771
Website: www.franke.us/ks
E-mail: [email protected]
























