USER MANUAL
ZL-X15BT SELF POWERED
2-WAY LOUDSPEAKER
WITH USB/BT/ MIC-LINE INPUTS
AND WHEELS
UNIQUE.POWERFUL.LOUD
System features
Self-Powered 15″ / 2-way Loudspeaker with USB /BT / Mic-Line Inputs and Wheels
Features include a 15″ woofer and a 1.75“ compression driver with a 250W continuous (RMS) high-quality Class-AB Bi-amplifier. Time aligned electronic crossover with 2nd order filter at 1 kHz and subsonic 2nd order filter at 35Hz. Handles support an easy grip for better handling. Tripod / Pole mount capable, allows for an array of configurations. includes Power and Clip LED indicators, XLR and TSR combo inputs, and an XLR line output. The Equalizer provides 120 Hz +/- 6dB Bass and 1200HZ +/- 6dB Middle and 10KHZ +/- 6dB Treble.
- 15” woofer (PRO-Z15) for low-end punch in a compact enclosure and 1.75” high-frequency titanium compression driver (PRO-DR1.75).
- Durable composite construction with innovative hi/lo grip design for easy tripod stands mounting.
- 40Hz-20KHz frequency range.
- 250W continuous (RMS) ,1000W Peak power handling.
- 98dB SPL sensitivity, 130 dB Max SPL.
- Class-AB Bi-amplifier.
- MP3 player with LCD display, USB, BLUETOOTH, and TWS technology.
- Aluminum back plate.
- 5 *M8 Rigging points.
- Heavy-duty steel grill.
- XLR mix output.
- XLR/TRS combo input with MIC/LINE selector.
- USB player with folder search function.
QUICK SETUP
The ZL-X15BT includes a fully integrated audio system with carefully matched electronics and transducers. These products make it easy to set up a high-quality sound system quickly with a minimum amount of cables and external electronics. To set up a full-range powered loudspeaker.
| STEPS | ILLUSTRATIONS |
| 1. Connect the supplied AC power cord on the rear of the speaker to an available power outlet. | ![]() |
| 2. Insert your USB flash into the USB connector. | ![]() |
| 3. Turn the MP3 LEVEL and MASTER knobs to the MIN position. | ![]() |
| 4. Turn on the POWER switch. | ![]() |
| 5. Press the PLAY button. | ![]() |
| 6. Adjust the MP3 LEVEL and MASTER knob to the desired volume. | ![]() |
Tripod and floor monitor operation
Mounting a Loudspeaker on a Tripod Stand
CAUTION! Two-person lift and placement are
recommended for the heavier loudspeakers. Single-person lift and placement of heavier loudspeakers may result in injury.
To mount a loudspeaker on a tripod stand:
- Place the tripod stand on a level stable surface.
- Fully extend the legs of the tripod stand.
- Do not compromise the tripod stand’s structural integrity by trying to make them stand taller.
- Do not attempt to suspend more than one loudspeaker on a stand designed for a single loudspeaker.
- Using two hands lift the loudspeaker.
- Insert the tripod through the hole on the bottom of the loudspeaker.

Floor monitor
To set up a loudspeaker as a floor monitor:
- Place the loudspeaker on a level stable surface.
- Safely route cables to prevent injury to performers, production crew, and audience members.

ZL-X15BT amplifier CONTROL panel
The amplifier has a combination of controls and connectors to ensure the most versatile loudspeaker system.
- LINE/MIC INPUT
These balanced inputs accept a standard XLR (female) connector and a 1/4 “ TRS phone jack connector. A range of signals from microphones, audio mixing consoles, and electronic musical instruments may be connected here. The sensitivity of this input is controlled by the LINE/MIC SWITCH. This input does not provide phantom power. - LINE/MIC SWITCH
The selector must be in the “MIC” position for MIC inputs. The MIC setting should only be used if a microphone is connected directly to the MIC/LINE input.
CAUTION: sing the MIC setting for other purposes may introduce distortion. For other sources, the selector must be in the “line” position, this should be used for most other audio inputs. - INPUT LEVEL KNOB
Sets the sensitivity of input A and B channels which controls the signal level sent to the amplifier and the mix out. - MP3 LEVEL KNOB
Turn this knob to adjust the input volume of the USB flash or Bluetooth input. - MASTER KNOB
To adjust the master volume of all inputs (the Mix out will not be controlled by this knob.) - EQ KNOB(TREBLE MID & BASS
Use these knobs to adjust the 3 different frequencies of the speaker.
TREBLE: Increases or decrease the high frequency for MIC / LINE / MP3 sources at a range between -10dB to +10dB.
MID: Increases or decrease the middle frequency for MIC / LINE / MP3 sources at a range between -10dB to +10dB.
BASS: Increases or decrease the Low frequency for MIC / LINE / MP3 sources at a range between -10dB to +10dB.
MIX OUT
Output XLR is a mix of channels A/B and MP3 players. Produces a line-level output signal that is Post Gain. Any adjustments made to the gain of this A/B channel and MP3 affect this output signal. It works as a signal output to link the other active speaker.- AC INPUT
Standard IEC AC input connector. 230V/5A AC fuse. - POWER SWITCH
Will illuminate when power is applied to the unit and the ON/OFF switch is in the ON position. - VOLTAGE SELECTOR
Allows user selection of different local voltage ratings 115V/60Hz – 230V/50Hz. - POWER LED (BLUE)
When power is applied to the unit and the ON/OFF switch is in the ON position this LED will be illuminated. - LIMITER-LED (RED)
The red clip LED indicates that limiting has taken place to protect and avoid damage to the amplifier or loudspeaker. Continuously overdriving the system will cause distortion and may lead to premature failure of the speaker system. If the red limit led is on when both LEVEL controls are at a minimum, your loudspeaker requires service by a qualified professional.
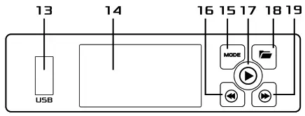
MEDIA PLAYER - USB PORT
Connect your USB flash drive here to play music. - DISPLAY
Display the media panel modes for USB & Bluetooth. - MODE
Press this button to switch to USB or Bluetooth mode. - PREVIOUS
Press this button to play the previous song. - PLAY/PAUSE
Plays or pauses the USB or Bluetooth media panel source. - FOLDER
Press this button to select your MP3 files in USB flash. - NEXT
Press this button to play the next song.
Recommended configurations
Daisy-chaining full-range systems

TWS MODE
- Turn OFF both speakers.
- Access the BT application on the phone, and select “forget” or “remove” ZL-X15BT from the phone, so it won’t interfere with the TWS connection, you will reconnect to it after.
- Turn on both speakers and press the MODE button until you reach BT mode on both speakers.
- Choose which speaker you want as the master (The master speaker is the one who will control the music). Press the “Play” button for 3 seconds and release.
- You will see one speaker saying MASTER and the other SLAVE
- Insert USB or connect the phone via BT to “ZL-X15BT” to the MASTER speaker.
- Be sure to stream the music to the master device. If it is not working, you may have connected to the slave. Insert USB or connect to the other speaker.
- To disconnect pairing, press and hold the PLAY button for 3 seconds.

LDC1.2 Long Distance Remote

RETRACTABLE PULL HANDLE & WHEELS
Equipped with wheels and a retractable pull handle making it is easily portable. Perfect for Dance Studios, Musical Performances, DJs, Conferences, and Events.

SPECIFICATIONS
GENERAL SPECIFICATIONS
Nominal Diameter (speakers)………………………………………… 15″ / 381mm
Number of Ways (speakers) ……………………………………………..2-Way
Nominal Diameter (speakers) ………………………………………… 15″ / 381mm
Number of Ways (speakers)……………………………………………..2-Way
Total Watts (Peak) ……………………………………………………………………………. 1000W
RMS Power (Internal Amp) ………………………………………………. 250W
MAX Power (Internal Amp) ………………………………………………. 500W
Frequency Response …………………………………………………………….42HZ-20KHZ
SPL Output……………………………………………………………………………………………………………..97dB
Max SPL Output………………………………………………………………………………………. 127dB
Coverage Pattern ……………………………………………………………………………… 90° x 60°
BODY – FEATURES
Enclosure Material …………………….. Polypropylene Molded
Waterproof Grade………………………………… NOT waterproof
Grill Type…………………………………………… Perforated Steel with Acoustically Transparent Black Cloth Backing
Color………………………………………………………………………… Black
Monitor Angle…………………………………………………… Yes, Both Sides
Monitor …………………………………………………… Yes, Both Sides
Mounting ………………………………………………………35mm Pole Socket
Mounting ………………………………………………………35mm Pole Socket
Handles …………………………………………………………………………………3
Transporting …………………………………….. Retractile Top Handle and Wheels
WOOFER SPECIFICATIONS
Voice Coil Diameter …………………………………………………….2.57″ / 65.5mm
Voice Coil Former Material……………………………………………… Kapton
Cone Material ………………………………………………………………………………….. Paper / Papel
Surround Material …………………………………………………………………….Cloth / Tela
Basket Material …………………………………………………………………………. Steel / Acero
Magnet Material……………………………………………………………………………. Ferrite / Ferrita
Magnet Weight ……………………………………………………………………………………………..49.6 Oz
TWEETER SPECIFICATIONS
Voice Coil Diameter …………………………………………………….1.75″ / 44.4mm
Type……………………………………………………………… Compression Driver
Diaphragm Material ……………………………………………………………Titanium
Magnet Material ……………………………………………………………………………. Ferrite
Magnet Weight …………………………………………………………………………………………….. 22.2 OZ
AMPLIFIER SPECIFICATIONS
Amplifier Class …………………………………………………… Analog A/B
Amplifier Type ……………………………………………………… Bi-Amplifier
Number of Channels ………………….2 (Hi-Pass / Low Pass)
Minimum Impedance ……………………………………………………………….3 ohm
Audio Source…………………………………………………………………… BT / USB
MP3 Player ………………………… ….. USB MP3/WMA Player with Easy Folder & Files Search Button,
Input Impedance ………………………. 20K Ohm (Balanced)
Line Input Gain ………………………………..Infinity to +4 dBu
Mic Input Gain ………………………….Infinity to +6 dBu
Maximum Input Level ………………………Line:+4dBu/Mic:-20dBu
Equalizer ……………………………………………. 3 band graphic EQ (Bass: 120hz +
Connectors……………………………….. ……..2 x XLR-1/4” combo inputs; Mic/Line selector; 1 x XLR Mixed Output
LED Indicators ……………………….. Front Power LED (White), Rear Power LED (Blue), Rear Clip LED (Red)
Cooling ………………………………………………………………….. Passive Radiator / Radiador Pasivo
Voltage Operation ………………………………………….100-120VAC 50/60Hz; 230-240VAC 50/60Hz
Power Consumption ……………………………..Full Power – 3.5A (Max)
ENCLOSURE MEASUREMENT
Overall Diameter ………………………………………………………………………………17.5″ / 445mm
Overall Depth …………………………………………………………………………… 13.77″ / 350mm
Overall Height ……………………………………………………………………………………..27.7″ / 705mm
Overall Diameter ………………………………………………………………………………17.5″ / 445mm
Overall Depth ………………………………………………………………………….. 13.77″ / 350mm
Overall Height ……………………………………………………………………………………….27.7″ / 705mm
FCC Compliance Statement FCC ID: 2AYOQ-ZL-X15BT
This device complies with Part 15 of the FCC Rules. The operation is subject to the following two conditions: (1)This device may not cause harmful interference, and (2)This device must accept any interference received, including interference that may cause undesired operation. Note: This equipment has been tested and found to comply with the limits for a Class B digital device, pursuant to Part 15 of the FCC Rules. This equipment generates uses and can radiate radio frequency energy and if not installed and used in accordance with the instructions, may cause harmful interference to radio communications. However, there is no guarantee that interference will not occur in a particular installation. If this equipment does cause interference to the radio or television reception, which can be determined by turning the equipment off and then on, the user is encouraged to try to correct the interference by one or more of the following Measures:
- Reorient or relocate the receiving antenna.
- Increase the separation between the equipment and receiver.
- Connect the equipment to a different outlet so that the equipment and receiver are on different branch circuits.
- Consult the dealer or an experienced radio/TV technician for help.
For more information about our products, please visit our website
www.zumba.com www.ds18.com






MIX OUT
MEDIA PLAYER


















