NewStar FPMA-W935 Monitor Wall Mount

Parts

Specifications
- Mounting type Wall Mount
- Movement Type Swivel, Articulating, Tilt
- Brand Neomounts
- TV size 40 Inches
- Color Silver
- Minimum compatible size 10 Inches
- Compatible devices Televisions
- Maximum tilt angle 15 Degrees
Dimension Overview

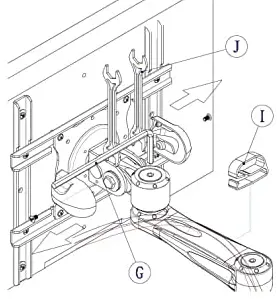
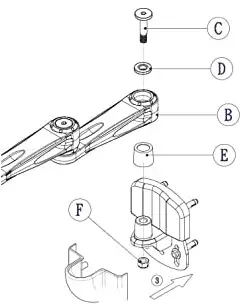
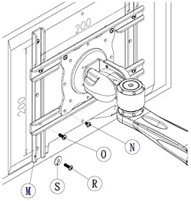
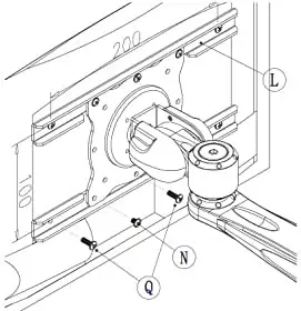
Assembling the Mount
Step 1 Mounting the wall mount

Step 2 Attaching arm to pole

Step 3 Installing the monitor

Option A

Option B

Option C

Step 4
Adjusting the torque

Description
To keep your living room, bedroom, or home theatre installation neat and orderly, hide your cords.
The NewStar FPMA-W935 is appropriate for screens up to 40″ (102 cm) and has two pivot points. Each screen in this product can support 20 kg of weight. The wall mount can hold screens with VESA hole patterns between 75×75 and 200x200mm. NewStar VESA adapter plates can accommodate various hole designs. For your flat-screen TV in the living room, bedroom, or home theatre, create a modern aesthetic. Everything you need for installation is provided with the package.
For flat screens up to 40″ (102 cm), the NewStar wall mount, model FPMA-W935 is a tilt-, swivel-, and rotatable wall mount. When you want the most viewing versatility for your flat screen, this mount is a wonderful option. The display may be effortlessly removed from the wall, moved in almost any direction, turned around corners, and then put back in place.
With the help of NewStar’s tilt (15°), rotate (360°), and swivel (180°) technology, the mount can be adjusted to any viewing position to take full advantage of the flat screen’s capabilities. The mount’s depth may be simply changed between 12 and 45 centimeters. From the mount to the flat screen, cables are hidden and routed via cable management.
Features
The Neomounts FPMA-W935 Monitor Wall Mount is a versatile wall mount that can be used to securely mount a computer monitor to a wall.
Here are some of its features
- VESA Compatibility: The mount is compatible with VESA patterns of up to 400×400 mm, which means it can be used with a wide variety of monitors.
- Weight Capacity: The mount can support monitors weighing up to 30 kg (66 lbs), making it suitable for larger displays.
- Adjustable: The mount is fully adjustable, allowing you to adjust the height, tilt, and swivel of the monitor to your desired viewing angle.
- Cable Management: The mount has integrated cable management, which allows you to keep your cables neat and tidy.
- Easy Installation: The mount comes with all the necessary hardware for installation and can be easily installed on a variety of wall types.
- Durability: The mount is made of high-quality materials, ensuring durability and reliability over time.
- Wall mount with three pivots that tilt and swing is appropriate for screens between 10″ and 40″ (verify VESA compatibility) and up to 20kg maximum. 12 to 45 cm in depth
- With this model, you may pull your screen away from the wall, tilt it forward, swivel it left or right, and select the best viewing angle for your requirements.
- Please review the information below for more details. Suitable for ALL VESA sizes between 75x75mm and 200x200mm (see the product description for a more detailed explanation of VESA).
- 5-Year Guarantee: With over 20 years of experience, Newstar can offer mounts of the highest caliber. The adage “You get what you pay for“
FAQ’s
The NewStar FPMA-W935 Monitor Wall Mount can hold monitors up to 30 kg (66 lbs) in weight.
This monitor mount supports VESA sizes from 75×75 mm to 200×200 mm.
The NewStar FPMA-W935 Monitor Wall Mount has a tilt range of -15° to +15°.
Yes, this monitor mount can swivel up to 180°.
Yes, as long as the monitor has a VESA mount compatible with this mount’s supported sizes, it can be used with curved monitors.
Yes, the necessary installation hardware is included with the NewStar FPMA-W935 Monitor Wall Mount.
The NewStar FPMA-W935 Monitor Wall Mount comes with a five-year warranty.
A NewStar Monitor Wall Mount is a device used to securely mount a computer monitor or television onto a wall, freeing up desk space and improving ergonomics.
NewStar Monitor Wall Mounts are designed to accommodate most flat-screen monitors and TVs up to a certain size and weight. It is important to check the specifications of the specific mount to ensure that it is compatible with your monitor or TV.
The best way to determine which NewStar Monitor Wall Mount is appropriate for your monitor or TV is to consult the product specifications of both the mount and the monitor/TV. This information should be readily available from the manufacturer’s website or manual.
The weight limit of a NewStar Monitor Wall Mount varies depending on the specific model. It is important to consult the product specifications to ensure that the mount can support the weight of your monitor or TV.
Installation instructions vary depending on the specific model of the NewStar Monitor Wall Mount. However, most mounts come with detailed installation instructions and all necessary hardware. It is important to follow the instructions carefully to ensure that the mount is installed correctly and securely.



















