
NEWSTAR Monitor Mount AV It

Caution
To ensure Safety, please read this manual carefully before installation and follow the instructions. Store this manual in a secure place for future reference The manufacturer shall not be legally responsible for any equipment damage or peesonal injury caused by incorrect installation or operation other than that covered in this manual.
Parts 
How to Assemble
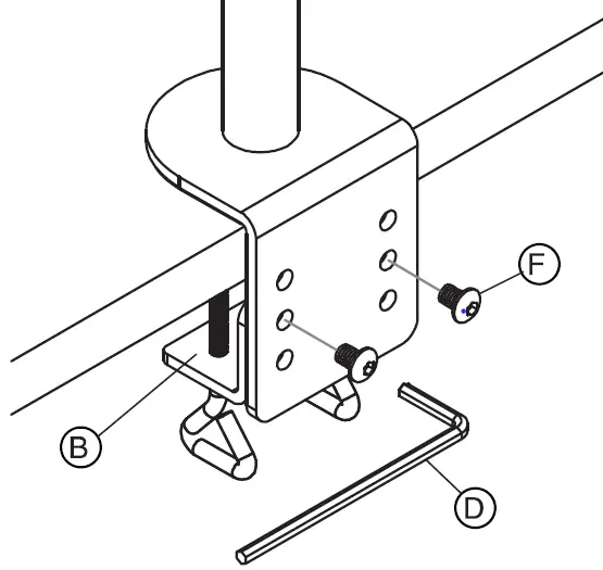
Step 1

Step 2: Attach the arm to the rod, adjust height and tighten

Step 3: Hang the screen onto the bracket and secure it

Option
Adjust the torques 
Step 4:





















