Newstar FPMA-W120 Flat Screen Wall Mount
Tools and Measurement
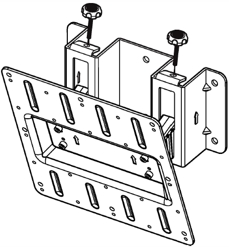
Parts

Assembling Instructions
Step 1
Het installeren van de monitor

Step 2
Mounting the wall mount

Step 3
Attaching the screen to the bracket

Step 4
Securing the bracket

CAUTION
- To ensure safety, please read this manual carefully before installation and follow the instructions. Store this manual in a secure place for future reference.
- The manufacturer shall not be legally responsible for any equipment damage or personal injury caused by incorrect installation or operation other than that covered in this manual.
- The mount is designed for easy installation and removal. The manufacturer shall not be liable for damage to equipment or personal injuries arising out of human factors or acts of nature, such as earthquakes or typhoons.
- It is recommended that the mount be installed by qualified personnel only.
- At least two persons are needed to install or remove the product to avoid the hazard of falling objects.
- Please carefully inspect the area where the mount is to be installed:
- Avoid places that are subject to high temperatures, humidity, or contact with water.
- Do not install the product near air conditioning vents or areas with excess dust and fumes.
- Only install on vertical walls and avoid slanted surfaces.
- Do not install in places subject to any shock or vibration.
- Do not install in places subject to direct exposure to bright light, as it may cause eye fatigue when viewing the display panel.
- Maintain sufficient space around the display to ensure adequate ventilation.
- To ensure a safe installation, first check the structure of the wall, ceiling, or floor and select a secure mounting location.
- The wall, ceiling, or floor should be strong enough to sustain a weight of at least four times the display and mount combined. The mounting location must be able to withstand earthquakes or other strong shocks.
- Do not modify any accessories or use broken parts. Contact your dealer with any questions.
- Tighten all screws (do not exert excessive force to avoid breaking the screw or damaging its thread).
- Drill holes and bolts will be left in the wall, ceiling, or floor once the display and bracket are removed. Stains may occur after extended use.
- Since the manufacturer has no way to control the wall, ceiling, or floor type and installation of the mount, the warranty of the product shall only cover the body of the mount. The warranty period of the product is 5 years.
- Please consult the English language manual for any dispute on conditions.
User Support
- Address: Neomounts Computer Products Europa B.V. I Wateringweg 62 I 2031 EJ Haarlem I The Netherlands I
- Contact no. +3 1(0)23-5478888
- Support: [email protected]
- Email: www.neomounts.com
- Address: Chamber of Commerce 37076185 (VAT NL805154383B0 1 I BIC RABONL2U I IBAN NL51RABO0375403299
FAQ’s
The majority of Newstar flat TVs are made to be wall-mounted, but before you look for a mount, be sure yours is. On the instruction manual or the TV itself, look for “VESA” (Video Electronics Standards Association), followed by a number, such as “VESA 75.” With your TV, any mount with the same VESA number will function.
For fast reference, the ideal viewing distance for a 42″ television is 76 inches. You should be 100 inches away for a 55″ screen. As a general rule, a 42″ television should be mounted around 56 inches from the floor to the TV center, and a 70″ television approximately 67 inches.
The weight won’t be an issue as long as you install the TV mount’s bolts into the wall studs or, if it’s brick, into a security hole in the brick. It won’t be very secure if the screws are only driven into the plasterboard.
When putting a TV on the wall, studs must be used for the screws. The use of hollow-wall anchors is not advised since the weight of the television and the TV wall mount brackets cannot be supported by them. Run a stud finder along the top of the paper once you’ve determined the best spot for hanging a TV on the wall.
This implies that any TV mount you purchase should function as long as it is rated for the size of your television. There are various VESA pattern sizes used by televisions. For televisions up to 32 inches, VESA 200 x 200, VESA 400 x 400, and VESA 600 x 400 are the most popular standards.
The middle of your TV, while seated, is advised to be at eye level by experts. The distance from the floor to the middle of your TV is equal to around 42 inches. You’ll discover that, like with other things, there is a general principle that may be used in most, but not all, circumstances.
The majority of TV mounting methods may be installed in an hour or two, while some wall surfaces, such as brick, stone, tile, or concrete, may require more time to attach hardware. The task can take four hours or longer if your expert needs to add blocking to the installation site for additional assistance.
It’s a fairly straightforward technique, but getting it correctly will be the difference between a mounted TV that looks good and one that might not sit well or even harm the TV. After choosing the ideal location for the bracket on the wall, you must locate the studs to fix it securely.
The many mount types include fixed, tilting or swiveling, and full motion. There is no superior style—it all depends on how your room is organized, where you want to hang the TV, and where you plan to sit.
Keep the center of your TV at eye level while seated, according to experts. The distance from the floor to the center of your TV is typically 42 inches. Nonetheless, depending on how tall you are when seated on your couch, this can be different for you.
In comparison to curved displays, flat panels are more viewable from a wider angle and less reflective. Because of the technologies utilized, flat-panel versions can be substantially lighter than CRT TVs, allowing for bigger sizes. Flat panels can also be installed on walls because they are small and light.
Since the screen isn’t made to hold its weight, LED Televisions shouldn’t be set flat during transportation. Although you can briefly lay it flat, you should never move it in this manner. The LED TV’s screen may bend or fracture if you lay it flat during travel.
TV mounts are the greatest option if you have young children, are limited in space, don’t need additional storage (like for television in the bedroom), want complete flexibility in where you set your TV or want numerous viewing angles.
You won’t need to pack it up, take it down, or repair the wall. Be advised that in some circumstances, amount is considered to be a fixture that must remain when selling a home. If that is your preference, ask your agent whether you can take the mount with you.
A high-quality wall mount will last a lifetime if it is the correct size for your TV and is fitted correctly by a trained installation specialist.
Download this PDF Link: Newstar FPMA-W120 Flat Screen Wall Mount Instructions Manual




















