Rinnai EHPA250VM Enviroflo Heat Pump Hot Water Systems
WARNINGS AND IMPORTANT INFORMATION
SAFETY AND REGULATORY INFORMATION
DO NOT operate this system before reading the manufacturers instructions. This appliance must be installed, commissioned and serviced by an authorised person in accordance with all applicable local rules and regulations. Access covers of water heating system components will expose 240V wiring and MUST only be removed by an authorised person. This appliance is not intended for use by persons (including children) with reduced physical, sensory or mental capabilities, or lack of experience and knowledge, unless they have been given supervision or instruction concerning use of the appliance by a person responsible for their safety. For continued safety of this appliance it must be installed, operated and maintained in accordance with the manufacturer’s instructions. Children should be supervised to ensure they DO NOT play with the appliance. The unit is rated at 15 amps (2 core and earth) so the power mains supplying the unit must have a 15 amp minimum double pole circuit breaker fitted. If the power supply cord is damaged, it MUST BE replaced by an authorised person in order to avoid a hazard. Take care not to touch the power connections or plugs with wet hands.
Care should be taken not to touch the pipe work as it may be HOT!
DO NOT place articles on or against this appliance.
DO NOT store chemicals or flammable materials near this appliance.
DO NOT operate with collectors or covers removed from this appliance.
DO NOT activate heat pump unless cylinder is full of water.
NEVER use a flammable spray such as hair spray, paint, etc near this unit as this may cause a fire.
This appliance uses R290 (propane) refrigerant, which is a flammable gas class 3 according to AS 5149 and MUST be handled by a refrigeration mechanic with appropriate Australian refrigerant handling licence.
WARNING Risk of fire / flammable material. If the refrigerant is leaked, together with an external ignition source, there is a possibility of ignition.
MANDATORY INSPECTION PRIOR TO INSTALLATION
Immediately report any damage or discrepancies to the Supplier of the appliance. This appliance was inspected and tested at the time of manufacture and packaging, and released for transportation without known damage. Upon receipt, inspect the exterior for evidence of rough handling in shipment. Ensure that the appliance is labelled correctly for the gas and electrical supply, and/or other services it is intended to be connected to.
For safety and warranty purposes, appliances that may be damaged or incorrect must not be installed or operated under any circumstances. Installation of damaged or incorrect appliances may contravene local government regulations. Rinnai disclaims any liability or responsibility whatsoever in relation to the installation or operation of damaged or incorrect appliances.
NOTICE TO VICTORIAN CONSUMERS
This appliance must be installed by a person licensed with the Victorian Building Authority.
Only a licensed person will have insurance protecting their workmanship.
So make sure you use a licensed person to install this appliance and ask for your Compliance Certificate. For further information contact the Victorian Building Authority on 1300 815 127
TRANSPORT AND STORAGE OF APPLIANCE
The refrigerant used in the heat pump is a flammable gas. The appliance(s) shall be stored and transported in an area without ignition sources (for example: open flames, an operating gas appliance or an operating electric heater)
DO NOT pierce or burn the appliance.
Be aware that refrigerants may not contain an odour. Compliance with AS/NZS 5149 must be observed while storing the appliance. National and state regulations exist for storage, handling and transport of hazardous goods including flammable gasses. The maximum number of pieces of equipment or the configuration of the equipment, permitted to be transported or stored together will be determined by the applicable regulations.
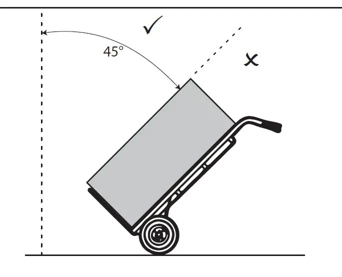
IMPORTANT IMPORTANT DO NOT TILT MORE THAN 45 FROM VERTICAL°
The Rinnai Enviroflo Electric Heat Pump must be transported at an angle no greater that 45º from vertical. As the compressor unit is located at the top of the electric heat pump, should the heat pump be tilted at a greater angle than 45º from vertical, the lubrication oil within the compressor can run down into the mufflers. This will leave the compressor motor without sufficient lubrication and lead to premature failure of the compressor unit. As a general good practice it is better to keep the compressor upright as much as possible to avoid any risks. Returning the Rinnai Electric Heat Pump to a vertical position will not allow the oil to properly flow back into the compressor motor. Tilting Rinnai Hotflo Electric Hot Water beyond 45º from vertical will also place undue strain on compressor motor mounts and associated piping
SCALD HAZARDS
HOT WATER CAN CAUSE SCALDS. CHILDREN, DISABLED, ELDERLY AND THE INFIRM ARE AT THE HIGHEST RISK OF BEING SCALDED. FEEL WATER TEMPERATURE BEFORE BATHING OR SHOWERING. SCALDS FROM HOT WATER TAPS CAN RESULT IN SEVERE INJURIES TO YOUNG CHILDREN. SCALDS OCCUR WHEN CHILDREN ARE EXPOSED DIRECTLY TO HOT WATER WHEN THEY ARE PLACED INTO A BATH WHICH IS TOO HOT.
ALWAYS……
Test the temperature of the water with your elbow before placing your child in the bath, also carefully feel water before bathing or showering yourself. Supervise children whenever they are in the bathroom. Make sure that the hot water tap is turned off tightly.
CONSIDER…..
Installing child proof tap covers or child resistant taps (both approaches will prevent a small hand being able to turn on the tap). Installing tempering valves or thermostatic mixing valves which reduce the hot water temperature delivered to the taps. Your local plumbing authority may already require that these be fitted. Contact your installer or local plumbing authority if in doubt.
NEVER….
Leave a toddler in the care of another child. They may not understand the need to have the water temperature set at a safe level.
OPERATION PRINCIPLE
The operation of an electric heat pump is very similar to a refrigerator, but in reverse. A heat pump operates by transferring heat from the ambient outside air into the water. Electricity is just used to operate the system, but not to directly heat the water. Because of this energy consumption is significantly reduced as compared to an electric element hot water system. The warmer the climate in which the heat pump is installed, the more efficient the heat pump system will be at heating water. The heat pump unit includes a circulation pump which draws water from the bottom of the storage tank and returns it to the tank at a higher temperature. A temperature sensor in the tank is used to control the heat pump operation to achieve suitable tank temperatures. During the occasional times when the ambient weather conditions aren’t suitable for the heat pump to operate, the electric element will provide heating to ensure a supply of hot water.
- Cold water inlet pipe
- Circulation Pump
- Plate Heat Exchanger
- Hot Water from Heat Exchanger to the Tank
- Discharge Ambient Air
- Outlet Air
- Fan Coil Unit
- Compressor
- Heating Element
- Water Temperature Sensor
- PTR Valve
SAFETY DEVICES
The water heating system is supplied with various safety devices including temperature sensors, overheat sensors and switches and a Pressure & Temperature Relief (PTR) valve. These devices must not be tampered with or removed. The water heating system must not be operated unless each of these devices is fitted and is in working order.
DO NOT tamper with or remove safety devices.
DO NOT operate the water heater unless all safety devices are fitted and in working order.
DO NOT block or seal the PTR Valve and drain pipe.
Pressure & Temperature Relief (PTR) Valve
This valve is located near the top of the water heater and is essential for safe operation. It is normal for the valve to release a small quantity of water through the drain line during heating. However, continuous leakage of water from the valve and its drain line may indicate a problem with the water heater.
Lift lever until water flows from drain line (Lower lever genlty!) NEVER block the outlet of the PTR valve or it’s drain line for any reason. The easing gear MUST be operated at least every 6 months to remove lime deposits and verify that it is not blocked. Failure to do this may result in the water heater failing. If the valve does not discharge water when the easing gear lever is opened, or does not seal again when the easing gear is closed, attendance by an authorised person MUST be arranged without delay. The PTR valve is not serviceable.
EXCESSIVE DISCHARGE FROM SAFETY DEVICES
Pressure & Temperature Relief (PTR) Valve
It is normal and desirable that this valve allows a small quantity of water to be discharged during the heating cycle. If it discharges more than a bucket of water during a 24 hour period or discharges continuously there may be another problem. If the valve dribbles continuously, try easing the valve gear for a few seconds as described above. This may dislodge any foreign matter and alleviate the problem. If the valve discharges at high flows, especially at night, it may be as a result of the water pressure exceeding the design pressure of the water heater. Ask your installer to fit a Pressure Limiting Valve (PLV).
NEVER replace the PTR valve with one which has a higher pressure rating than is specified for your water heater.
Expansion Control Valve (ECV) – if required
It is normal that this valve allows a small quantity of water to be discharged during the heating cycle. If it discharges more than a bucket of water during a 24 hour period or discharges continuously there may be another problem.
If the valve leaks continuously, try easing the valve gear for a few seconds. This may dislodge any foreign matter and alleviate the problem. If this does not alleviate the problem contact Rinnai. Operate the easing gear regularly to remove any lime deposits and to verify that it is not blocked.
HYDROGEN GAS
If the hot water unit is not used for two weeks or more, a quantity of hydrogen gas, which is highly flammable, may accumulate in the water heater. To dissipate this safely, it is recommended that a non electrically operated hot tap be turned on for two minutes at a sink, basin, or bath, but not a dishwasher or other appliance. During this procedure there must be no smoking, open flame or any electrical appliance operating nearby. If hydrogen is discharged through the tap, it will probably make a sound like air escaping.
TURNING OFF THE WATER HEATING SYSTEM
If you plan to be away for only a few nights, we suggest you leave the water heating system switched on. If it is necessary to switch off the water heater, do so as outlined below:
DO NOT turn power off to the heat pump unit if snow or frost conditions are expected as components in the system may be damaged by freezing. If power needs to be turned off or power failure occurs and freezing conditions are expected, the water needs to be drained from the heat pump unit. Follow the procedure described below in the section the section ‘Draining and Filling’ on page 9.
TURNING ON THE WATER HEATING SYSTEM
Switch on the electric supply to the heat pump unit. Water heating will now occur as required. It may take a number of hours before hot water is available.
DRAINING AND FILLING
Draining or filling of the complete system normally only occurs during installation or servicing and must be carried out by an authorised person.
Draining water from the heat pump unit is necessary if the power will be shut off to the unit and snow or frost conditions are expected. Arrange for an authorised person to carry out this task. To drain the heat pump:
- Turn off power to the heat pump
- Close the cold water mains supply stop cock
- Open a hot tap to relieve pressure
- Disconnect the hot outlet near the top of the storage cylinder
- Disconnect the cold inlet near the bottom of the storage cylinder.
- The system will now drain completely.
MAINTENANCE AND REGULAR CARE
Operate the easing gear of the PTR and the ECV if fitted as described in the section ‘Safety Devices’ on page 8the section ‘Safety Devices’ on page 8. The overflow tray (supplied by installer) and drain underneath the storage cylinder (if fitted) should be periodically checked to ensure there are no blockages.
SAVE A SERVICE CALL
| INSUFFICIENT OR NO HOT WATER | |
| Heat Pump Unit Not Powered | Check to ensure the electric isolating switch at the switchboard (usually marked “Hot water” or “Water heater” is turned on. (note that the compressor will not start up for 2 minutes after power is turned on). |
| Excessive hot water consumption | Often end users are surprised at the amount of hot water used, especially when showering. If the amount of hot water used during the day exceeds the storage capacity of the cylinder, it is likely there will be insufficient hot water. |
| Pressure & Temperature Relief (PTR) Valve continually discharging water | It is normal and desirable that this valve allows a small quantity of water to be discharged during the heating cycle. If it discharges more than a bucket of water during a 24 hour period or discharges continuously there may be another problem. If the valve dribbles continuously, try easing the valve gear for a few seconds as described in the section ‘Excessive Discharge from Safety Devices’ on page 8. This may dislodge any foreign matter and alleviate the problem. If the valve discharges at high flows, especially at night, it may be as a result of the water pressure exceeding the design pressure of the water heater. Ask your installer to fit a Pressure Limiting Valve (PLV). |
| Expansion Control Valve (ECV) continually discharging water | It is normal and desirable that this valve allows a small quantity of water to be discharged during the heating cycle. If it discharges more than a bucket of water during a 24 hour period or discharges continuously there may be another problem. If the valve leaks continuously, try easing the valve gear for a few seconds as described in the section ‘Excessive Discharge from Safety Devices’ on page 8. This may dislodge any foreign matter and alleviate the problem. If this does not alleviate the problem contact Rinnai. |
| Ambient conditions too hot | To protect the components of the heat pump unit it may not operate when the ambient temperature is higher than 45°C. The heating element will operate if water heating is required, but may take longer to heat the water. |
| Ambient conditions too cold | To protect the components of the heat pump unit it may not operate when the ambient temperature is less than -1°C. The heating element will operate if water heating is required, but may take longer to heat the water. |
| NO WATER FROM THE TAP | |
| Restriction in the hot tap or failure of the cold water supply to the water heater | Check for water flow at the other taps and that the cold water isolation valve is fully open. |
| HIGH ELECTRICITY BILLS | |
| Excessive hot water consumption | See entry under the heading ‘Insufficient or no hot water’ |
| High Electricity Tariffs | The electricity tariff will determine the running costs of the system. It is important the end user is aware of the applicable tariffs. Contact your electricity supplier to confirm what these tariffs are. |
| Higher Element Usage | In extremely cold conditions the element may be operating more than normal. |
| WATER FLOW FLUCTUATIONS | |
| One or more hot taps opened at the same time | More than one or two hot taps in use at the same time may cause a decrease in the hot water flow from the taps. Is there more than one or two hot taps open, or are appliances such as a dishwasher or washing machine, in use at the same time? Ensure only one or two hot taps are on at one time. |
| WATER HAMMER | |
| Hot and cold water plumbing in the premises | Have a plumber check clipping of hot and cold water pipe work and install a pressure limiting valve and water hammer arrestor as required. |
| HEAT PUMP ICES UP | |
| Defrosting function | The heat pump has a built in hot by pass defrosting function which may operate and remove any ice. |
SPECIFICASPECIFICATIONS TIONS
SYSTEM SPECIFICATIONS
| EHPA250VM | EHPA315VM | ||
| Net Weight / Weight Filled | 112 kg / 390 kg | 132 kg / 445 kg | |
| Sound Level | 48 dB(A) | ||
| Ambient Temperature Limits (for heat pump operation – element will operate beyond these limits) | -1°C to 45°C | ||
| Ingress Protection | IP24 | ||
| Storage Cylinder – Hot Outlet and Cold inlet Connections | ISO 7.1 ¾” RP | ||
| Storage Cylinder – PTR Valve Connection | ISO 7.1 ½” RP | ||
| Pressure & Temperature Relief (PTR) Valve (Supplied) Setting / Rating | 1000 kPa / 10kW | ||
| ECV Fitted | Fit PLV if mains pressure exceeds | 680 kPa | |
| Recommended PLV pressure rating | 500 kPa | ||
| ECV Not Fitted | Fit PLV if mains pressure exceeds | 800 kPa | |
| Recommended PLV pressure rating | 500 kPa | ||
| Rated Input Electric Element (Factory Wired) | 2.4 kW | ||
| Rated Input Refrigeration Module (Factory Wired) | 1.0 KW | ||
| Total Rated Input (To be wired by installer) | 3.4 KW | ||
| Maximum Energy Output (Use to size PTR) | 4.29 kW | ||
| Power Supply | 240 V AC, 50 Hz. | ||
| Rated Current | 15 A | ||
| Refrigerant Type / Mass | R290 / 300 g | ||
| Refrigerant Compressor Oil Type / Charge | Type: ISO VG 32 ESTER / 500 cm³ | ||
| Refrigerant Circuit Maximum Pressure | 3800 kPa | ||
| Startup Protection | When the power is first turned on to the heat pump or power is cut then restored, the unit will not start for 2 minutes to protect the compressor | ||
| Defrosting Function | When the fan coil unit temperature reaches 0°C, the hot discharge bypass defrosting mode will operate for 15 minutes or until the evaporator temperature reaches 5°C. | ||
|
Protection Systems | The heat pump has protection systems that will stop the operation of the unit if: Suction pressure drops due to refrigerant charge loss or air flow blockage Over pressure (551 Psi) or over temperature (110°C) in the refrigerant system | ||
DIMENSIONS
| EHPA250VM | EHPA315VM | |
| Cylinder height | 1872 | 2165 |
| Hot Outlet / PTR | 1248 | 1541 |
| Cold water inlet | 210 | 210 |
| Cylinder diameter | 611 | 611 |

CLEARANCES

INSTALLATION
REGULATIONS AND OCCUPATION HEALTH AND SAFETY (OH&S)
Installation and commissioning MUST be performed by authorised persons. The heat pump MUST be installed in accordance with these instructions and all regulatory requirements which exist in your area including those in relation to manual lifting. Applicable publications and regulations may include:
- AS/NZS 3500 National Plumbing and Drainage
- AS/NZS 3000 Wiring Rules
- Building Codes of Australia (BCA)
- Local Occupational Health and Safety (OH&S) regulations
This appliance is not suitable for use as a domestic spa pool or swimming pool heater. Electric Heat pumps are heavy and bulky items. Australian States and Territories have a Principal Occupational Health and Safety (OH&S) Act which contains requirements relating to the handling of large, bulky or awkward items. Persons installing heat pump systems MUST be aware of their responsibilities and be adequately trained and qualified, in accordance with local OH&S requirements.
LOCATION
The electric heat pump can be installed externally or internally. The electric heat pump should be placed as close as practicable to the most frequently used hot water outlet point or points to minimize the delay time for hot water delivery. This will usually be the kitchen tap. For installations where the distance between the heat pump and the outlets is considerable, a flow and return system can be used which minimize the waiting time for hot water delivery. It is recommended that all components are installed at ground or floor level. The heat pump MUST be installed in a vertically upright position. All components MUST be accessible without the use of a ladder or scaffold. The unit MUST NOT be installed in roof spaces. The air inlet and outlet of the heat pump module MUST be away from areas with strong wind and MUST be provided with sufficient clearances as per those shown in the section ‘’ on page 13. The heat pump MUST be connected to an independent AC 240 V, 50 Hz power supply. Ensure the pressure and temperature pressure relief (PTR) valve and any access covers have sufficient clearances and are accessible for service and removal. The information on the rating plates MUST also be readable. The heat pump MUST be installed free-standing on a level and stable base. The cylinder should be mounted on a concrete base at least 50mm thick or on well-seasoned, evenly spread hardwood slats with a thickness of at least 25mm. Where property damage can occur as a result of water leakage, the storage cylinder MUST be installed with a safe tray (overflow tray) and drain in accordance with AS 3500.4. Ensure the storage cylinder DOES NOT stand on wet surfaces.
The air inlet and outlet of the heat pump module MUST be away from areas with strong wind and MUST be provided with sufficient clearances as per those shown in section “Clearances” on page 14. The heat pump MUST be connected to an independent AC 240 V, 50 Hz power supply.
Internal Installation
For internal installations the area MUST meet the following requirements:
- Minimum room volume of 39m3 per unit.
- Good ventilation.
- Away from any ignition sources or corrosive environments.
If the heat pump is installed internally careful consideration should be taken in regards to positioning and limiting the effect of unit noise and reverberation during operation.
Condensation
As this heat pump is highly efficient the surrounding air temperature could be cooled by up to 4°C and condensate formed, the condensate will need to plumbed to a suitable drain.
Drainage
Where property damage can occur as a result of water leakage, the water heater MUST be installed with a safe tray (overflow tray) and drain. Construction, installation and draining of the safe tray MUST comply with local regulatory requirements and. AS/NZS 3500.4 also requires the use of a safe tray for particular situations.
WATER SUPPLY
The maximum water pressure is listed on page 12. An approved pressure limiting valve may be required if the maximum rated water supply pressure is exceeded.
Water chemistry and impurity limits are detailed in the separate warranty document. Most metropolitan water supplies fall within these requirements. If you are unsure about water quality, contact your water authority. A water filter MUST be fitted on the inlet to the tank to prevent sludge or foreign matter entering the system. In a scaling water supply, calcium carbonate and possibly other compounds are deposited out of the water onto any hot metallic surface and form a scale. Scaling water may cause scale deposits to form onto the metallic surfaces of the PTR valve and may prevent it from operating properly. To prevent this, an expansion control valve (ECV) MUST be fitted on the cold water line after the non-return valve in areas of scaling water. ECVs’ MUST be fitted in South Australia and Western Australia to comply with local regulations.
STORAGE TEMPERATURE
To meet regulatory requirements the thermostat control on the heat pump water heater is factory pre-set to heat all the water in the tank to 60°C once a week. This cannot be altered.
HOT WATER DELIVERY TEMPERATURE
This appliance may deliver water at high temperature. Refer to the Plumbing Code of Australia (PCA), local requirements and installation instructions to determine if additional delivery temperature control is required. The PCA, local regulations and the requirements of AS/NZS 3500.4 MUST be considered regarding the temperature limitations of hot water supplied to areas used primarily for personal hygiene. The temperature of water to certain are s is limited to different temperatures according to purpose, for e.g. early childhood centres, primary and secondary schools and nursing homes or similar facilities for young, aged, sick or people with disabilities and for all other buildings. To comply with these requirements, a temperature limiting device, such as a thermostatic mixing or tempering valve, will be required on hot water systems.
VALVES AND FITTINGS
The following valves and fittings are supplied with your solar hot water system:
- A combined pressure and temperature (PTR) relief valve, capacity 10 kW is supplied with the heat pump. This valve is fitted at the top of the storage cylinder. The PTR valve is a safety device and it is mandatory that it is fitted by the installer in all installations.
The following valves & fittings are to be supplied by the installer:
- A cold water expansion control valve (ECV). An ECV MUST be fitted in Western Australia and South Australia to the cold water supply to the storage cylinder to comply with local regulations. An ECV is recommended in all other geographical areas where the water supply has a tendency to cause scaling. This will reduce hot water discharge from the pressure and temperature relief (PTR) valve which minimises wear on this valve.
- A stop cock, non return valve and line strainer. Combination valves incorporating two or more of these functions (such as ‘Trio’ valves) are suitable. These are fitted to the cold water supply to the storage cylinder by the installer.
- Cold water supply and hot water discharge pipework to and from the storage cylinder. This pipework MUST be insulated as specified in AS/NZS3500.4
- An approved pressure limiting valve (supplied with some systems) is required if the maximum rated water supply pressure on page 12 is exceeded.
- Tempering valve(s) or thermostatic mixing valve
TRANSPORT AND HANDLING
When moving the unit, it MUST be close to vertical at all times. When using a trolley to move the unit, ensure it is not tilted more than 45° from the vertical. Non compliance will void warranty and severely affect product performance and operation
The Rinnai Enviroflo Electric Heat Pump MUST be transported at an angle no greater that 45º from vertical. As the compressor unit is located at the top of the electric heat pump, should the heat pump be tilted at a greater angle than 45º from vertical, the lubrication oil within the compressor can run down into the mufflers. This will leave the compressor motor without sufficient lubrication and lead to premature failure of the compressor unit. As a general good practice it is better to keep the compressor upright as much as possible to avoid any risks. Returning the Rinnai Electric Heat Pump to a vertical position will not allow the oil to properly flow back into the compressor motor. Tilting the heat pump beyond 45º from vertical will also place undue strain on compressor motor mounts and associated piping.
POSITIONING THE HEAT PUMP
Arrive at site and conduct a safety audit (Safety audits can also be known as Work Method Statements (WMS) or Job Site Analysis (JSA). Park your vehicle as close as allowable to your installation. Unload all materials in a safe manner. Position all materials in a convenient position near the work area. Where the requirements for internal installation can’t be met, the heat pump MUST be installed outdoors. The location MUST consider noise impact on living areas. Avoid positioning near bedrooms or neighbours’ bedrooms. Although the running noise level is very low it can be expected that the heat pump will run during the night. Adequate access MUST be available to the relief valve and anode. Safely position the new unit on a level surface in accordance with all plumbing and building regulations. A properly drained overflow tray MUST be used where property damage could occur from water spillage. (See AS/NZS3500.4.2 for further details.)
DO NOT drain on to grass or garden beds.
DO NOT commence a job where the risks cannot be controlled.
Allow 200m3 of free space surrounding the unit. This provides clear ambient airflow assisting the product’s performance. Ensure the clearance requirements specified in the section ‘Dimensions’ on page 13. are complied with. The area MUST also be clear of debris such as leaves and tree branches.
CONNECT THE PTR VALVE
Connect the PTR valve to the uppermost fitting of the storage cylinder. See the diagram on page the section ‘Dimensions’ on page 13. The PTR pressure rating MUST be suited for the cylinder and adequate for the thermal loading applied to the storage cylinder, as specified in the table on 12. The supplied PTR valve input rating is 10.0 kW. The PTR valve rating MUST EXCEED the total input from the heat pump. For example, the maximum output from the EHPA250VM is 4.29 kW (see the table on page 12). This is less than 10.0 kW, hence the supplied PTR valve is of sufficient capacity. Use Teflon thread tape on the valve, never use hemp or other sealing materials. Ensure the tape does not protrude past the end of the thread, which could result in it hanging over the end of the thread and blocking the water passage through the valve. The PTR valve MUST be installed on the connection marked ‘hot water outlet’ near the top of the cylinder. Leave the valve outlet pointing down. Tighten the valve using the spanner flats – never use the valve body. Connect the supplied PTR valve into the top socket marked “Relief Valve” and discharge according to plumbing regulations. PTR Valves for the unit are rated at 1000kpa. The drain line from this valve MUST run in a continuously downward direction with the discharge end left permanently open to atmosphere.
PLUMBING CONNECTIONS
Refer to the diagram on page 13 for detailed information on position of plumbing. An approved isolating valve, non return valve, line strainer, and union MUST be fitted between the supply main and the RP ¾ socket in the water heater. All fittings MUST be approved by the relevant installation Authority. An ECV MUST be fitted in Western Australia and South Australia to the cold water supply to the storage cylinder to comply with local regulations. An ECV is recommended in all other geographical areas where the water supply has a tendency to cause scaling. This will reduce hot water discharge from the pressure and temperature relief (PTR) valve which minimises wear on this valve. This water heater is designed for direct connection to water supply pressures of no greater than those specified on page 12. Where the mains pressure can exceed or fluctuate beyond this, a pressure limiting device (complying with AS1357) MUST be fitted.
CONNECT COLD / HOT WATER SUPPLY
Connect cold water supply, Pressure Limiting Valve (PLV) and or Expansion Control Valve (ECV). Connect cold water supply to the storage tank (refer to Diagram BELOW). A stop cock, non return valve and line strainer MUST be fitted.
Connect the pipe work supplying hot water to the premises to the hot water outlet on the tank. A temperature limiting device may be required as detailed in the section the section ‘Hot Water Delivery Temperature’ on page 16 It is recommended that all hot water lines are insulated with high temperature, UV resistant 13mm closed cell insulation.
CONNECT CONDENSATE DRAIN LINE
A condensation drain line is required to be fitted to carry discharge clear of the water heater. The condensate drain line should not be connected to the PTR drain line but can exit to the same point. The diagram below shows the location of the condensate drain on the heat pump. Independent 15mm copper pipes MUST be fitted to the drain outlets of the PTR and ECV. Each pipe MUST be open to atmosphere and run with a continual downward grade in a frost free environment to a visible discharge point. Drain lines MUST not exceed 9 meters in length. Valves or other restrictions MUST NOT be placed in the relief valve drain outlet line.
ELECTRICAL TESTS
DO NOT turn on the power supply to the appliance until it has been filled with water and a satisfactory insulation (Megger) test has been performed.
Conducting Insulation (Megger) Tests
When conducting an insulation test using a Megger on this appliance, observe the then the following: This appliance contains electronic components, when performing insulation tests (500 Volts) this MUST ONLY be conducted the across active terminal to earth and then across the neutral terminal to earth. Tests between the active to neutral terminals MUST NOT be performed as this WILL damage the electronic components.
Insulation test results of between 100 KΩ and 660 KΩ are normal for this appliance. In accordance with AS/NZS 3000 an insulation test with a result less than 1 MΩ is permitted where the appliance is approved to a Standard applicable to that class of appliance. This appliance is categorised as a ‘stationary Class 1 motor operated appliance’ and therefore satisfies the requirements of AS/NZS 60335.2.40 for leakage current and electric strength. As such, this appliance complies with the insulation resistance requirements of AS/NZS 3000.
ELECTRICAL CONNECTIONS
The power supply to the heat pump module MUST NOT be activated until the system is filled with water. The premises wiring to the heater MUST be capable of withstanding the appliance load. Refer to specification table for load details. All electrical connections and wiring MUST be installed, maintained and removed by authorized persons in accordance with AS/NZS 3000, and all other relevant local regulations and municipal building codes including OH&S requirements. The Heat Pump is NOT fitted with a power cord & plug , It MUST have the supply terminals connected to an independent, fused, AC 240V 50 Hz power supply with an isolating switch installed at the switch board, which shall effectively isolate all active supply conductors from the circuit and means for disconnection MUST be incorporated in the fixed wiring in accordance with the wiring rules. A Residual Current Circuit Breaker is recommended for the power supply to this appliance (this may be a mandatory requirements in some states or jurisdictions).Electrical access is via a 20 mm hole beneath the element cover for mounting with an approved weatherproof electrical conduit nipple. For entry to the element cover remove the two fixing screws. Connect all ACTIVE and NEUTRAL wires in accordance with the wiring diagram which is also included at the rear of the element access cover. Ensure the incoming EARTH wire is securely fixed to the earth post provided on the heater case. Inspect and ensure that all wiring links are secure prior to fixing the access cover and turning the POWER ON. To ensure the over-temperature and energy cut-out is set, press the (red) ‘reset’ button on the Thermostat This appliance MUST NOT be connected via a switchable or a solar (photovoltaic – PV) power supply without manufacturer consultation. The switching of the supplies will place the water heater into a re-start cycle which reduces the available heating time and may result in a lack of hot water. It is recommended this appliance is connected to either a 24 hour continuous tariff or an extended off-peak power supply (minimum 16 hours per day, noting that the minimum required running time is governed by hot water demand and the climate zone. If this appliance is replacing an electric water heater with a capacity of 250 litres (or greater), then a connection to a 24 hour continuous tariff supply is recommended.
Disconnect all power prior to installation and commissioning. This appliance is designed for single phase 240 Volts, AC mains electrical operation.
FILLING THE SYSTEM
Open hot water tap at sink. Open the stop cock in the cold water main supply line. Allow the system to fill and the air to bleed through the tap. Turn off the hot tap at the sink when water flows freely without any air bubbles or air bursts. Bleed any remaining air from the PTR valve. Automatic air bleed valve is fitted on top of the circulation pump of the heat pump module: Turn on power to the heat pump unit. Wait 30 s for the circulation pump to turn on Any remaining air will be bled from the automatic air vent. If leaks are detected turn off power to the heat pump, repair any leaks and repeat the filling process to remove any air. If no leaks are detected water heating can commence. The heat pump will start up after the 2 minute protection time
FINISHING THE INSTALLATION
After testing is completed explain to the householder the functions and operation of heat pump water heater components. Explain to the householder the need to drain the heat pump if freezing conditions are likely and power is likely to be shut off.
Also explain to the householder the importance of carrying out maintenance in accordance with this manual.
Leave this manual with the householder.
OPERATION SEQUENCE OF CONTROLLER
When the power supply turns on, the heat pump control system initiates and will check the unit’s operating parameters. The controller will check on all sensors, pressure switches and also main voltage. If conditions are suitable (i.e All reading within the reasonable range) and there is enough energy available in the surrounding air, the fan, circulating pump and compressor will turn on. If not enough energy is detected in ambient air then the controller calls for the booster heating element to run. There will be a delay of approximately 2 minutes from the time the main power is switched on before the pump, fan and compressor begin operating. The unit is self regulating so there are no internal adjustments to be made during commissioning. When the unit is operated for the first time, it runs through an initial heat up cycle, allow time for the initial heat up cycle. Depending on the ambient conditions this can take several hours. Once its first heat up cycle is complete, empty approximately 60 litres of hot water from the tank through the PTR valve outlet then allow the water in the tank to re-heat. Once the re-heat cycle is completed measure the water temperature at the PTR outlet again. The temperature will be approximately 60º C. If for any reason the unit does not start, the water is cold and the controller unit is not displaying any LED lights, an electrician should test that power is available to the heat pump.
| 1 | DIP Switch Test & Configuration | 7 | Low Pressure Switch |
| 2 | Ambient Temperature Sensor | 8 | High Pressure Switch |
| 3 | Water Tank Temperature Sensor | 9 | Programming Port |
| 4 | Compressor Discharge Temperature Sensor | 10 | Compressor, Element , Main Power |
| 5 | Fan Coil (Evaporator) Temperature Sensor | 11 | 2 A Fuse |
| 6 | LED Lights | 12 | Fan, Pump, Defrost |
CONTROLLER LED FLASHING CODES
Ensure the controller unit is displaying the green LED once unit has been switched on. The continuous green LED means that there is no fault.
| Green LED Flashing Frequency / Second | Explanation |
| Once | Refrigeration On (Compressor, Fan, Pump) |
| Twice | Heating Element On |
| Three Times | Defrosting On (Solenoids) |
If the controller is displaying the red LED, refer to the table below to find the fault:
| Red LED Flashing Frequency / Second | Explanation |
| Once | Tank Sensor- FAILURE |
| Twice | Ambient Sensor – FAILURE |
| Three Times | Evaporator Sensor – FAILURE |
| Four Times | Compressor Discharge Sensor- FAILURE |
| Five Times | Compressor Discharge Sensor ≥ 110° C |
| Six Times | Low Pressure Switch Open |
| Seven Times | High Pressure Switch Open |
| Eight Times | Under Voltage <190 V AC |
| Nine Times | Over Voltage > 265 V AC |
The dip switches can be used to go to the test mode for the functionality of various components. In test mode the
output relays L1. L2, L3, L4 will be controlled manually by dip switches irrespective of input reading.
| DIP Switch Configuration | Explanation |
| No 8 Off – Factory Set | Normal Operation Mode |
| No 7 Off – Default | Normal Operation Mode |
| No 7 On | Test Mode |
| No 7 + No 1 On | Compressor (L1) On |
| No 7 + No 2 On | Fan/Pump (L2) On |
| No 7 + No 3 On | Element (L3) On |
| No 7 + No 4 On | Defrost Solenoids (L4) ON |
Any changes to the normal operating settings may adversely affect the performance of the heat pump
innai Australia Pty Ltd
ABN 74 005 138 769 | AU45204
100 Atlantic Drive, Keysborough, Victoria 3173
P.O. Box 460, Braeside, Victoria 3195
Tel: (03) 9271 6625
Fax: (03) 9271 6622
National Help Line
Tel: 1300 555 545* Fax: 1300 555 655
Monday to Friday, 8.00 am to 5.00 pm EST.
After Hours Hot Water Service Line
Tel: 1800 000 340*
*Cost of a local call is higher from a mobile or public phones. For further information visit www.rinnai.com.au or email [email protected] Rinnai has a Service and Spare Parts network with personnel who are fully trained and equipped to give the best service on your Rinnai appliance. If your appliance requires service, please call our National Help Line. Rinnai recommends that this appliance be serviced every 3 years. With our policy of continuous improvement, we reserve the right to change, or discontinue at any time, specifications or designs without notice.




















