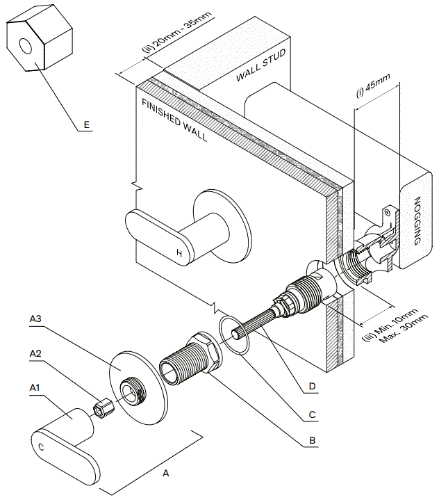
SUSSEX DWTA Duet Wall

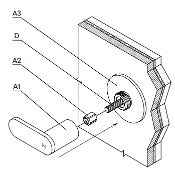
The Duet Wall Top Assembly is a tapware product from Sussex Taps. It is designed for installation into a wall breech and comes with two rough-in options. The assembly includes a handle assembly (consisting of A1 – Handle, A2 – Spindle Adapter, and A3 – Dress Ring), a 50mm locknut (B), a fibre washer (C), a 90mm spindle (D), and a spindle sizing gauge (E).
Parts
- Handle Assembly (consisting of A1 – Handle, A2 – Spindle Adapter and A3 – Dress Ring).
- 50mm Locknut.
- Fibre Washer.
- 90mm Spindle.
- Spindle Sizing Gauge
Plumber Note
While the specifications shown are correct at the time of printing, Sussex Taps reserves the right to make modifications without prior notice. Always use the physical product for accurate measurements. Dimensions are subject to change without notice. All measurements are shown in millimetres.
Product Installation Instructions
Rough-In Option 1: Installing Tapware into a New Wall Breech
- A standard Plumbing Wall Breech (not supplied) is to be used in conjunction with this Tapware.
- Secure a nogging 45mm (i) back from the front of the stud. Attach the Wall Breech to the nogging.
- Ensure the Breech Tap Seat Bodies are square and parallel between the Wall Studs.
- To fit correctly, the thickness of the finished Wall coverings is calculated between 20mm and 35mm (ii).
- The Tap Seat Body of the Breech MUST be a minimum of 10mm and a maximum of 30mm (iii) back from the finished wall coverings.
- If the wall coverings and Tap Seat Body do not sit within the specified range, please contact the manufacturer.
Rough-In Option 2: Installing into an Existing Wall Breech
- Remove the old Spindles and clean surrounding area.
- Use a re-seating tool to dress the Seat and ensure the Spindle Seat is clean, flat, and free of any debris.
- Ensure the Breech Tap Seat Bodies are square and parallel between the Wall Studs.
- The Tap Seat Body of the Breech MUST be a minimum of 10mm and a maximum of 30mm (iii) back from the finished wall coverings.
- If the finished wall coverings and Tap Seat Body do not sit within the specified range, please contact the manufacturer.
Product Usage Instructions
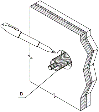
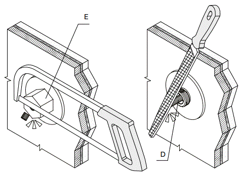
- Screw Spindle (D) into the Tap Seat Body by hand until the seat is felt. Tighten with an additional 1/3 turn of a spanner. DO NOT OVER TIGHTEN. Fit Fibre Washer (C) and screw Locknut (B) onto Spindle (D) for measurement.
- Measure the amount of Locknut (B) protruding from the finished wall and mark the Locknut flush with the wall. Remove Locknut for cutting.
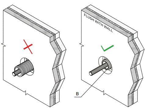
- Cut and Deburr Locknut (B). Refit on Spindle (D) with Fibre Washer (C) and tightening well using a tube spanner.
- The Locknut (B) must be cut to be flush or slightly behind the finished wall, as per diagram.
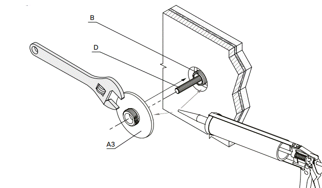
- Seal the wall penetration. Then screw the Dress Ring (A3) onto the Locknut (B) and secure using a spanner.
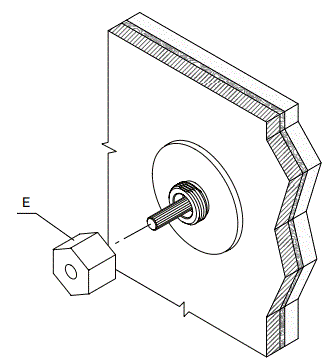
- Thread the provided Spindle Sizing Gauge (E) onto the Dress Ring (A3).
- Cut Spindle (D) against the face of the Sizing Gauge (E). Remove Gauge and deburr the edges to ensure the spindle adapter will fit.
- Ensure both spindles (D) are set to OFF position: HOT = FULL TURN CLOCKWISE. COLD = FULL TURN ANTICLOCKWISE.
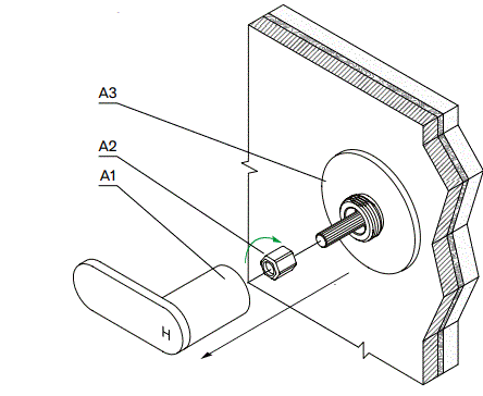
- Fit the Spindle Adapter (A2) onto the end of the spindle (D). Now position and fit the handle (A1) to engage the lever of the handle assembly.
- Ensure that the handle (A1) is horizontally aligned. Rotate the barrel until it meets the Dress Ring (A3).
Product code
- DWTA
Assembly
Rough-in Option 1: Installing tapware into a new wall breech
- A standard Plumbing Wall Breech (not supplied) is to be used in conjunction with this Tapware.
- Secure a nogging 45mm (i) back from the front of the stud. Attach the Wall Breech to the nogging.
- Ensure the Breech Tap Seat Bodies are square and parallel between the Wall Studs.
- To fit correctly, the thickness of the finished Wall coverings is calculated between 20mm and 35mm (ii)
- The Tap Seat Body of the Breech MUST be a minimum of 10mm and a maximum of 30mm (iii) back from the finished wall coverings.
- If the wall coverings and Tap Seat Body do not sit within the range specified. Please contact manufacturer.
Rough-in Option 2: Installing into an existing wall breech
- Remove the old Spindles and clean surrounding area.
- Use a re-seating tool to dress the Seat and ensure the Spindle Seat is clean, flat and free of any debris.
- Ensure the Breech Tap Seat Bodies are square and parallel between the Wall Studs.
- The Tap Seat Body of the Breech MUST be a minimum of 10mm and a maximum of 30mm (iii) back from the finished wall coverings.
- If the finished wall coverings and Tap Seat Body do not sit within the range specified. Please contact manufacturer.
Product parts

- (A) Handle Assembly (consisting of A1 – Handle, A2 – Spindle Adapter and A3 – Dress Ring).
- (B) 50mm Locknut.
- (C) Fibre Washer.
- (D) 90mm Spindle.
- (E) Spindle Sizing Guage
Plumber note
- Tapware is to be installed by a Licensed Plumber in accordance with AS/NZS 3500:2021
- Recommended working water pressure 300 – 500 Kpa. Maximum water temperature is 65°C
- After installation, ensure that tapware functions correctly without leaks.
- Please ensure a copy of the Installation Instructions are left with the end user for future reference.
Installation Instructions
Step 1

- Screw Spindle (D) into the Tap Seat Body by hand until the seat is felt. Tighten with an additional 1/3 turn of a spanner. DO NOT OVER TIGHTEN.
- Fit Fibre Washer (C) and screw Locknut (B) onto Spindle (D) for measurement.
Step 2

- Measure the amount of Locknut (B) protruding from the finished wall and mark the Locknut flush with the wall. Remove Locknut for cutting.
Step 3

- Cut and Deburr Locknut (B). Refit on Spindle (D) with Fibre Washer (C) and tightening well using a tube spanner.
Step 4

- The Locknut (B) must be cut to be flush or slightly behind the finished wall, as per diagram.
Step 5

- Seal the wall penetration. Then screw the Dress Ring (A3) onto the Locknut (B) and secure using a spanner.
Step 6

- Thread the provided Spindle Sizing Guage (E) onto the Dress Ring (A3).
Step 7

- Cut Spindle (D) against the face of the Sizing Guage (E).
- Remove Guage and deburr the edges to ensure the spindle adapter will fit.
Step 8
Ensure both spindles (D) are set to OFF position:

- HOT = FULL TURN CLOCKWISE.
- COLD = FULL TURN ANTICLOCKWISE.
Step 9

- Fit the Spindle Adapter (A2) onto the end of the spindle (D).
- Now position and fit the handle (A1) to engage the lever of the handle assembly.
Step 10

- Ensure that the handle (A1) is horizontally aligned (See Handle Alignment from step 11) and tighten by rotating the barrel whilst holding the handle lever.
- Rotate the barrel until it meets the Dress Ring (A3).
Fine-tuning Handle Alignment
Step 11

- The handle must be affixed as shown with the standard “off” position in horizontal alignment.
Step 12

- If the handle alignment requires adjustment, remove the Handle (A1) and Spindle Adapter (A2).
- Rotate (A2) to engage a different position on the spindle and refit.
- Repeat steps 10 and 12 until you reach alignment.
While we aim to ensure the specifications shown are correct at time of printing, Sussex Taps reserves the right to make modifications without prior notice. Always use the physical product for accurate measurements. Dimensions are subject to change without notice. All measurements are shown in millimetres.
Copyright © Sussex Taps










