HUDSON VALLEY BOWERY 3721 Wall Sconce

Product Information
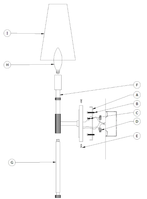
The Bowery 3721 is a lighting fixture manufactured by Hudson Valley Lighting. It is designed to be mounted on a 2×3 junction box and is suitable for use in buildings. The fixture includes a mounting plate, ground wire, fixture leads, set screws, tube, bulb, and shade. It is rated for use with a 6-watt type B lamp. The fixture can be purchased with replacement parts such as a hardware kit, tube, and shade.
Product Usage Instructions
- Attach the mounting plate (A) to the junction box using the mounting screws (B). Ensure that the junction box is securely mounted to the building structure.
- Connect the green ground wire to the ground inside the outlet box or the ground screw (C) on the mounting plate (A). Never connect the ground wire to the hot wire to avoid serious injury or death.
- Connect the white fixture lead to the neutral wire in the outlet box using an approved fastener (wire nut) (D). Secure the connection and seal the end of the fastener with electrical tape. Make sure there are no exposed wires or strands that could cause a short circuit.
- Connect the black fixture leads to the hot wire in the junction box. Secure the joined wires as done in the previous step. Never reverse hot and neutral wires to avoid serious injury or death.
- Attach the fixture assembly (F) to the mounting plate (A) and secure it with the set screws (E).
- Screw the tube (G) into the fixture assembly (F) of the fixture.
- Screw the bulb (H) into the socket of the fixture. Ensure that you use a 6-watt type B lamp and do not exceed the recommended wattage.
- Place the shade (I) over the bulb (H) of the fixture.
- Restore power to the outlet at the breaker or fuse box.
Please refer to the manufacturer’s website at www.hvlgroup.com for replacement part names and corresponding part numbers, such as the hardware kit (HDW-3721), tube (TUB-3721), and shade (SHD-3721).
WARNING/CAUTION
- DISCONNECT POWER BEFORE RE-LAMPING OR WIRING THE FIXTURE. READ ALL INSTRUCTIONS COMPLETELY BEFORE STARTING INSTALLATION.
- TO AVOID THE RISK OF FIRE OR SHOCK, FIXTURE MUST BE INSTALLED IN COMPLIANCE WITH ALL APPLICABLE NATIONAL AND LOCAL ELECTRICAL/BUILDING CODES. THE INSTALLATION AND MAINTENANCE OF THIS UNIT SHOULD BE COMPLETED BY A LICENSED ELECTRICIAN OR CERTIFIED FACTORY TRAINED TECHNICIAN.
- CALIFORNIA PROP 65: THIS LIGHTING FIXTURE CONTAINS CHEMICALS KNOWN TO THE STATE OF CALIFORNIA TO CAUSE CANCER, BIRTH DEFECTS, AND/OR OTHER REPRODUCTIVE HARM. WASH HANDS AFTER USE.
- UNPACK FIXTURE, PARTS AND PARTS BAG(S) BEFORE DISCARDING THE CARTON. MAKE CERTAIN THAT ALL PARTS ARE FOUND. INSPECT THE FIXTURE PRIOR TO INSTALLATION FOR ANY DAMAGE. HVLG DOES NOT PAY OR REIMBURSE ELECTRICIAN FEES. FIXTURE MAY NOT BE RETURNED ONCE IT HAS BEEN INSTALLED. SEE WARRANTY FOR EXCEPTIONS.
- PLEASE CLEAN WITH A SOFT, DRY CLOTH ONLY! DO NOT USE CLEANSERS
FIXTURE INSTALLATION

| PART(S) | REPLACEMENT PART NAME | NUMBER |
| A,B,C,D,E | HARDWARE KIT | HDW-3721 |
| G | TUBE | TUB-3721 |
| I | SHADE | SHD-3721 |
- Attach the MOUNTING PLATE (A) unto the junction box using the MOUNTING SCREWS (B). This fixture is designed to be mounted on 2×3 junction box. The junction box must be securely mounted to the structure of the building.
- Attach the Ground wire (Green) to the ground inside the outlet box (Generally green or bar copper wire) or the GROUND SCREW (C) on the MOUNTING PLATE (A). NEVER CONNECT GROUND WIRE TO “HOT” WIRE! FAILURE TO FOLLOW THIS COULD RESULT IN SERIOUS INJURY OR DEATH!
- Connect the white fixture lead to the neutral (Generally white) wire in the outlet box. Fasten the wires together with an approved fastener (WIRE NUT) (D). Starting 1″ below the fastener, tightly wrap the connection with electrical tape so that the connections seals the end of the fastener. MAKE SURE THERE ARE NO EXPOSED WIRE OF STRANDS THAT COULD CAUSE A DANGEROUS SHORT CIRCUIT!
- Connect the black fixture leads to the hot (Generally black) wire in the junction box. Fasten the joined wires same as previous step. NEVER REVERSE HOT AND NEUTRAL WIRES. FAILURE TO FOLLOW THIS COULD RESULT IN SERIOUS INJURY OR DEATH!
- Attach the FIXTURE ASSEMBLY (F) to the MOUNTING PLATE (A) and secure with the SET SCREWS (E).
- Screw the TUBE (G) into the FIXTURE ASSEMBLY (F) of the fixture.
- Screw the BULB (H) into the SOCKET of the fixture. THIS FIXTURE IS RATED FOR 60 WATT TYPE B LAMP. DO NOT EXCEED THE RECOMMENDED WATTAGE!
- Place the SHADE (I) over the BULB (H) of the fixture.
- Restore power to the outlet at the breaker or fuse box.
















