SUSSEX DGTR300 Duet Guest Towel Rail

overview
Product code
- DGTR300
- DTR600
- DTR800
Product parts
- (A) Towel Rail
- (B) Set Screw
- (C) Bolt
- (D) Wall Fixing
- (E) Dress Ring
- (F) Spring Toggle
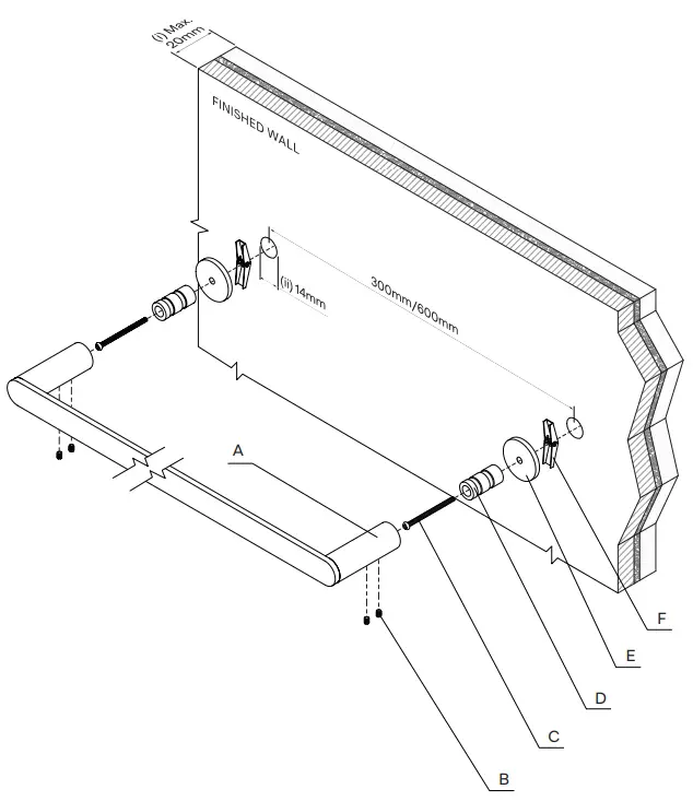
Clearance holes
Drill 14mm clearance holes in the wall using the appropriate drill bits. Clearance hole centre distances:
- 300mm – Guest Towel Rail
- 600mm – Towel Rail
- 800mm – Towel Rail
Installation
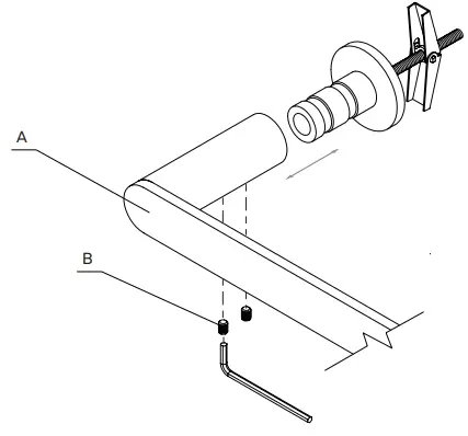
Step 1
Separate the 2 fixture assemblies from the Towel Rail (A) by unscrewing the Set Screws (B).
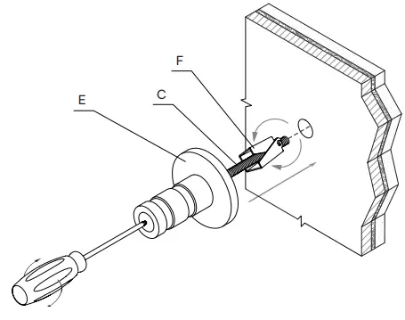
Step 2
Fold the Spring Toggle (F) onto itself and push it through the clearance hole.
Lightly tighten Bolt (C) to allow the Dress Ring (E) to enable fine adjustment.
Repeat for second wall fixing.
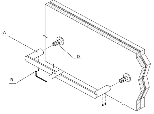
Step 3
- Fit the Towel Rail (A) onto the two Wall Fixings (D) allowing them to adjust to their positions.
- Ensure the Rail is level then gently remove the Towel Rail (A) and fully tighten the wall fixings.

Step 4
Fit Towel Rail (A) onto both the Wall Fixings (D) and secure it in place with the Set Screws (B) using an Allen key.



















