Contents hide
OVE Decors Langa Medicine Cabinet

Questions, problems, need help?
Call our customer service department at 1-866-839-2888, 8:00 am – 5:00 pm (EST) Monday to Friday English and French speaking representatives available
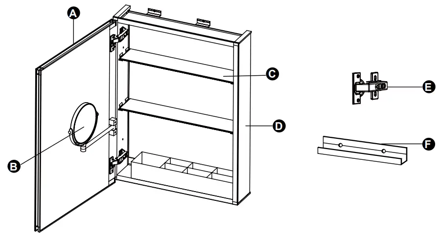
PART LIST

| PART # | DESCRiPTION |
| A | Door |
| B | Mirror |
| C | Inner Shelf |
| D | Side panel |
| E | Hinge |
| F | Support bar |
SUPPLIED HARDWARE LIST

TOOLS REQUIRED (not supplied)

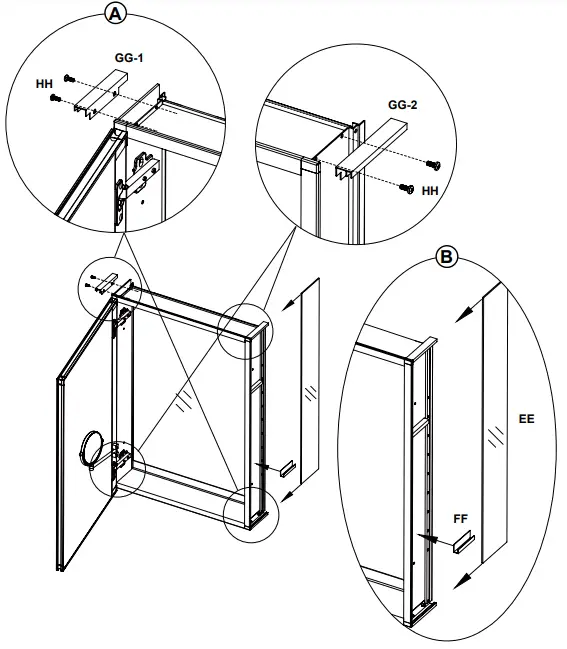
INSTALLATION (HANGING)



INSTALLATION (RECESS)


INSTALLATION


CONSUMER RESPONSIBILITIES
- The DISTRIBUTOR’s mirrors products will remain beautiful for many years if you properly care for them.
- The DISTRIBUTOR does not recommend the use of harsh abrasive cleansers on any of its products. Harsh cleansers will damage the finish of your mirror.
MAINTENANCE
- For daily maintenance, use a wet cloth and a soft liquid cleaner.
- Never use abrasive cleaners or strong bleach, scrapers, metallic brushes, or other objects or any products which can graze or tarnish surfaces.
LIMITED 1 YEARS WARRANTY
This warranty extends only to the original owner user for personal household use only. For commercial uses, additional limitations may apply.
- The DISTRIBUTOR warrants your satisfaction with each mirror. Should any mirror not meet your satisfaction due to a visual defect, simply return it to your retailer with the original packaging, PRIOR TO INSTALLATION, for a replacement.
- The DISTRIBUTOR warrants, mirrors to be free from defects in workmanship and materials under normal use and service for a period of one (1) year.
- The DISTRIBUTOR will, at its election, repair, replace, or make appropriate adjustment where the DISTRIBUTOR optional inspection discloses any such defects occurring in normal usage within the warranty periods.
- Please note that the DISTRIBUTOR is not responsible for installation or removal costs.
- Modification of any mirror’s components may void the warranty. This warranty does not cover any claim arising from abuse, misuse, negligence, accident, improper installation or operation on the part of the purchaser. This warranty is void if the DISTRIBUTOR’s product is subject to alterations, or if repairs were done to the mirror unit.
- This warranty does not extend to any components installed by dealers, installers or by any party other than the DISTRIBUTOR.
- Implied warranties, including that of merchantability or fitness for a particular purpose, are expressly limited in duration to the duration of this warranty.
- The DISTRIBUTOR disclaims any liability for special, incidental or consequential damages. THE SOLE REMEDY PROVIDED BY THIS WARRANTY IS THE REPAIR OR REPLACEMENT OF DEFECTIVE PRODUCTS. THIS WARRANTY DOES NOT COVER THE COST OF REMOVAL OR INSTALLATION OF NEW PRODUCTS. THE WARRANTY WILL BE VOID IF THIS ITEM IS INSTALLED WITH OBVIOUS VISUAL DEFECTS.
ABOUT COMPANY
- Distributed by:
- Costco Wholesale Corporation
- P.O. Box 34535
- Seattle, WA 98124-1535
- USA
- 1-800-774-2678
- www.costco.com
- Costco Wholesale UK Ltd /
- Costco Online UK Ltd
- Hartspring Lane
- Watford, Herts
- WD25 8JS
- United Kingdom
- 01923 213113
- www.costco.co.uk
- Costco Wholesale Iceland ehf.
- Kauptún 3-7, 210 Gardabaer
- Iceland
- www.costco.is
- Costco Wholesale Japan Ltd.
- 3-1-4 Ikegami-Shincho
- Kawasaki-ku, Kawasaki-shi,
- Kanagawa 210-0832 Japan
- 044-281-2600
- www.costco.co.jp
References
Welcome to Costco Wholesale
コストコオンライン - 公式サイト | Costco Japan
코스트코 온라인몰 | 코스트코 코리아
Join the club & start saving! | Costco UK
Welcome to Costco Wholesale
Member Warehouse | Costco Australia
Inicio | Costco México
Costco 好市多線上購物 | Costco 好市多
Home | Costco Spain
Accueil | Costco France
Welcome to Costco Wholesale | Costco Iceland




















