

FKTW 501 Electric Towel Rail 500W
Instruction Manual
Safety and maintenance
| STRUCTURE (Figure 1.) | |
| 1 | Towel dryer bars |
| 2 | Display |
| 3 | OK-boost button |
| 4 | MENU button |
| 5 | On/off button |
| 6 | Thermostat setting buttons |
| 7 | Mounting bracket – part fixed to the wall |
| 8 | Mounting bracket – part fixed to the appliance |


ELECTRIC TOWEL DRYER
ELECTRIC TOWEL DRYER IMPORTANT SAFETY INSTRUCTIONS READ THE INSTRUCTION MANUAL CAREFULLY BEFORE USE AND RETAIN IT FOR LATER REFERENCE! WARNINGS
- Before using the product for the first time, please read the instructions for use below and retain them. The original instructions were written in the Hungarian language.
- This appliance may only be used by persons with impaired physical, sensory or mental capabilities, or lacking in experience or knowledge, as well as children from the age of 8, if they are under supervision or have been given instruction concerning the use of the appliance and they have understood the hazards associated with use. Children should not be allowed to play with the unit. Children may only clean or perform user maintenance on the appliance under supervision.
- Confirm that the appliance has not been damaged in transit.
- Do not use this heater if it has been dropped.
- Do not use if there are visible signs of damage to the heater.
- Never locate the appliance directly in corners and observe the minimum installation distances indicated on Figure 2. Always observe the health and safety regulations valid in the country of use!
- The appliance should be used as intended for warming air, not for general heating purposes.
- The stream of hot air should not be directed straight to curtains or other flammable materials!
- The grille at the hot air outlet may be hot.
- WARNING The appliance is only intended for drying laundry washed in water.
- Do not locate near flammable materials. (min. 100 cm)
- When installing, take into account the material and load-bearing capacity of the wall.
- Before powering on the appliance, make sure that the heater is stable on the wall.
- Do not use in locations where flammable vapors or explosive dust may be released.
- Do not use near flammable materials or in potentially explosive atmospheres!
- Can only be operated under continuous supervision.
- Do not operate near children without supervision.
- Only to be used in dry, indoor conditions. Protect from humid environments (e.g. bathrooms or swimming pools)!
- It is PROHIBITED to use the appliance near bathtubs, basins, showers, swimming pools or saunas!
- It is STRICTLY FORBIDDEN to install or use the appliance in zones 0 or 1 of rooms containing a bathtub or shower (see Fig. 4).
- In rooms containing a bathtub or shower, all circuits must be protected by one or more circuit breakers (RCD) with rated tripping current of up to 30 mA.
- When installing the appliance in rooms with a bathtub or shower, the local and special national regulations must be observed.
- The heater must be installed in such a way that a person in the bathtub or shower cannot touch the buttons or other controls.
- When installing, observe the raw material and load-bearing capacity of the wall concerned.
- Before powering up the appliance, make sure that it is firmly fixed on the wall.
- It is prohibited to use the appliance in motor vehicles or in confined spaces (< 5 m2) such as elevators!
- When not planning to use the appliance for an extended period of time, switch it off then remove the power plug from the outlet.
- Always power off the heater before relocating it.
- Do not place the heater directly under the mains socket.
- If you notice any abnormality (e.g. unusual noise from the appliance or a burning smell), switch it off and unplug it immediately.
- Make sure that no objects or liquids can enter the appliance through the openings.
- To reduce the risk of electric shock, do not expose this appliance to dripping or splashing water, and do not place objects filled with liquids, such as vases on the appliance.
- Do not place an open flame source, such as a burning candle on the appliance.
- Protect from dust, humidity, sunlight, and direct heat radiation!
- Power off the appliance by unplugging it from the electric outlet before cleaning!
- Do not touch the appliance or the power cable with wet hands!
- The appliance may only be connected to properly grounded 230 V ~ / 50 Hz electric wall outlets! The circuit must be protected by a 16 A circuit breaker.
- Unwind the power cable completely!
- Do not use extension cords or power strips to connect the appliance!
- Do not lead the power cable on the appliance, or near the air inlet and outlet openings!
- Do not lead the power cable under carpets, doormats, etc.!
- The appliance should be located so as to allow easy access and removal of the power plug!
- Lead the power cable so as to prevent it from being pulled out accidentally or tripped over.
- The appliance is intended for household use. No industrial use is permitted!
- Due to continuous improvements, the technical data and design may change without any prior notice.
- The actual instruction manual can be downloaded from www.Somogyi.hu website.
- . We don’t take the responsibility for printing errors that may occur and apologize for them.
CAUTION: RISK OF ELECTRIC SHOCK!
Do not attempt to disassemble of modifying the unit or its accessories. In case any part is damaged, immediately power off the unit and seek the assistance of a specialist.
In the event that the power cable should become damaged, it should only be replaced by the manufacturer, its service facility or similarly qualified personnel.
Do not cover! Covering the unit can cause overheating, fire or electric shock!
ASSEMBLY AND INSTALLATION OF UNIT
- Before installation, carefully remove packaging, and make sure not to damage the unit or the connecting cable. If you find any damage, the unit must not be operated!
- Take out the unit from the box.
- To ensure proper operation, you have to arrange for the free circulation of hot air. Therefore, please, observe the minimum clearances indicated in Figure 2.
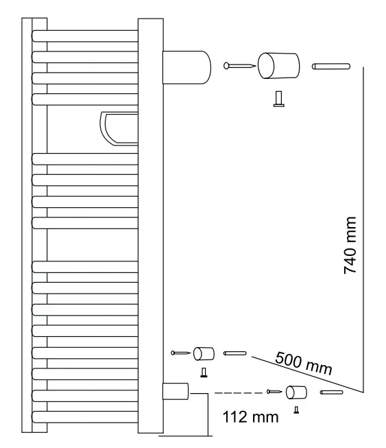
- Review Figure 3 and make holes in the wall appropriate to the size of the dowels you want to use, or the ones supplied. The holes should be located at a distance of 500 mm horizontally and 740 mm vertically from each other.
- Fix the wall-mounted part of the supplied 4 bracket pairs (7) to the wall. When installing, take care that the screw hole on the side of the wall-mounted bracket must align with the slot cut in the side of the bracket mounted on the unit.
- Fix the other members of the bracket pairs to the back of the appliance using the supplied screws (8). When fixing, take care that the slots on the side of the brackets mounted on the unit must align with the screw holes on the side of the wall bracket.
- Attach the unit to the wall, then secure the brackets with 1 screw each. If necessary, you can position the wall-mounted product by gently loosening these screws.
- Plug the unit into a standard grounded wall socket. Now the unit is ready for operation!
CLEANING
In order to ensure optimum functioning, the appliance may require cleaning at least once a month, depending on the manner of use and degree of contamination.
- Switch off and power off the appliance by unplugging it from the electric outlet before cleaning.
- Allow the appliance to cool down (for at least 30 minutes).
- Use a slightly moistened cloth to clean the appliance’s outer surface. Do not use any aggressive cleaners. Avoid getting water inside of and on the electric components of the appliance!
TROUBLESHOOTING
| Malfunction | Possible solution |
| The appliance is not working in heating stages. | Check the power supply. |
| Check the thermostat settings. | |
| Overheating protection may have activated. | |
| The overheating protection activates frequently | Clean the appliance. |
DISPOSAL
Waste equipment must be collected and disposed of separately from household waste because it may contain components hazardous to the environment or health. Used or waste equipment may be dropped off free of charge at the point of sale, or at any distributor which sells equipment of identical nature and function. Dispose of products at a facility specializing in the collection of electronic waste. By doing so, you will protect the environment as well as the health of others and yourself. If you have any questions, contact the local waste management organization. We shall undertake the tasks pertinent to the manufacturer as prescribed in the relevant regulations and shall bear any associated costs arising.
ELECTRIC TOWEL DRYER
FEATURES
- electric towel dryer
- built-in control panel and LCD display
- 500 W power
- electronic thermostat
- weekly program
- frost protection function
- window opening detection
- quiet and economical operation
- wall mounted design
- automatic shut-off in case of overheating
OPERATION
After commissioning, you can control the appliance using the buttons next to the display.
Setting the time
When you turn on the appliance for the first time after replacing the batteries, the clock flashes on the remote controller display for a few seconds. Use the +/- thermostat setting buttons to set the current hour, then press OK to jump to the current minute and to the current day of the week. The days of the week are numbered from 1 to 7 (Monday to Sunday). Once you have set the time, confirm it by pressing OK.
You can set the time and day at any time by pressing the menu button and selecting the clock with the OK button. After battery replacement, you have to set the time on the appliance in all cases.
General use
You can turn the appliance on or off using the on/off switch of the remote controller. When turned on, the appliance starts to operate in the last used mode and with the last set thermostat value.
Use the OK button to choose between modes:
– frost protection [
]: when the thermostat is set to 7°C, the product operates in frost protection mode
– comfort [
]: thermostat value adjustable between 5 and 29°C
– economy [
]: a mode that operates at a temperature 3.5°C lower than the set comfort mode value
– weekly program [P1-7]: the set comfort and the related economy mode thermostat values assigned to each day of the week and each hour of the day
Boost mode
Whatever model you use, you can switch the appliance to maximum heating mode for 1 or 2 hours. To do so, press and hold the OK button for at least 3 seconds until the display shows ‘bSt1’ or ‘bSt2’. Use the +/- button to select the desired mode, then press the OK button again to activate it. The appliance runs at 29°C thermostat value for 1 hour in bSt1 mode and for 2 hours in bSt2 mode, and after elapse of the given time, the appliance automatically switches back to the previously used mode. Use the on/off button to turn the appliance off at any time, and turned back on, it will return to the mode used before the boost mode.
Weekly programming
The appliance features 7 pre-defined programs, which you can freely change.
Pre-defined programs:
For each program, means an operation in comfort [
] mode, and means operation in economy [ ] mode.
Press the MENU button, and use the +/- buttons, then the OK button to select a program line and enter the weekly programming menu on the top of the display, you can use the +/- buttons to assign a pre-defined program to the selected day of the week (1-7), and then confirm your selection by clicking the OK button. After this, the setting jumps to the next day.
Changing individual programs
To change a program, press the MENU button, then select the program line by pressing the +/- buttons and the OK button to enter. Use the +/- buttons to select the program you want to change, then press and hold the OK button. In the given program, you can set the operation of the device for each hour of the day; press the + button for comfort and the – button for economy mode. Once a given hour of the day has been set, the program automatically jumps to the next hour. After you have set the desired mode for all 24 hours, the program will be saved automatically.
Window opening detection
If the window opening detection function is active on the product, its indicator can be read on the display (). To turn the function on / off, select the symbol in the menu, then press OK with the +/- buttons to turn it on or off. When the window opening detection is activated, the product automatically switches to frost protection mode.
Child lock
When the child lock function is active on the product, the key symbol shows on the product display. To switch the function on/off, select the symbol in the menu, press OK to enter and then the +/- buttons to turn the function on or off. To unlock the child lock function, press and hold the MENU button. In the event of overheating, the overheating protection function will switch off the appliance, for example when the air inlets and outlets are covered. Power off the appliance by unplugging it from the electric outlet. Allow the appliance to cool (for at least 30 minutes). Check whether the air inlets and outlets are obstructed or not, and clean them if necessary. Install the appliance again. If the
overheating protection activates again, power off the appliance by unplugging it from the electric outlet and contact the service facility.
TECHNICAL SPECIFICATION
power supply: …………………………………………….220-240 V~ / 50/60 Hz
output………………………………………………………..500 W
heater dimensions: ……………………………………..50 x 101 x 11 cm
IP protection: ……………………………………………..IP24: Protection against splashing water from any direction
weight: ………………………………………………………5,4 kg
mains cable length: ……………………………………..1.5 m

Distribútor: Somogyi Elektronic Slovensko s. r. o.
Ul. gen. Klapku 77, 945 01 Komárno, SK,
Tel.: +421/0/35 7902400
www.Somogyi.SK
Safety and maintenance



















