SP5736
USER MANUAL

Please carefully check the unit and make sure there is no damage when you open the carton.
QUESTIONS, PROBLEMS, OR MISSING PARTS?
Please Contact Customer Service Before Returning to Store
www.soupro.com
[email protected]
+1-844-455-4621
Keep this manual for future reference
FCC / ICES Information
This equipment has been tested and found to comply with the limits for Class B digital devices, pursuant to part 15 of the FCC rules. These limits are designed to provide reasonable protection against harmful interference in a residential installation. The equipment generates, uses and can radiate radio frequency energy and, if not installed and used in accordance with the instructions, may cause harmful interference to radio or television reception, which can be determined by turning the equipment off and on. The user is encouraged to try and correct the interference by one or more of the following measures:
(a) Reorient or relocate the receiving antenna
(b) Increase the separation between the equipment and the receiver
(c) Connect the equipment into an outlet on a circuit different from that to which the receiver is connected.
(d) Consult the dealer or an experienced radio/TV technician for help.
This device complies with Part 15 of the FCC rules. Operation is subject to the following two conditions:
(a) This device may not cause harmful interference, and
(b) This device must accept any interference received, including interference that may cause undesired operation.
Modifications not approved by the party responsible for compliance could void the user’s authority to operate the equipment.
This Class B digital apparatus complies with Canadian ICES-003.
Safety Instructions
Use this firebox only as described in the manual. Any other use is NOT recommended by the manufacturer and may cause
fire, electric shock or injury to persons.
CAUTION
- If possible, ALWAYS unplug this firebox when not in use.
- DO NOT operate any firebox with a damaged cord or plug or after the heater malfunctions.
- DO NOT operate any firebox if it has been dropped or damaged in any manner. Disconnect power at service panel and have firebox inspected by a reputable electrician before reusing.
- Any repairs to this unit should be carried out by appropriately qualified service personnel.
- Under no circumstances should this unit be modified. Parts having to be removed for servicing must be replaced prior to operating this unit again.
- DO NOT use outdoors.
- This unit is not intended for use in bathrooms, laundry areas and similar indoor locations. NEVER place the heater where it may fall into a bathtub or other water container.
- To disconnect this unit, turn all controls to the OFF position, then remove the plug from the outlet.
- ONLY connect to properly grounded outlets.
- This appliance, when installed, must be electrically grounded in accordance with local codes, with the current CSA C22.1
Canadian Electrical Code or, for USA installations, follow the National Electrical Code, ANSI/NFPA NO.70. - To prevent a possible fire, DO NOT block any air intakes or exhaust in any manner. DO NOT use on soft surfaces, like a bed, where an opening may become blocked.
- ALWAYS plug this unit directly into a wall outlet/receptacle. NEVER use with an extension cord or relocatable power tap (outlet/power strip).
- This heater includes an automatic protection system that will shut off the unit to prevent overheating. If the unit is at risk of overheating, the front panel will display “E1” and a thermal cut-out will shut off the heater to prevent damage or risk of fire.
- DO NOT place any objects on top of the firebox and top air intake vents as this will cause the unit to overheat and can cause a fire.
Please read and understand this entire manual before attempting to assemble, operate or install the product.
IMPORTANT NOTICE
When using electrical appliances, basic precautions should always be followed to reduce the risk of fire, electric shock and injury to persons, including the following:
WARNING: Place this unit in a location that avoids direct sunlight and high temperatures.
WARNING: Plastic bags, nails, etc. should be kept out of reach of children.
WARNING: This appliance is hot when in use. To avoid burns, DO NOT let bare skin touch hot surfaces. Keep combustible material, such as furniture, pillows, bedding, papers, clothes and curtains, at least 3 feet from the front of the heater and keep them away from the side and rear.
WARNING: Extreme caution is necessary when any heater is used by or near children or individuals with disabilities and whenever the fireplace is left operating and unattended.
WARNING: DO NOT run cord under carpeting. DO NOT cover cord with throw rugs, runners, or similar covering.
Do not route the cord under furniture or appliances. Arrange cord away from traffic areas and where it will not be tripped over.
WARNING: DO NOT insert or allow foreign objects to enter any ventilation or exhaust opening as this may cause an electric shock or fire, or damage the appliance.
WARNING: This appliance has hot and arcing or sparking parts inside. DO NOT use it in areas where gasoline, paint or flammable vapors or liquids are used or stored. This fireplace should not be used as a drying rack for clothing. Christmas stockings or decorations should not be hung in the area of it.
ELECTRICAL CONNECTION:
- A 15-amp, 120-volt, 60 Hz circuit with a properly grounded outlet is required. Preferably, the fireplace will be on a dedicated circuit as other appliances on the same circuit may cause the circuit breaker to trip or the fuse to blow when the heater is in operation. The unit comes standard with 6-ft. three-wire cord, exiting from the rear of the fireplace. DO NOT exceed the current rating of the current tap. ALWAYS plug this unit directly into a wall outlet/receptacle. NEVER use with an extension cord or relocatable power tap (outlet/power strip).
- This firebox is for use on 120 volts. The cord has a plug as shown below. See illustration for grounding instruction. An adapter as shown at C is available for connecting three-blade grounding-type plugs to two-slot receptacles. The green grounding lug extending from the adapter must be connected to a permanent ground such as a properly grounded outlet box. The adapter should not be used if a three-slot grounded receptacle is available.
ELECTRICAL SPECIFICATIONS
| Voltage: | 120 VAC, 60 Hz |
| Amps: | 11.7 Amps |
| Watts: | 1400 Watts |

Warranty
1-YEAR LIMITED WARRANTY
Soupro Limited Inc. (hereinafter referred to collectively as “the Company”) warrants that your new KOMODO Electric Fireplace is free from manufacturing and materials defects for a period of one (1) year from the date of purchase. Subject to the following conditions and limitations:
- The electric fireplace must be installed and operated at all times in accordance with the installation and operating instructions furnished with the product. Any unauthorized repair, alteration, willful abuse, accident, or misuse of the product shall nullify this warranty.
- This warranty is non-transferable and is made to the original owner, provided that the purchase was made through an authorized supplier of the Company.
- The warranty is limited to the repair or replacement of part(s) found to be defective in material or workmanship – provided that such part(s) have been subjected to normal conditions of use and service – after said defect is confirmed by the Company’s inspection. All replacement parts or products will be new, remanufactured, or refurbished.
- The Company may, at its discretion, require that any defective part(s) be returned in exchange for the replacement part(s).
- The Company may, at its discretion, fully discharge all obligations with respect to this warranty by refunding the wholesale price of the defective part(s).
- This warranty does not cover the LED light bar included with the electric fireplace.
- Any installation, labor, construction, transportation, or other related costs/expenses arising from defective part(s), repair, replacement, or otherwise of same, will not be covered by this warranty, nor shall the Company assume responsibility for the same.
- The owner/user assumes all other risks – if any – including but not limited to the risk of any direct, indirect or consequential loss or damage arising out of the use, or inability to use the product, except as provided by law.
- All other warranties – express or implied – with respect to the unit, its components, and accessories, or any obligations/liabilities on the part of the Company are hereby expressly excluded.
- The Company neither assumes nor authorizes any third party to assume on its behalf, any other liabilities with respect to the sale of the unit.
- The warranties as outlined within this document do not apply to non-accessories used in conjunction with the installation of this product.
- This warranty gives you specific legal rights, and you may also have other rights which vary from state to state.
This warranty is void if:
(a) The fireplace is subjected to prolonged periods of dampness or condensation.
(b) Any unauthorized alteration, willful abuse, accident, or misuse of the product.
(c) You do not have the original purchase receipt.
IF WARRANTY SERVICE IS NEEDED
Please contact Customer Service
www.soupro.com
[email protected]
+1-844-455-4621
Make sure you have the following information ready:
- Warranty
- Sales Receipt
- Product Model/Serial Number
- Date of Purchase
- Location of Purchase
Preparation
IMPORTANT INFORMATION
- Before you begin, locate the instructions and hardware. Be sure you have all of the parts and can identify them.
- To avoid scratching the finish, assemble the product on a soft, non-abrasive surface such as carpet or cardboard.
- Assembly of this product may require more than one person.
- Select a location that is not susceptible to moisture, dust and is away from high traffic locations and things that many catch fire or block openings such as drapes, pillows, furniture etc.
- It is strongly recommended that the screws be screwed into the wall studs where possible. If the wall studs cannot be used, wall anchors must be used.
CAUTION: Enclosed wall anchors (BB) only can be used on the concrete wall. - For the best effect install the fireplace out of direct sunlight and away from overhead lighting.
Tools Required

Site Selection
Select a location that is not susceptible to moisture, dust and is away from high traffic locations and things that many catch fire or block openings such as drapes, pillows, furniture etc.
WARNING: This appliance is hot when in use. To avoid burns, DO NOT let bare skin touch hot surfaces. Keep combustible material, such as furniture, pillows, bedding, papers, clothes, and curtains, at least 3 feet from the front of the heater and keep them away from the side and rear.
Minimum clearance of the fireplace to the adjacent wall

Sides ——————————- 6 inch / 15 cm
Floor ——————————- 6 inch / 15 cm
Top ——————————- 6 inch / 15 cm
Back ——————————- 0 inch / 0 cm
Preparation

A. Front Cover x 1
B. Base x 1
C . Fireplace x 1
D. Mounting Brackets 1
E. Remote Control x 1
F. Acrylic Shards x 1
Hardware Identification
Number of spare hardware is indicated in ( ).
Assembly-wall Mount Installation
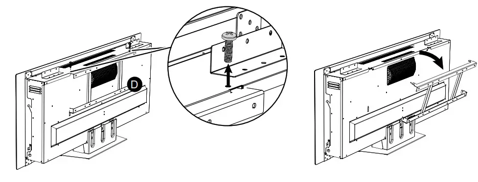
- Remove mounting bracket (D) from the back of the fireplace (C) by unscrewing two screws at the top of the unit.

- Remove the base (B) of the fireplace (C) by unscrewing three screws at the rear base of the unit.

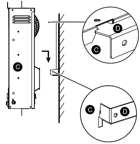
- Choose a wall location to attach the mounting bracket (D). Position the mounting bracket (D) in the desired location. Use a level to align the bracket and mark the eight holes with a pencil.

- Select the hardware appropriate for mounting bracket installation.
STUD WALL
• Secure the mounting bracket (D) to the wall using screws (AA) at marked stud locations.
DRYWALL
• Drill holes at marked locations and secure the mounting bracket (D) to the wall with toggle bolts and washers (not included).
CONCRETE WALL
• Drill 5/16-inch holes at marked locations, then insert wall anchors (BB) into holes. Secure the mounting bracket (D) to wall using screws (AA).
- Hang the fireplace (C) on the hooks at bottom of the mounting bracket (D) and push the fireplace (C) into the mounting bracket (D).

- Re-fasten the two screws as shown.

- Distribute the Acrylic Shards (F) evenly in the tray of the fireplace (C).

- Re-install the front glass (A) to the fireplace (C).

Assembly-Free Standing Installation
- Distribute the Acrylic Shards (F) evenly in the tray of the fireplace (C).

- Re-install the front glass (A) to the fireplace (C).

Operating Instructions

Power Button
- Press the POWER button to turn ON or OFF the unit.
- When the unit is in ON mode, the touch control panel light will fully light up for 8 sec and then shut down if without any other operation including remote control.
- When the unit is in OFF mode, the POWER symbol LED will Semi-bright. When power is OFF, the unit will be stopped, if the heater is working before power OFF the unit, fan will have 20 seconds delay to ensure heat will not be trapped inside the unit.
Each time the fireplace is plugged in, a 5-second fan and heater will turn on for the internal check program.
The unit has a memory function with last settings for heating level and flame brightness effect, unless the main power to the unit has been interrupted.
Flame Button
- Press the flame button to cycle through the setting as: Flame Brightness (FL), Flame Color (FC)
Flame Brightness Setting
- Press the “Flame” key until FL0 / FL1 / FL2 / FL3 / FL4 / FL5 shown on the display, and then press “+” key or “-” key to adjust the flame brightness from level 0 to level 5.
Flame color Setting
- Press the “Flame” key until FC1 / FC2 / FC3 / FC4 / FC5 / FC6 shown on the display, and then press “+” key or “-” key to adjust the flame color.
| Setting | color | Setting | color |
| FC1 | Yellow | FC4 | Yellow + Blue + Red |
| FC2 | Blue | FC5 | Yellow + Blue |
| FC3 | Yellow + Red | FC6 | Color Rotation |
Timer Button
Timer Setting
- Timer can be adjusted when the heater is ON. It can be adjusted from 0 hours (OFF) to 9 hours with 0.5-hour intervals.
- When TIMER is activated, the symbol will be displayed.
- When TIMER digital is 0 H, the TIMER function is invalided.
The TIMER symbol will automatically disappear. - When clock is at the setting mode, hold UP (“+”) and DOWN (“-”) keys together to select 12H or 24H mode.
The unit default setting is 24H. The AM or PM symbol will automatically be displayed when the 12H mode was selected. - Press the timer key can exit the setting or it will automatically exit after 8s without any further operation.
clock Setting - For clock setting, hold the TIMER key for 5s, hour display will flash. Push UP “+” or DOWN “-” key, Hours setting can be adjusted. Touch the TIMER key once more, the minute display will flash. Minutes setting can be adjusted as the same way as hours setting.
Heater Button
- HEATER key is used to control ON/OFF of the heater. Push UP (“+”) or DOWN (“-”) key to scroll through the pre-set temperature range from 59°F (15°C) to 86°F (30°C), ON & OF (OFF). The heater will be turned ON accordingly to the set temperature. When the ambient temperature is higher than the set temperature, the heater will automatically be turned OFF.
- When the temperature is set at “ON”, heater will be working continuously.
- When HEATER is activated, the heater & temperature symbol will be displayed.
- When the heater is ON, hold the HEATER key for 3 sec; this allows the temperature unit to change from °C to °F or °F to °C. The unit default setting is °F.
+ up Button; - Down Button
- Control the setting of flame brightness, flame color, mood light brightness, mood light color, timer, clock, and temperature.
Child lock
Activate child lock
- When the unit is ON, hold the POWER button for 10 seconds to activate the Child Lock function. “E3” will be displayed and a “beep” will sound 3 times to indicate the Child Lock function is activated. Then, all function keys are locked. When pressing any button, “E3” will be displayed to indicate the Child Lock function has been activated.
Deactivate child lock
- o deactivate the Child Lock function, hold the POWER button for 10 seconds. Then, all functions keys are unlocked.
Care And Maintenance
CLEANING INFORMATION
- Make sure the unit is turned off, unplugged and the heating elements of the heater are cool whenever you are cleaning the heater.
- Clean the metal trim using a water-dampened, soft, and clean cloth. DO NOT use brass polish or household cleaners as these products will damage the metal trim.
- The motors used on the fan and the flame generator assembly are pre-lubricated for extended bearing life and require no further lubrication. However, periodic cleaning/vacuuming of the fan/heater and air intake/output vents is recommended.
WARNING: Make sure the power is turned off before proceeding. Any electrical repairs or rewiring of this unit should be carried out by a licensed electrician in accordance with national and local codes.
If repairing or replacing an electrical component or wiring, the original wire routing, color coding and securing locations must be followed.
WARNING: Electrical outlet wiring must comply with local building codes and other applicable regulations to reduce the risk of fire, electrical shock and injury to persons.
WARNING: Do not use this fireplace if any part of it has been underwater. Immediately call a qualified service technician to inspect the fireplace and replace any part of the electrical system.
WARNING: Disconnect the power before attempting any maintenance or cleaning to reduce the risk of fire, electrical shock or personal injury.
WARNING: During any service of this appliance, the power to the unit must be turned off. First turn the main power switch to the “OFF” position. Then remove the electrical plug from the wall outlet.
NOTE: When the heater is not in use, it should be stored in a dry location, away from possible damage. The power cord should be stored properly to avoid contact with hot or sharp objects.
REPLACING THE REMOTE CONTROL BATTERY:
When the remote control stops operating or its range seems reduced, it is time to replace the batteries.
NOTE: The batteries should be removed if the product is to be left unused for a long time.
CAUTION:
The non-rechargeable battery is not to be recharged. The exhausted battery is to be removed from the product:
- The battery compartment is located on the back end of the remote control.
- Remove the battery cover from the back of the remote control (E).
- Insert 2pcs AAA batteries (not included), ensuring the polarities of the battery match the inside of the battery compartment.
- Re-insert the battery door.
DISPOSAL OF USED BATTERY:
A battery may contain hazardous substances that could be endangering to the environment and human health.

- This symbol marked on the battery and/or packaging indicates that used battery shall not be treated as municipal waste. Instead, it shall be left at the appropriate collection point for recycling.
- By ensuring the used battery is disposed of correctly, you will help prevent potential negative consequences for the environment and human health. The recycling of materials will help to conserve natural resources.
For more information about the collection and recycling of used batteries, please contact your local municipality, your waste disposal service or the point of sale where you purchased this item.
Troubleshooting
| Problems | Possible Causes | Solutions |
| 1. No power, logs do not glow. | 1. The unit does not have power. | 1. Check that unit is plugged into a standard 120-volt outlet. Then make sure power is set at the “ON” position. |
| 2. “El” is displayed on the control panel. | 2. The overheat protection device has been engaged. | 2. Unplug unit, wait 5-10 minutes, then the sensor will reset itself. Plug the unit back in and turn on the heater. If the problem persists, call customer service. |
| 3.”E2″ is displayed on the control panel. | 3. The ambient temperature sensor is broken or not working correctly. | 3. Unplug the unit, wait 5-10 minutes, then the sensor will reset itself. Plug the unit back in and turn on the heater. If the problem persists, call customer service. |
| 4. “E3” is displayed on the control panel. | 4. Child Lock function is activated. | 4. To inactivate the Child Lock function, hold the POWER button for 10 seconds. |
| 5. Fan motor continues to blow after the unit is powered off. | 5. Normal operation. | 5. This is a standard feature; the blower runs for an additional 20 seconds to ensure heat will not be trapped inside the unit. |
| 6. Power cord gets warm to the touch. | 6. Normal operation. | 6. This is normal for a heater appliance as it requires more current to operate. Check the connections of the appliance cord and the outlet. Make sure the plug fits tightly into the outlet. During use, check the plug and outlet frequently to determine if it is HOT; if so, discontinue use of the appliance and consult with a qualified electrician to check or change the overheating outlet(s). |
QUESTIONS, PROBLEMS, OR MISSING PARTS?
Please Contact Customer Service Before Returning to Store
www.soupro.com
[email protected]
+1-844-455-4621
Crafted in China
Distributed by Soupro Limited Inc., 72 Montgomery Court, Markham, Ontario L3R 0C1
























