Barrette Standard Floating Bar Gravity Latch

Component list:
| QTY | Description |
| 1 | Latch |
| 1 | Striker |
| 1 | Striker Bracket |
| 2 | Flat Head Screws |
| 6 | Phillips Pan Head Screws |

To obtain and review a copy of the warranty please visit barretteoutdoorliving.com.
You may also contact us at 1-877-265-2220 or email [email protected]
WARNING:
- Improper installation of this product can result in personal injury. Always wear safety goggles when cutting, drilling and assembling the product.
- Incorrect installation may cause harm to the gate or individual.
NOTICE:
- DO NOT attempt to assemble the kit if parts are missing or damaged.
- DO NOT return the product to the store, for assistance or replacement parts call: 1-877-265-2220.
Determine Latch Specifications for Clearance:
a. The Standard Floating Bar Gravity Latch requires a latch clearance of ½”-2½” and works with a post size of 2″+ and upright size of 2″+ (Fig 1).
Determine Latch Location:
NOTE: Latch should be on the same side as the hinges.
a. With gate closed, align latch on post and mark screw locations (Fig. 2).
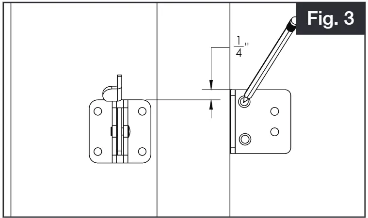
b. Align striker bracket on gate. Striker bracket should be 1/4″ above latch to allow for gate sag. Mark screw locations (Fig. 3).
Mount Latch on Post:
a. Drill 1/8″ pilot holes on the post for latch location (Fig. 4).
b. Install latch to post with provided screws and tighten.
Mount Striker Bracket on Gate:
a. Drill two 7/64″ pilot holes on the gate for the striker bracket location (Fig. 5).
b. Install striker bracket to gate with flat head screws and tighten.
Mount Striker on Gate:
a. Drill two 1/8″ pilot holes in the rear holes (Fig. 6).
b. Slide striker bar through bracket opening and align end hole with lower rear hole. Use pan head screw to attach (Fig. 7). Install final pan head screw in other rear hole.
c. For 1/2″-1″ gate clearance, use middle hole in striker bar to attach (Fig. 8). Striker bar screw should not be overtightened to allow bar to “float” or move.




























