floating shelf
| 9602040E 9602042E 9602044E 9084650 9084652 9084670 | 9084672 9084674 9084676 0191801 0191903 0191402 | 0191406 0191408 0191827 0191828 0191528 0191436 0191409 |
Suggested Tools
this kit includes:
(1) shelf
(1) mounting bracket
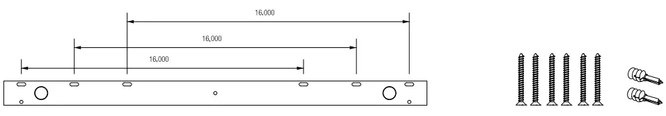
(4/6) screws
(2/3) drywall anchors
(2/3) set screws
- Place bracket against the wall in the desired position and mark holes with a pencil where holes in the bracket meet the wall. 2 screws must go into a wall stud to keep the shelf securely fastened to the wall. And use anchors to mount other screws. Failure to install the shelf in wood studs will result in improper installation and will greatly affect weight loading capacity.
Note: If you are drilling into a wall where no studs are available, use the proper anchors to Arrow on bracket points upward mount the bracket. Anchors have been provided for this purpose.
Arrow on bracket points upwards - Using a power drill and 3/32″ drill bit, drill hole into wall marks. Using a power drill or screwdriver, (for Phillips head screw), drive provided screws into studs (or anchors), securing the bracket to the wall.

- Slide shelf onto bracket.
Note: You may opt to use a level to verify that shelf is hung straight. Align holes on the bottom of the shelf to holes on bracket tubes, then drive set screws through holes until the shelf is secure to bracket.

This shelf system must be installed in studs for maximum stability and load capacity.![]()
For assistance with installation or missing parts, please call 1-800-860-1677
[email protected]
“IMPORTANT HEALTH NOTICE:
SOME OF THE BUILDING MATERIALS USED IN THIS HOME (OR THESE BUILDING MATERIALS) EMIT FORMALDEHYDE. EYE, NOSE, AND THROAT IRRITATION, HEADACHE, NAUSEA, AND A VARIETY OF ASTHMA-LIKE SYMPTOMS, INCLUDING SHORTNESS OF BREATH, HAVE BEEN REPORTED AS A RESULT OF FORMALDEHYDE EXPOSURE. ELDERLY PERSONS AND YOUNG CHILDREN, AS WELL AS ANYONE WITH A HISTORY OF ASTHMA, ALLERGIES, OR LUNG PROBLEMS. MAY BE AT GREATER RISK. RESEARCH IS CONTINUING ON THE POSSIBLE LONG-TERM EFFECTS OF EXPOSURE TO FORMALDEHYDE.
REDUCED VENTILATION MAY ALLOW FORMALDEHYDE AND OTHER CONTAINMENTS TO ACCUMULATE IN THE INDOOR AIR. HIGH INDOOR TEMPERATURES AND HUMIDITY RAISE FORMALDEHYDE LEVELS. WHEN A HOME IS TO BE LOCATED IN THE AREAS SUBJECT TO EXTREME SUMMER TEMPERATURES, AN AIR-CONDITIONING SYSTEM CAN BE USED TO CONTROL INDOOR TEMPERATURE LEVELS. OTHER MEANS OF CONTROLLED MECHANICAL VENTILATION CAN BE USED TO REDUCE LEVELS OF FORMALDEHYDE AND OTHER INDOOR AIR CONTAINMENTS.
IF YOU HAVE ANY QUESTIONS REGARDING THE HEALTH EFFECTS OF FORMALDEHYDE, CONSULT YOUR DOCTOR OR LOCAL HEALTH DEPARTMENT.”
Screw placement
18 & 24in shelf
61cm tablette
61cm cornisa

30 & 36 & 42in shelf
1m tablette
1m cornisa

48 & 60 & 72in shelf
1.2 & 1.5 & 1.8m tablette
1.2 & 1.5 & 1.8m cornisa

Hyman Inc. Innovation for life:”
Please register your product at
www.hymaninc.com
For assistance well Irelsilabon Of Maim pa please can 1 (800)860-1677



















