0114 Floating Wood Shelf
Instruction Manual
0114 Floating Wood Shelf
FLOATING SHELF INSTALLATION
QUESTIONS?
[email protected]
(253) 201-8015
WHAT YOU NEED
INSTALLATION HARDWARE
8 x 2 1/2” Pan Head Screws(per 4 ft of bracket)
25 x 1 1/4” Pan Head Screws (per 4 ft of bracket)
4 x 3/4” Set Screws (per 4 ft of bracket minimum)
1 x 3/16” Cobalt Drill Bit
1 x Hex Key
BITS REQUIRED
17/64” HSS Steel Drill Bit (Set Screw Install)
5/16” #18 HSS H3 Tap Bit (Set Screw Install)
Epoxy Glue/Glue Install (Optional)
TOOLS REQUIRES
Tape Measure
Electric Drill
Level
Stud Finder
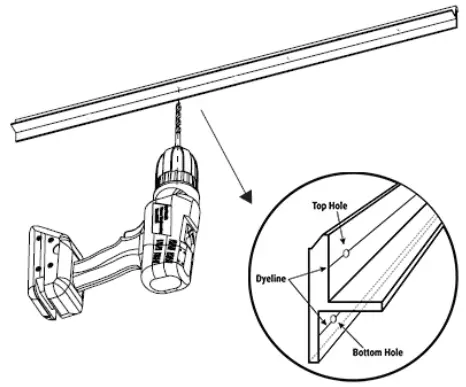
You will need to drill the necessary holes into the male bracket. Please use the 3/16” tapper bit. The reason we don’t predrill the bracket is due to the vast variety in stud separation in each individual case. You must secure the shelf to a minimum of two studs.
Mark your studs on the bracket & ensure you drill your holes centered on the provided top & bottom dyelines on the bracket.
When attaching the male bracket to the wall, please use #8 – 2½” long panhead screws. Start by drilling one screw using the top hole but not tightening all the way.
Then use a level, make sure the bracket is leveled before drilling your second screw into the other stud.
Drill your holes on the dyeline. Tighten the screw (but not so much the bracket bends) then go back and tighten the first one. Then screw in the bottom screws in each stud.
It’s important to make sure you do not over-tighten.
One “click” or hand-tight is plenty. If the screws are too tight, it will cause the bracket to bend, compromising the integrity of the Hovr Bracket System.
IMPORTANT
Please use the specified hardware described in this installation guide. By not using the specific items, you may
cause a loss of integrety of the Hovr Bracket System and/or decreased performance.
FLOATING SHELF INSTALLATION
Tilt your shelf downward at a 15° angle to begin engaging the 2 brackets together. Hook the upper part of your female bracket onto the upper part of the male bracket. Once you feel the grooves begin to interlock, pull the shelf down into place and connect the two components.

Once the shelf is engaged, apply 2-3 solid taps at the back of the shelf where the bracket sits. This should cause the brackets to snap fully into place, leaving a level shelf.
Insert the set screws into the pre-drilled & tapped holes. Screw them in by hand until they are finger tight, and then finish securing them with the provided Allen key. The
tighter the better.
Alternatively, there is the method of using Epoxy glue instead of set screws. This will reduce the load the shelf can handle.
Combining both methods together gives the strongest results.
IMPORTANT
See the diagrams at left for our recommended method of working with a bowed wall.
It is important that the male bracket is flush against the wall. If you bend it, it will fail to engage correctly with the female bracket, resulting in a failed installation.
With that said, not all walls are straight. The female bracket in the shelf is straight, so the male bracket on the wall must be straight as well for them to engage. You can leave up to 1/4 of an inch space between the back of the male bracket & the wall without the integrity or holding capacity being compromised.

















