
PowerSub 312
Powered 3-Channel Subwoofer
Owner`s Manual
PowerSub 312 Powered 3 Channel Subwoofer
WARNING:
THIS LOUDSPEAKER SYSTEM CAN PERMANENTLY DAMAGE HEARING!
USE EXTREME CARE WHEN SETTING SOUND PRESSURE LEVELS!
DANGER:
CONSULT A CERTIFIED STRUCTURAL ENGINEER BEFORE ANY ATTEMPT TO SUSPEND THIS LOUDSPEAKER! LOUDSPEAKERS CAN FALL FROM IMPROPER SUSPENSION, RESULTING IN SEVERE INJURY AND DAMAGE OF PROPERTY. DO NOT SUSPEND OR MOUNT ANY OTHER PRODUCT OR DEVICE FROM THIS LOUDSPEAKER ENCLOSURE! USE GRADE 5 HARDWARE OR BETTER ONLY!
IMPORTANT SAFETY INSTRUCTIONS
![]()
WARNING: To REDUCE THE RISK OF FIRE OR ELECTRIC SHOCK, DO NOT EXPOSE THIS APPLIANCE TO RAIN OR MOISTURE.
AVIS: RISQUE DE CHOC ELECTRIQUE – NE PAS OUVRIR
CAUTION: To REDUCE THE RISK OF ELECTRIC SHOCK, GROUNDING OF THE CENTRE PIN OF THIS PLUG MUST BE MAINTAINED.
THIS DEVICE COMPLIES WITH PART 15 OF THE FCC RULES. OPERATION IS SUBJECT TO THE FOLLOWING TWO CONDITIONS: (1) THIS DEVICE MAY NOT CAUSE HARMFUL INTERFERENCE, AND (2) THIS DEVICE MUST ACCEPT ANY INTERFERENCE RECEIVED, INCLUDING INTERFERENCE THAT MAY CAUSE UNDESIRED OPERATION.
FOR RECYCLING INFORMATION CONTACT YOUR DISTRIBUTOR OR VISIT OUR WEBSITE WWW.EVIAUDIO.COM
The lightning flash with arrowhead symbol, within an equilateral triangle is intended to alert the user to the presence of uninsulated “dangerous voltage” within the product’s enclosure that may be of sufficent magnitude to constitute a risk of electric shock to per- sons.
The exclamation point within an equilateral triangle is intended to alert the user to the presence of important operating and maintance (servicing) instructions in the literature accompanying the appliance.
- Read these instructions.
- Keep these instructions.
- Heed all warnings.
- Follow all instructions.
- Do not use this apparatus near water.
- Clean only with a dry cloth.
- Do not cover any ventilation openings. Install in accordance with the manufacturer’s instructions.
- Do not install near heat sources such as radiators, heat registers, stoves, or other apparatus (including amplifiers) that produce heat.
- Do not defeat the safety purpose of the polarized or the grounding-type plug. A polarized plug has two blades with one wider than the other. A grounding-type plug has two blades and a third grounding prong. The wide blade or the third prong are provided for your safety. If the provided plug does not fit into your out- let, consult an electrician for replacement of the obsolete outlet.
- Protect the power cord from being walked on or pinched particularly at plugs, convenience receptacles, and the point where they exit from the apparatus.
- Only use attachments/accessories specified by the manufacturer.
- Use only with the cart, tripod, bracket, or table specified by the manufacturer, or sold with the apparatus. When a cart is used, use caution when moving the cart/apparatus combination to avoid injury from tip-over.

- Unplug this apparatus during lightning storms or when unused for a long period of time.
- Refer all servicing to qualified service personnel. Servicing is required when the apparatus has been damaged in any way, such as power-supply cord or plug is damaged, liquid has been spilled or objects have fallen into the apparatus, the apparatus has been exposed to rain or moisture, does not operate normally, or has been dropped.
- Do not expose this equipment to dripping or splashing and ensure that no objects filled with liquids, such as vases, are placed on the equipment.
- To completely disconnect this equipment from the AC Mains, disconnect the power supply cord plug from the AC receptacle.
- The mains plug of the power supply cord shall remain readily operable.
- No naked flame sources, such as lighted candles, should be placed on the apparatus.
- The product should be connected to a mains socket outlet with a protective earthing connection.
IMPORTANT SERVICE INSTRUCTIONS
CAUTION: These servicing instructions are for use by qualified personnel only. To reduce the risk of electric shock, do not perform any servicing other than that contained in the Operating Instructions unless you are qualified to do so. Refer all servicing to qualified service personnel.
- Security regulations as stated in the EN 60065 (VDE 0860 / IEC 65) and the CSA E65 – 94 have to be obeyed when servicing the appliance.
- Use of a mains separator transformer is mandatory during maintenance while the appliance is opened, needs to be operated, and is connected to the mains.
- Switch off the power before retrofitting any extensions, changing the mains voltage or the output voltage.
- The minimum distance between parts carrying mains voltage and any accessible metal piece (metal enclosure), respectively between the mains poles has to be 3 mm and needs to be minded at all times. The minimum distance between parts carrying mains voltage and any switches or breakers that are not connected to the mains (secondary parts) has to be 6 mm and needs to be minded at all times.
- Replacing special components that are marked in the circuit diagram using the security symbol (Note) is only permissible when using original parts.
- Altering the circuitry without prior consent or advice is not legitimate.
- Any work security regulations that are applicable at the locations where the appliance is being serviced have to be strictly obeyed. This applies also to any regulations about the work place itself.
- All instructions concerning the handling of MOS-circuits have to be observed.
NOTE:
SAFETY COMPONENT (MUST BE REPLACED BY ORIGINAL PART)
WEEE RECYCLING/DISPOSAL INSTRUCTIONS
The Wheelie Bin symbol found on the product or in the manual indicates that this product must not be disposed of with other waste. It is in our category the manufacturer’s responsibility to properly dispose of their waste electrical and electronic equipment (WEEE) at the end of its life. Due to the differences in each EU country’s management of WEEE, please contact your local distributor. We are committed to facilitate our own electronic-waste-management-system, for the free-of-charge return of all EVI Audio GmbH products: Telex, DYNACORD, Electro-Voice, and RTS. Arrangements are made with the dealer where you purchased the equipment from, for the returning of all unusable equipment at no cost, to the factory in Straubing, for environmental protective disposal.
Due to line current harmonics, we recommend that you contact your supply authority before connection.
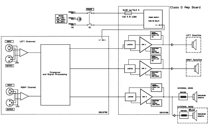
DESCRIPTION
Congratulations! With buying a DYNACORD PowerSub 312 you have decided on getting one of today’s most advanced active subwoofers incorporating most sophisticated technology. The PowerSub 312 active 12″ subwoofer with an integrated 3-channel power amplifier provides a total of 1300 watts output power. It has been specially designed for the quick and easy setup of a subwoofer satellite system. Two passive loudspeaker systems like for example DYNACORD D8 are needed as satellites, which are simply connected at the designated Speakon outputs of the PS312. Manufactured from multi-ply wood the PowerSub 312 withstands even the hardest strain during transport and operation. The integrated lightweight digital power amp with 800 W + 2 x 250 W output power optimally matches the integrated DYNACORD DND 12S400 woofer offering highest dynamic and audio performance and at the same time ensures that the DYNACORD DND 12S400 woofer is always operated in its optimum operating range. Extensive protection circuitry like Voice Coil Protection, DC/HF-Protection, Audio Limiter, Back-EMF Protection, and Thermal Protection are employed to securely monitor the compliance to these operating limits, which guarantees that the PowerSub 312 provides outstanding performance even under most demanding and most unfavorable conditions. Compared to usual Class AB-operated amps the utilized “Class D digital technology”, produces significantly less power loss, reducing thermal stress of all components. The enclosure is sealed with a scratch-resistant, hardwearing 2K-lacquer finish. A robust powder-coated steel grille protects the DYNACORD DND12S400 woofer against mechanical damage. All controls are recessed to provide optimum protection for the sensitive parts of the PowerSub 312 even during transportation. Two stable carrying handles and an integrated threaded pole-mount flange allow comfortable transportation and optimum, space saving installation.
Unpacking and Warranty
Open the packaging and carefully take out the PowerSub 312. Remove the protective foil from the carrying handles. Mains cord and warranty card are supplied in addition to this owner’s manual. Please make sure that all details are filled in on the warranty card. Only a completely filled in warranty certificate entitles you to stake any warranty claims. Keep the original invoice together with the warranty card at a safe place.
Setup and Connections
Place the PowerSub 312 on an even ground, using the rubber feet to ensure safe and steadfast operation. Make sure to check the stability of the system when using pole-mounts installed in the PowerSub 312. Do not cover the subwoofer’s rear during operation. Otherwise, thermal overload could cause the PowerSub 312 to enter power reduction mode, which reliably protects the unit from being damaged. However, in this mode full output power is not available. Mains power is supplied via Neutrik’s professional PowerCon connector system and by use of an extremely long (5m) mains cord. This ensures absolute secure and reliable connection to the mains outlet. Nevertheless, using high-quality mains distributors that allow high power consumption and offer reliable protection throughout the entire system is strongly recommended with large installations consisting of several active cabinets.
Before establishing the mains connection for the first time, make sure that the cabinet’s operating voltage setting, which can be found on a label next to the mains switch, corresponds to your local mains network.
QUICKSTART
Caution:
After installing the system, first switch on the mixing console and position the mixer’s master faders to their minimum settings. That followed, switch on the PowerSub 312 and use the SUB LEVEL to adjust the desired volume setting. Otherwise, high sound levels caused by unintentional playback of a program source could be the result, which might cause hearing damage.
This Quick Start Manual outlines setup and operation of the PowerSub 312 being used as subwoofer satellite system connected to a DYNACORD CMS 1000 or CMS 1600 mixer.
- Place your satellite speakers, e.g. DYNACORD D 8, mounted on pole-mount stands to the left and to the right. The lower edges of the speaker systems should be approximately 1m above the audience to provide sufficient coverage and to prevent that listeners nearby are subject to extreme sound levels.
- Place the PowerSub 312 in the area between the satellite speaker systems and, using suitable SPEAKON speaker cables, connect the satellites to `LEFT SATELLITE SPEAKER OUTPUT` and `RIGHT SATELLITE SPEAKER OUTPUT` on the rear panel of the PowerSub 312.
- Using suitable XLR-type cables connect the Master Outputs of your mixing console, e.g. DYNACORD CMS 1000, to `LEFT INPUT` and `RIGHT INPUT` of the PowerSub 312. Position the master faders on the mixer to their minimum setting. Now, switch on the mixer.
- Connect the PowerSub 312 to the mains outlet using the supplied PowerCon mains cord. Plug the blue PowerCon connector into the blue `Mains In` socket. A twist locks it in place. Use the red `Power On` switch to power up the PowerSub 312.
- Connect a microphone to input channel `1′ of the mixer, e.g. CMS 1000. Set all rotary controls to their center position. While speaking or singing loud into the microphone adjust the channel’s `Gain` control so that the green `SIGnal` LED lights. The red `PeaK` LED should not light at all or blink only once in a while. The red LED indicates that the audio signal is already distorted within the input channel. This will not cause any damage. However, the sound will suffer from spurious distortion.
- Slowly raise channel fader and master faders on the mixing console to the desired positions i.e. volume settings.
- Now you can balance the sound between the bass and mid-high range using the `SUB LEVEL` control on the PowerSub 312. Using a CD-Player is also an effective way to adjust the sound balance. A CD-Player of course has to be connected to the `LINE` inputs or via the `2TRACKRET` RCA-type sockets on the CMS 1000 mixer.
- Your system is now ready for operation. Individual sound adjustments necessary can be made using the controls of the mixer’s corresponding input channels. If the reproduced sound asks for extreme accentuation or lowering of the bass level, adjust the `Sub Level` setting on the PowerSub 312. Input channel sound controls of the mixing console should be reserved for moderate settings. Extreme settings indicate that the PowerSub 312’s `SUB LEVEL` is incorrectly adjusted.
- Now, have fun with your PowerSub 312 satellite system!
- After use, first switch off the PowerSub 312 and then the mixing console, so that distracting power-off noise will not occur. When using a DYNACORD CMS mixer, no power-off noise will be output from the `Master Outputs`. This allows switching off the mixer first without a problem.
CONTROLS
Input L, Input R
Electronically balanced inputs for the connection of LINElevel signal sources such as mixers, signal processors, etc. Establishing a connection is possible via phone or XLR-type plugs. Whenever possible, balanced signal feed is always preferable to guard against potential noise or HFinterference.
Caution: Before making any connections or disconnections, make sure to set the corresponding level controls to their counterclockwise stop.
The input section of the PowerSub 312 also allows MonoSub operation. The stereo signal needs to be fed to the L and R inputs and the low-frequency range signals of both channels are summed prior to being processed in the power amplifier section. All other applications employ only the (L)/Mono input.

Parallel Outputs L/R
Connected in parallel to the input jacks, these connectors are used for “carrying through” the input signal.
CLIP indicates, when lit, that the internal power amplifier is actually operated in the border range before clipping. Short-term blinking is uncritical because the amp’s audio limiter keeps distortion under control leaving the sound unaffected. Constant lighting of this indicator signals that the input section is probably overdriven and sound degradation could be the result. Lowering input levels can prevent input clipping before it occurs.

SIGNAL Indicates that an audio signal is present at the input and that it is output as well.

X-OVER
This switch allows changing the x-over frequency between subwoofer and satellites. During normal operation this switch should be left at the 100Hz setting. Set the x-over switch to 140 Hz when using compact satellite cabinets, e.g. VL62. For large-size cabinets, e.g. D12, set it to 70 Hz.
SUB LEVEL
This control sets the output volume of the PowerSub 312 in a range between -dB and +10dB. The center position represents 0dB.

SPEAKER OUTPUTS
These outputs are for connecting the satellite cabinets, e.g. Dynacord D8. Each output has an output capacity of up to 250W into 4 ohms. In other words, up to two loudspeaker systems with 8 ohms impedance can be connected in parallel per output.

EXTERNAL SUB OUTPUT
This output allows connecting an additional passive subwoofer, e.g. SUB 112. Maximum output capacity is 400W into 8 ohms.

POWER switch
Mains switch for switching the unit’s power ON or OFF. The mains switch lights after switching on the PowerSub 312. In case the switch is not lit upon switching on the power, make sure that the mains cord is connected correctly. If this is the case and the PowerSub 312 still shows no function, please contact your local dealer.

MAINS IN
The mains connector is carried out as a PowerCon socket. A suitable 5m long mains cord with PowerCon plug is supplied.

Specifications
PowerSub 312
| Power Amplifier Sub Power Amplifier MID-HIGH SPL1W/1m Max. SPL1m Sub Transducer Switchable X-Over Frequencies DimensionsW x H x D Weight Shipping Weight Warranty | 800 W / 4 Ohms 2 x 250 W / 4 Ohms 92 dB 121 dB DND 12S400 70 Hz, 100 Hz, 140 Hz 445 x 380 x 445 mm 22,5 kg 27 kg 36 months |
Dimensions (in mm)

BLOCK DIAGRAM

SETUP EXAMPLE



References in accordance with FCC, EN 61000-3-2:2000, EN 61000-3-11:2000, EN 55103-1:1997.
This equipment has been tested and found to comply with the limits for a Class A digital device, pursuant to Part 15 of the FCC Rules. These limits are designed to provide reasonable protection against harmful interference when the equipment is operated in a commercial environment. This equipment generates, uses, and can radiate radio frequency energy and, if not installed and used in accordance with the instruction manual, may cause harmful interference to radio communications. Operation of this equipment in a residental area is likely to cause harmful interference in which case the user will be required to correct the interference at his own expense.
This unit underlies some special connection conditions. The responsible electro-utility company must confirm, that the impedance of the power line does not exceed 0,35 ohms + j 0,22 ohms.
Bosch Sicherheitssysteme GmbH Robert-Bosch-Ring 5 85630 Grasbrunn Germany
www.dynacord.com
© Bosch Sicherheitssysteme GmbH, 2013 | 09/2013
Document Number F01U108410 | Vs 03
Data subject to change without notice.
















