Screen Innovations Nano Roll 110v AC – RTS Contemporary Open Roll
PARTS LIST

ADDITIONAL ACCESSORIES
SPACER BLOCKS AND LEVELING SHIMS (OPTIONAL)
INSTALLATION
Before installing the shades, verify whether the shade was ordered as standard roll or reverse roll. Though illustrations in this manual show standard roll shades, the installation for reverse roll shades is the same.
- If mounting to a wall, remove the ceiling flange from motor and idler brackets

- Install wall bracket/end cap assembly with the supplied screws

- Measure bracket to bracket width and verify it matches the ordered width. Adjust accordingly

- Remove both end caps


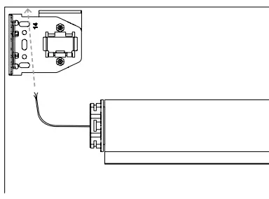
- Push power cable into pre-wire hole

- If mounting to a wall, remove the ceiling flange from motor and idler brackets
- Align and fasten motor side.

- Then put idler end cap over idler and snap into place.

- Replace and fasten motor end cap

PROGRAMMING – RTS
PROGRAMMING STEPS (must follow in order)
- Step 1: Fine tune lower limit
- Step 2: Assign shades to groups
- Step 3: Pair groups to control system (Mylink, LinkPro)
Each RTS Nano shade includes an installation remote that is used to adjust limits and program group controls. These installation remotes are uniquely numbered to the shade they are paired with. The lower limit of every shade is preprogrammed to ½” from the bottom of the window. After installing each shade, follow these steps to adjust the lower limit:
STEP 1 – Fine tuning lower limit :
- Beginning with the first shade, pull plastic tab from remote and press allowing shade to run to lower limit set at the factory.
- When shade has stopped, adjust the lower limit by holding and simultaneously until the shade jogs.
- Use or to move the shade to the desired lower limit.
- Hold the “My” button until the shade jogs again.
- Repeat this procedure at each window until all shades have lower limits set to desired positions.
STEP 2 – Assign shades to groups :
- Next, program group controls. To pair with a permanent transmitter such as a multichannel Telis or DecoFlex, follow these steps.
- Press and hold the program button on the back of the installation remote until the shade jogs.
- Select the channel where you want to create a group, then bump (do not hold down) the program button on the back of the remote – the shade will jog.
- Both remotes now control the shade.
- Continue doing this with each shade until all shades are programmed in the desired groups.

STEP 3 – Pair Groups to control system (LinkPro, myLink) :
- Download the myLink app.
- Pair the grouped shades with LinkPro or MyLink according to the instructions in the myLink app.
TROUBLESHOOTING
QR Code
Please use this QR Code to access the updated installation instructions and related documents.
- Technical Support: 512.832.6939 screeninnovations.com
- Hours of Support: 7:30am – 5pm CST [email protected]

PARTS LIST































