
THRE DVC Top Holder Evo
User Manual
THRE DVC Top Holder Evo
Tecniplast DVC ® Top holder Evo is shipped as agreed in the order, usually within carton boxes. Upon delivery, inspect the goods for damage. If the product has been mishandled, dented or damaged, alert the carrier and Tecniplast Technical Assistance immediately.
Check the box content:
- Top holder control panel (A)
- Top holder reader (B, C)
- USB connection cables
- WiFi adapter
DVC ® Top holder Evo is designed to house cage tops and read Rfid tags (placed on cage tops) to perform DVC® monitored Laboratory tasks.
A. Top holder control panel
B. Top holder reader
C. Top holder reader for SmarTop
D. Status led
A1. IEC socket
A2. USB socket for Top holder and Barcode scanner (not supplied by Tecniplast))
A3. USB socket for WiFi adapter (supplied by Tecniplast)
Read the WiFi adapter Instructions for Use before usage
A4. Ethernet socket
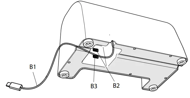
B1. USB cable
B2. USB socket for Top holder
B3. Additional USB socket
USB sockets are to be used only to connect devices mentioned in these Instructions for use.
TECHNICAL DATA:
DVC ® TOP HOLDER READER
| DIMENSIONS (W x D x H) | 306 x 169 x 160 mm |
| WEIGHT | 0,9 kg |
| MATERIAL | ABS |
| SUITABLE FOR CAGE TOP | GM500, EMERALD |
DVC ® TOP HOLDER CONTROL PANEL
| DIMENSIONS (W x D x H) | 195 x 130 x 141 mm |
| WEIGHT | 1,5 kg |
| MATERIAL | ABS |
| WIFI NETWORK STANDARD | 802.11 b/g/n 2,4GHz |
| WIFI PROTECTION | WPA, WPA2 (optional) |
| Rfid HF STANDARD | NFC 13.56 MHz |
SUPPLY VOLTAGE
100-240 VAC, 50/60Hz
OPERATING ENVIRONMENTAL REQUIREMENTS
ALTITUDE: Up to 2000m
OPERATING TEMPERATURE: 5°C to 40°C
STORAGE TEMPERATURE: 0°C to 35°C
HUMIDITY: 80% at 31°C decreasing linearly to 50% relative humidity at 40°C
POLLUTION DEGREE: II
INDOOR USE ONLY
COMPLIANCE TO STANDARDS AND DIRECTIVES
DIRECTIVE 2014/53/EU of the European Parliament and of the Council of 16 April 2014 on the harmonisation of the laws of the Member States relating to the making available on the market of radio equipment and repealing Directive 1999/5/EC
IEC 61010-1:2010 Safety requirements for electrical equipment for measurement, control and laboratory use Part 1: general requirements.
This device complies with Part 15 of the FCC Rules. Operation is subject to the following two conditions:
- this device may not cause harmful interference, and
- this device must accept any interference received, including interference that may cause undesired operation.”
“No changes shall be made to the equipment without the manufacturer’s permission as this may void the user’s authority to operate the equipment.
This device contains licence-exempt transmitter(s)/receiver(s) that comply with Innovation, Science and Economic Development Canada’s licence-exempt RSS(s). Operation is subject to the following two conditions:
- This device may not cause interference.
- This device must accept any interference, including interference that may cause undesired operation of the device.
GENERAL PRECAUTIONS AND SAFETY MEASURES:
The DVC ® Top holder Evo is suitable for indoor use only. Protect the unit against high humidity and water.
Do not attempt to open the DVC ® Top holder Evo. Avoid mechanical shock.
Avoid dropping the device. Do not use the DVC ® Top holder Evo if any part is damaged.
Read the user manual before using the device.
DO NOT wash the device in a rack washer. Avoid any contact with water.
Operating your device may interfere with medical devices like hearing aids and pacemakers. Consult a physician or the manufacturer of the medical device before using your device.
DO NOT carry out modifications that might alter the performance or the working conditions of the equipment. TECNIPLAST disclaims all responsibility for personal injury or material damage caused by mishandling of the equipment.
Keep in a cool, well-ventilated place away from sources of ignition.
DO NOT USE naked flames near the equipment and keep away from ignition sources.
DO NOT use the equipment in an explosive environment.
Switch off the device when not used.
INSTALLATION LAYOUT:

- Barcode scanner (not supplied by Tecniplast)
- WiFi adapter (supplied by Tecniplast)
- Ethernet connection (in case WiFi adapter is not used)
NOTES:
Connect the Wifi adapter to USB 3.0 plug (identified by the blue colour)
DO NOT connect more than 1 Top Holder reader to the Top Holder control panel
USAGE:
If the DVC ® Top holder Evo is placed underneath a laminar airflow cabinet ensure it does not obstruct the exhaust grilles.
- Connect the system to the mains. Wait for a few seconds until the main page is displayed.
- Ensure the red led lights up.
- Open the cage and place the cage top as illustrated. Ensure the green led lights up.
- While performing tasks, check the DVC ® Top holder Evo led status.

LED DESCRIPTION:
| STILL RED LIGHT | The device is powered | ||
| ORANGE LIGHT | A problem has occured —> check the control panel for detailed information on the problem | ||
| GREEN LIGHT | BLINKING | The task is ended | |
| STILL | The cage top Rfid tag has been read correcly | ||
MAIN PAGE DESCRIPTION:
A. Next operation to be performed
B. Current date and time
C. Wireless network icon¹
D. DVC ® network icon ²
E. Info on current task/alarm messages
F. Rfid mode Select to use the DVC ® Top holder Evo with a Personal Computer
G. CAGE EDIT
H. TOTAL CAGE CHANGE
I. PARTIAL CAGE CHANGE
J. SETTINGS

SWITCH OFF:
To switch off the DVC ® Top holder Evo disconnect it from the mains.
CLEANING:
The DVC ® Top holder Evois not autoclavable.
Clean with a wiper and a detergent specifically designed for ABS plastic surfaces.
DO NOT use ethyl alcohol, caustic soda, bleach, ammonia to clean the top holder plastic surfaces.
Ensure the detergent is appropriate for the surface to be cleaned before using it.
If necessary use a vacuum cleaner with a suitable head to clean internal surfaces.
Avoid any liquid coming into contact with electrical components (leds, electrical sockets).
STORAGE:
The product is designed for indoor use only.
Always keep the product in a dry place, whether packaged or not.
If the product is not deemed to be used, cover it with a piece of cloth or plastic to protect it from dust and store it in an environment compliant with the operating environment requirements specified in the technical data.
- If during use the wireless network can not be found, the wireless network is not working or the maximum distance from the network access point has been exceeded the following symbol is displayed:

- In case the DVC® Server network is not working/is switched off and the DVC ® Top holder Evo can not connect to the DVC® Server network, icon
is displayed. Contact Tecniplast Service Technicians to solve the problem.
![]()
















