REV. 02
USER MANUAL
Motorized core holder XL
– Label rewinder –

Please keep the original packaging in case you need to return the unit.
If we receive the system in non-original packaging, the warranty may be void.
The XL rewinder is used to rewind the labels on roll having fixed 3″ internal diameter. The maximum external roll diameter allowed is up to 250 mm (10″) while the maximum label width is up to 240 mm (9.45″).
An external power supply 100/240VAC – 2.5A at 24V
allows an electronic circuit to provide, through the tension arm, the speed and sense of rotation auto adjustment.
INSTALLATION

STEP 1
Using the screws, install the outer disc on the rewinder core holder.

STEP 2
Attach the printer plate to the rewinder. Do not fasten the knobs for the moment.

STEP 3
Place carefully the printer over the plate and make sure to match the printer’s feet into the plate’s holes.

STEP 4
Load a cardboard core onto the core holder. Follow the paper path and stick the media on the cardboard core. Make sure to align the rewinder with the printer. Load the outside disk making sure it adheres to the media and tight the knob.

STEP 5
The roll guide can be adjusted to prevent the roll from drifting.
The system is ready to work.
MEDIA PAPER PATH REWINDER

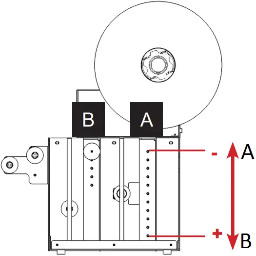
HOW TO ADJUST THE TENSION ON THE MEDIA ROLL
Thanks to the clutch system in place, it is possible to obtain different levels of roll tightness. The below image will help you figure out the level you want the system to rewind your rolls.

A Less tight media roll
B Tighter media roll
Attention:
If roller “A” in the upper position still delivers rolls that are too tight, please move roller “B” down till you find the right level of roll tightness.
WORKING CONDITIONS
– When the printer forwards the media for printing, the tension arm goes down, the device rewinds the media. Yellow or green led on depending on the selected rewinding mode (face-in or face-out).
– When the tension arm is in the middle position, the device is idle. Both yellow and green leds on.
– When the printer backwards the media, the tension arm goes up, the device unwinds it. Yellow or green led on depending on the selected rewinding mode (face-in or face-out).
When the unit is operating but the media is not loaded or it runs out, the tension arm reaches the lowest position and after few seconds the unit will stop by itself, both leds blink and it beeps.
CONTROL PANEL

ON-OFF
Push this button to turn On or Off the unit.
LABEL FACE-OUT
Turn the unit off. Keep pushed “FACE OUT” button, push and release “ON-OFF” button while the green led turns on and off. The unit is now ready to operate.
LABEL FACE-IN
Turn the unit off. Keep pushed “FACE IN” button, push and release “ON-OFF” button while the yellow led turns on and off. The unit is now ready to operate.



















