RAUCH MDS.2 Q/W Fertiliser Spreaders

Product Information: MDS.2 Q/W
The MDS.2 Q/W is a machine used for spreading fertilizers.It comes with a control unit that needs to be connected before use. The machine has two spreading discs, M1 and M2, and a spreading vane that needs to be set before use. The machine also has electronic slide actuators, which need to be connected properly to avoid property damage. TELIMAT is a feature that helps in setting the guide plates correctly, which can be done using the number or letter scale.
Product Usage Instructions
- Read Operator’s Manual: Before using the machine, it is essential to read the operator’s manual. The manual contains important safety instructions that need to be followed to avoid the risk of death or injury from incorrect usage of the machine.
- Connect Machine Control Unit: Connect the machine control unit before use.
- Pre-set Mounting Height: Before use, pre-set the mounting height of the spreading disc M2.
- Set Spreading Vane: Set the spreading vane before use. This needs to be done for spreading disc M1.
- Connect Electronic Slide Actuators: Ensure that the electronic slide actuators are connected correctly to avoid property damage. Always clamp the stop levers at the maximum scale position and secure them in a position outside of the scale using a hexagon nut with cover.
- Check Machine Settings: Before using the machine, check all settings as per the manual.
- Enter Fertilizer Settings: Enter fertilizer settings as per the calibration chart found on a sticker on the machine.
- Set TELIMAT: Set TELIMAT using the number or letter scale as per the calibration chart.
- Delete Trip Counter: The trip counter can be deleted when required.
Quick reference guide
- Read operator’s manual
DANGER!
Risk of death or injury from using the machine incorrectly.
Read operator’s manual before using the machine. - Connecting the machine control unit


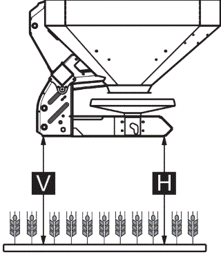
- Pre-setting the mounting height

V [mm] max.
H [mm] max.
Normal fertilizatio n 850 850 Late fertilizatio n 770 830 - Setting the spreading vane
Spreading disc M1
Position
A to E: Length settings
1 to 6: Angle settings
Spreading disc M2
Only the angle can be adjusted with the W spreading vane; the length is fixed. - Connecting the electronic slide actuatorsNOTICE!
Property damages caused by incorrect positioning of the metering slide
If the stop levers are positioned incorrectly, the operation of the actuators via the QUANTRON-A operating unit may cause damage to the metering slides.
Always clamp the stop levers at the maximum scale position.
The stop must be secured in a position outside of the scale using a hexagon nut with cover [1].
- Checking the machine settings


- Entering fertilizer settings


- Setting TELIMAT

- TELIMAT equipment settings from the calibration chart (can be found on a sticker on the machine).
- Release both locknuts with the machine’s adjusting lever.
Setting the guide plates using the letter scale: - Slide the sliding section with its indication arrow onto the letter prescribed by the calibration chart.
- The arrow is exactly above the specified letter.
Setting the guide plates using the number scale: - Move the guide plates until the corresponding number matches the number in the indentation on the sliding section.

- Delete trip counter


internet:













Setting the guide plates using the letter scale:
Setting the guide plates using the number scale:



















